TOP
|
特許
|
意匠
|
商標
意匠ウォッチ
Twitter
他の意匠を見る
発行日
2025-08-04
公報種別
意匠公報(S)
登録番号
1805154
登録日
2025-07-25
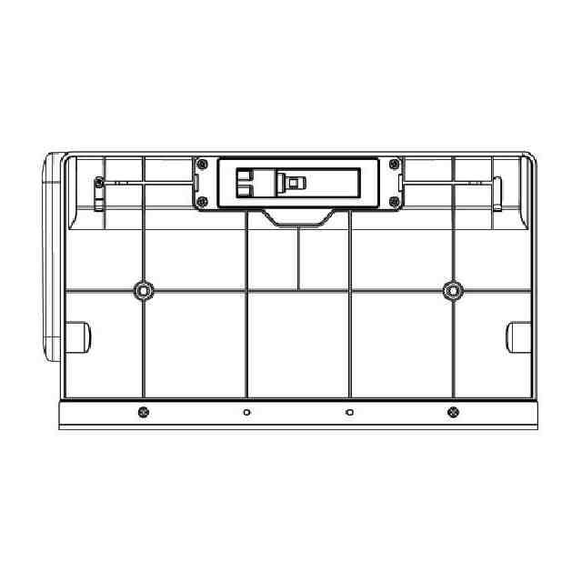
意匠に係る物品
キッチンペーパーホルダー
意匠分類
C4
-250(家庭用保健衛生用品)
出願番号
2024025644,015065944-0003
出願日
2024-12-11
意匠権者
ジョセフジョセフ リミティッド
,
Joseph Joseph Ltd
代理人
弁理士法人飯島国際商標特許事務所
,
個人
,
個人
,
個人
,
個人
意匠に係る物品の説明
意匠の説明
この意匠をJ-PlatPat(特許庁公式サイト)で参照する
関連意匠
ジョセフジョセフ リミティッド
はさみ
3か月前
ジョセフジョセフ リミティッド
おたま
11か月前
ジョセフジョセフ リミティッド
スクラバー
4か月前
ジョセフジョセフ リミティッド
アイロンマット
11か月前
ジョセフジョセフ リミティッド
ボトルハンガー
1か月前
ジョセフジョセフ リミティッド
スプレーモップ
4か月前
ジョセフジョセフ リミティッド
物干しハンガー
5か月前
ジョセフジョセフ リミティッド
物干しハンガー
5か月前
ジョセフジョセフ リミティッド
丸型ケーキ型
8か月前
ジョセフジョセフ リミティッド
缶オープナー
3か月前
ジョセフジョセフ リミティッド
ソースパン
11か月前
ジョセフジョセフ リミティッド
フライパン
11か月前
ジョセフジョセフ リミティッド
フライパン
11か月前
ジョセフジョセフ リミティッド
食品用保存容器
6か月前
ジョセフジョセフ リミティッド
キッチンペーパーホルダー
2か月前
ジョセフジョセフ リミティッド
キッチンペーパーホルダー
2か月前
ジョセフジョセフ リミティッド
洗浄システム付きモップバケツ
4か月前
ジョセフジョセフ リミティッド
オーブントレイセット
11か月前
ジョセフジョセフ リミティッド
ベーキングトレイセット
11か月前
ジョセフジョセフ リミティッド
ステンレススチールパン
5か月前
アモーレパシフィック コーポレーション
石鹸
2か月前
株式会社 サンテック
綿棒
11か月前
株式会社la vita
石鹸
5か月前
深せん市か爾空科技創意有限公司
耳栓
4か月前
株式会社la vita
石鹸
5か月前
株式会社ゼロプラステクノロジー
耳栓
4か月前
株式会社 サンテック
綿棒
11か月前
株式会社 サンテック
綿棒
11か月前
株式会社 サンテック
綿棒
11か月前
株式会社 サンテック
綿棒
11か月前
株式会社 サンテック
綿棒
11か月前
個人
梵天
2か月前
個人
開口器
6か月前
個人
捕虫器
6か月前
個人
美容器
5か月前
深せん市港基電技術有限公司
美顔器
5か月前
続きを見る
他の意匠を見る