TOP特許意匠商標
意匠ウォッチ Twitter
発行日2025-07-30
公報種別意匠公報(S)
登録番号1804828
登録日2025-07-22
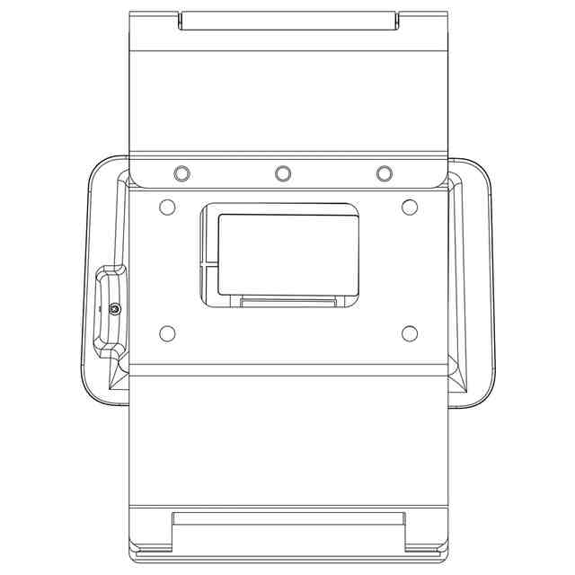
意匠に係る物品Vehicle-mounted base for data processing equipment
意匠分類H7-792(電子情報入出力機器)
出願番号2024503862,202430332908.7
出願日
意匠権者Hanshow Technology Co., Ltd.
代理人
意匠に係る物品の説明
意匠の説明The product is used to secure the data processing equipment on a shopping cart; the characteristic features of the design lie in the shape: as a whole, the main body has a square bowl shape, with a skirt-like extension around the top edge; the V-shaped branch structure of the base is fixed with a holding rod of the shopping cart; the views are provided as: 1.1 is a front view; 1.2 is a back view; 1.3 is a left view; 1.4 is a right view; 1.5 is a top view; 1.6 is a bottom view; 1.7 is a perspective view. 1.1)Front; 1.2)Back; 1.3)Left; 1.4)Right; 1.5)Top; 1.6)Bottom; 1.7)Perspective
この意匠をJ-PlatPat(特許庁公式サイト)で参照する

関連意匠

Hanshow Technology Co., Ltd.
Charging base
2か月前
Hanshow Technology Co., Ltd.
Charging wall box
2か月前
Hanshow Technology Co., Ltd.
Data processing equipment
9か月前
Hanshow Technology Co., Ltd.
Electronic shelf label
6か月前
Hanshow Technology Co., Ltd.
Vehicle-mounted base for data processing equipment
4か月前
Hanshow Technology Co., Ltd.
Electronic shelf label having a lamp hole surface shell
5か月前
Hanshow Technology Co., Ltd.
Electronic shelf label having a lamp hole surface shell
5か月前
Hanshow Technology Co., Ltd.
Electronic shelf label having a lamp hole surface shell
5か月前
Hanshow Technology Co., Ltd.
Electronic shelf label having a lamp hole surface shell
6か月前
ボーズ・コーポレーション
取手
8か月前
メタ プラットフォームズ テクノロジーズ, リミテッド ライアビリティ カンパニー
眼鏡
5か月前
デシブルズ エルエルシー
耳栓
4か月前
メタ プラットフォームズ テクノロジーズ, リミテッド ライアビリティ カンパニー
眼鏡
5か月前
深せん市しん尼達科技有限公司
マウス
4か月前
深せん市しん尼達科技有限公司
マウス
1か月前
マシモ・コーポレイション
ケース
10か月前
深セン市前海手絵科技文化有限公司
翻訳機
3か月前
株式会社ナカヨ
電話機
5か月前
NECプラットフォームズ株式会社
電話機
2か月前
NECプラットフォームズ株式会社
電話機
2か月前
株式会社熊平製作所
認証機
2か月前
日本電気株式会社
認証機
1か月前
深せん市新嶺南電子科技有限公司
ラジオ
1か月前
日本電気株式会社
認証機
4か月前
日本電気株式会社
認証機
1か月前
広州芯辰科技有限公司
翻訳機
1か月前
株式会社キングジム
拡声器
6か月前
パナソニックIPマネジメント株式会社
警報器
6か月前
日本航空電子工業株式会社
教示器
1か月前
有限会社シーガル
取付具
24日前
有限会社シーガル
取付具
24日前
日本電気株式会社
認証機
4か月前
日本航空電子工業株式会社
教示器
7か月前
貝美股分有限公司
支持台
9か月前
アップル インコーポレイテッド
イヤホン
4か月前
アップル インコーポレイテッド
イヤホン
8か月前
続きを見る