TOP
|
特許
|
意匠
|
商標
意匠ウォッチ
Twitter
他の意匠を見る
発行日
2025-05-08
公報種別
意匠公報(S)
登録番号
1797906
登録日
2025-04-25
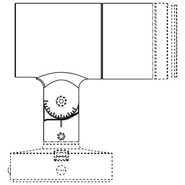
意匠に係る物品
スポットライト
意匠分類
D3
-302(発光具及び照明器具)
出願番号
2024018029
出願日
2024-08-30
意匠権者
コイズミ照明株式会社
代理人
弁理士法人 HARAKENZO WORLD PATENT & TRADEMARK
意匠に係る物品の説明
本物品は、発光ダイオード等を光源とするスポットライトである。本物品の灯体は、上下・水平方向に照射角度を調整可能である。灯体を回動させた状態を示す参考正面図は、上下方向に照射角度を調整したものである。
意匠の説明
実線で表した部分が部分意匠として意匠登録を受けようとする部分である。一点鎖線は、部分意匠として意匠登録を受けようとする部分とその他の部分との境界のみを示す線である。
この意匠をJ-PlatPat(特許庁公式サイト)で参照する
関連意匠
コイズミ照明株式会社
椅子
7か月前
コイズミ照明株式会社
椅子
9か月前
コイズミ照明株式会社
壁灯
9か月前
コイズミ照明株式会社
壁灯
9日前
コイズミ照明株式会社
庭園灯
11か月前
コイズミ照明株式会社
庭園灯
11か月前
コイズミ照明株式会社
庭園灯
11か月前
コイズミ照明株式会社
スイッチ
5か月前
コイズミ照明株式会社
スイッチ
5か月前
コイズミ照明株式会社
スイッチ
5か月前
コイズミ照明株式会社
ダウンライト
11か月前
コイズミ照明株式会社
配線ダクト用プラグ
4か月前
コイズミ照明株式会社
スポットライト
7か月前
コイズミ照明株式会社
ダウンライト
1日前
コイズミ照明株式会社
スポットライト
7か月前
コイズミ照明株式会社
スポットライト
7か月前
コイズミ照明株式会社
スポットライト
7か月前
コイズミ照明株式会社
スポットライト
7か月前
コイズミ照明株式会社
スポットライト
11か月前
コイズミ照明株式会社
ダウンライト
1日前
コイズミ照明株式会社
スポットライト
7か月前
コイズミ照明株式会社
ポール灯用灯具本体
11か月前
コイズミ照明株式会社
天井吊り下げ灯灯具本体
1日前
コイズミ照明株式会社
天井吊り下げ灯灯具本体
1日前
コイズミ照明株式会社
天井吊り下げ灯灯具本体
1日前
コイズミ照明株式会社
天井吊り下げ灯灯具本体
1日前
コイズミ照明株式会社
天井吊り下げ灯灯具本体
1日前
コイズミ照明株式会社
壁灯
9日前
コイズミ照明株式会社
壁灯
9か月前
株式会社 大栄木工
行燈
28日前
個人
行灯
7か月前
株式会社浅野商店
行灯
6か月前
株式会社タカショーデジテック
庭園灯
11か月前
セクト デザイン オイ
ランプ
15日前
セクト デザイン オイ
ランプ
15日前
コイズミ照明株式会社
庭園灯
11か月前
続きを見る
他の意匠を見る