TOP
|
特許
|
意匠
|
商標
意匠ウォッチ
Twitter
他の意匠を見る
発行日
2025-10-15
公報種別
意匠公報(S)
登録番号
1726949
登録日
2022-09-30
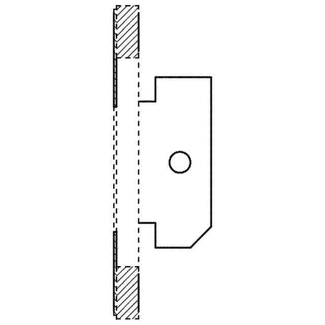
意匠に係る物品
緩み止め具
意匠分類
M3
-191(ねじ、くぎ、開閉金物、係止具等)
出願番号
2022011061
出願日
2022-05-24
意匠権者
株式会社ノザワ
代理人
特許業務法人 有古特許事務所
意匠に係る物品の説明
本物品は、使用状態を示す参考図に示すように、建築用板材を建物の躯体に係止するために用いる取付具と建築用板材とを締結するボルトの緩みを防止するために用いることができる。本物品を使用するときは、ボルト頭部挿通孔にボルトの頭部を挿通して、本物品をボルトに取り付ける。そして、隣り合って位置する2つの本物品に針金、鉄筋等の線材を架け渡して、これら2つの本物品を連結する。線材を架け渡すときは、一方の本物品の線材挿通孔に線材の一端を通し、他方の本物品の線材挿通孔に線材の他端を通す。
意匠の説明
実線で表わした部分が意匠登録を受けようとする部分である。一点鎖線は意匠登録を受けようとする部分とその他の部分との境界のみを示す線である。A-A断面図及びB-B断面図を含めて意匠登録を受けようとする部分を特定している。
この意匠をJ-PlatPat(特許庁公式サイト)で参照する
関連意匠
株式会社ノザワ
24日前
株式会社ノザワ
11か月前
株式会社ノザワ
24日前
株式会社ノザワ
11か月前
株式会社ノザワ
11か月前
株式会社ノザワ
11か月前
株式会社ノザワ
4か月前
株式会社ノザワ
3か月前
株式会社ノザワ
2か月前
株式会社ノザワ
建築用パネル
10か月前
株式会社ノザワ
建築用パネル
10か月前
株式会社ノザワ
建築用パネル
10か月前
株式会社ノザワ
建築用パネル
10か月前
株式会社ノザワ
建築用パネル
10か月前
株式会社ノザワ
建築用パネル
10か月前
株式会社ノザワ
建築用パネル
10か月前
株式会社ノザワ
建築用パネル
10か月前
株式会社ノザワ
建築用パネル
10か月前
株式会社ノザワ
建築用パネル
10か月前
株式会社ノザワ
建築用パネル
10か月前
株式会社ノザワ
建築用パネル
10か月前
株式会社ノザワ
建築用パネル
5か月前
株式会社ノザワ
建築用パネル
5か月前
株式会社ノザワ
建築用パネル
3日前
株式会社ノザワ
押出成形用口金
9か月前
株式会社ノザワ
緩み止め具
1か月前
株式会社ノザワ
緩み止め具
1か月前
株式会社ノザワ
押出成形用口金
8か月前
個人
錠
4か月前
住友電工ハードメタル株式会社
ねじ
5か月前
スガツネ工業株式会社
蝶番
7か月前
スガツネ工業株式会社
蝶番
10か月前
スガツネ工業株式会社
蝶番
2か月前
株式会社シブタニ
鍵材
1か月前
アイジー工業株式会社
ねじ
9か月前
株式会社バンダイ
吸盤
6か月前
続きを見る
他の意匠を見る