TOP
|
特許
|
意匠
|
商標
特許ウォッチ
Twitter
他の特許を見る
10個以上の画像は省略されています。
公開番号
2025154990
公報種別
公開特許公報(A)
公開日
2025-10-14
出願番号
2024056460
出願日
2024-03-29
発明の名称
遊技機
出願人
株式会社三洋物産
代理人
弁理士法人真明センチュリー
主分類
A63F
7/02 20060101AFI20251002BHJP(スポーツ;ゲーム;娯楽)
要約
【課題】透過手段の正面側から出射される光を遊技者に好適に視認させることができる遊技機を提供すること。
【解決手段】発光可能に構成される発光手段G930と、光透過性材料から構成され発光手段G930の正面側に配設される第1変位手段G940と、光透過性材料から構成され少なくとも一部を発光手段G930と第1変位手段G940との間で変位可能に構成される第2変位手段G950とを備え、第1変位手段G940に対して第2変位手段G950を相対変位させることで、発光手段G930から発光され第1変位手段G940を透過して第1変位手段G940の正面側から出射される光の見え方を変更する。
【選択図】図4316
特許請求の範囲
【請求項1】
発光可能に構成される発光手段およびその発光手段の正面側に位置し少なくとも一部が光を透過させることが可能に構成される透過手段を有し前記発光手段から発光され前記透過手段を透過して前記透過手段の正面側から出射される光を遊技者に視認させることが可能に構成されるユニット手段と、そのユニット手段を位置の変更が可能な状態で支持する支持手段と、を備えた遊技機。
発明の詳細な説明
【技術分野】
【0001】
本発明は、パチンコ機などの遊技機に関するものである。
続きを表示(約 10,000 文字)
【背景技術】
【0002】
パチンコ機等の遊技機において、発光手段から発光され透過手段を透過して透過手段の正面側から出射される光を遊技者に視認させることが可能に構成されるユニット手段と、そのユニット手段を位置の変更が可能な状態で支持する支持手段とを備えた遊技機がある(特許文献1)。
【先行技術文献】
【特許文献】
【0003】
特開2024-006394号公報
【発明の概要】
【発明が解決しようとする課題】
【0004】
しかしながら、上述した従来の遊技機では、透過手段の正面側から出射される光を遊技者に好適に視認させるという観点で改良の余地があるという問題点があった。
【0005】
本発明は、上記例示した問題点を解決するためになされたものであり、透過手段の正面側から出射される光を遊技者に好適に視認させることができる遊技機を提供することを目的とする。
【課題を解決するための手段】
【0006】
この目的を達成するために請求項1記載の遊技機は、発光可能に構成される発光手段およびその発光手段の正面側に位置し少なくとも一部が光を透過させることが可能に構成される透過手段を有し前記発光手段から発光され前記透過手段を透過して前記透過手段の正面側から出射される光を遊技者に視認させることが可能に構成されるユニット手段と、そのユニット手段を位置の変更が可能な状態で支持する支持手段と、を備える。
【発明の効果】
【0007】
請求項1記載の遊技機によれば、透過手段の正面側から出射される光を遊技者に好適に視認させることができる。
【図面の簡単な説明】
【0008】
第1制御例におけるパチンコ機の正面図である。
パチンコ機の遊技盤の正面図である。
第1制御例におけるパチンコ機の背面図である。
第1制御例におけるパチンコ機の遊技盤の正面図である。
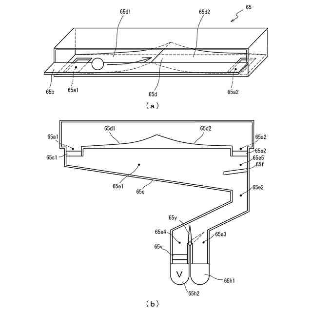
(a)は、第1制御例におけるパチンコ機の遊技盤の正面視下領域に設けられた可変入賞装置の構造を模式的に示した模式図であり、(b)は、第1制御例における可変入賞装置に入賞した球の流下経路を模式的に示した模式図である。
(a)は、第1制御例における表示画面の領域区分設定と有効ライン設定とを模式的に示した図であり、(b)は、第1制御例における実際の表示画面を例示した図である。
(a)は、第1制御例において第3図柄表示装置で表示される通常状態中におけるリーチ成立時の表示態様の一例を示した図であり、(b)は、第1制御例において第3図柄表示装置で表示される通常状態中における普通図柄変動の実行中の表示態様の一例を示した図である。
(a)は、第1制御例において第3図柄表示装置で表示される通常状態中に普図当たり遊技(ロング開放当たり遊技)が実行された場合の表示態様の一例を示した図であり、(b)は、第1制御例において第3図柄表示装置で表示される通常状態中におけるチャンスゾーンが設定された場合の表示態様の一例を示した図である。
(a)は、第1制御例において第3図柄表示装置で表示される特殊変動演出中において第3図柄が仮停止した場合の表示態様の一例を示した図であり、(b)は、第1制御例において第3図柄表示装置で表示される特図2保留球を獲得している状態で実行される特殊変動演出において第3図柄が再始動した場合の表示態様の一例を示した図である。
第1制御例において第3図柄表示装置で表示される特図2保留球を獲得していない状態で実行される特殊変動演出において第3図柄が再始動した場合の表示態様の一例を示した図である。
(a)は、第1制御例において第3図柄表示装置で表示される通常大当たり遊技のエンディング期間のうち、前半期間の表示態様の一例を示した図であり、(b)は、第1制御例において第3図柄表示装置で表示される確変大当たり遊技のエンディング期間のうち、前半期間の表示態様の一例を示した図であり、(c)は、第1制御例において第3図柄表示装置で表示される通常大当たり遊技のエンディング期間のうち、後半期間の表示態様の一例を示した図であり、(d)は、第1制御例において第3図柄表示装置で表示される確変大当たり遊技のエンディング期間のうち、後半期間の表示態様の一例を示した図である。
(a),(b)は、第1制御例において第3図柄表示装置で表示されるチャンスモード中に実行される遊技状態示唆演出の表示態様の一例を示した図である。
(a)は、第1制御例において第3図柄表示装置で表示される演出モードとしてチャンスモードが設定されている状態であって、内部的に通常状態が設定されており、高速変動期間以外の期間中(通常変動期間中)の表示態様の一例を示した図であり、(b)は、第1制御例において第3図柄表示装置で表示される演出モードとしてチャンスモードが設定されている状態であって、内部的に通常状態が設定されており、高速変動期間以外の期間中(通常変動期間中)に枠ボタンを操作した場合の表示態様の一例を示した図である。
(a)は、第1制御例において第3図柄表示装置で表示されるチャンスモードのうち、高速変動期間中における操作演出の表示態様の一例を示した図であり、(b)は、第1制御例において第3図柄表示装置で表示されるチャンスモードのうち、高速変動期間中における操作演出中に枠ボタンを操作した場合の表示態様の一例を示した図である。
(a)は、第1制御例において第3図柄表示装置で表示される「スーパーチャンスモード」中に第1特別図柄変動が実行された場合の表示態様の一例を示した図であり、(b)は、第1制御例において第3図柄表示装置で表示される「スーパーチャンスモード」中に第2特別図柄変動が実行された場合の表示態様の一例を示した図である。
(a)は、第1制御例における第3図柄の変動演出として、非リーチ変動演出が実行される変動パターンが設定された場合の演出の流れを示したタイミングチャートであり、(b)は、第1制御例における第3図柄の変動演出として、リーチ変動演出が実行される変動パターンが設定された場合の演出の流れを示したタイミングチャートである。
(a)は、第1制御例における通常大当たりを対象としたエンディング期間の演出の流れを示したタイミングチャートであり、(b)は、第1制御例における確変大当たりを対象としたエンディング期間の演出の流れを示したタイミングチャートあり、(c)は、第1制御例における確変大当たり遊技中に球が特定領域(Vゲート)を流下しなかった場合の流れを示したタイミングチャートである。
(a),(b)は、第1制御例における大当たり遊技終了後に設定される演出モードの流れを示したタイミングチャートである。
(a),(b)は、第1制御例における、チャンスモード中における操作演出の内容の流れを示したタイミングチャートである。
第1制御例におけるパチンコ機のゲームフローを示した図である。
第1制御例におけるパチンコ機の電気的構成を示すブロック図である。
第1制御例における各種カウンタの構成を模式的に示した図である。
(a)は、第1制御例における主制御装置のROMの構成を示したブロック図であり、(b)は、第1制御例における主制御装置のRAMの構成を示したブロック図である。
(a)は、第1制御例における主制御装置のROMに設定された第1当たり乱数テーブルの規定内容を模式的に示した図であり、(b)は、第1制御例における主制御装置のROMに設定された第2当たり乱数テーブルの規定内容を模式的に示した図である。
(a)は、第1制御例における主制御装置のROMに設定された第1当たり種別選択テーブルの構成を示したブロック図であり、(b)は、第1制御例における主制御装置のROMに設定された特図1大当たり用テーブルの規定内容を模式的に示した図であり、(c)は、第1制御例における主制御装置のROMに設定された特図2大当たり用テーブルの規定内容を模式的に示した図である。
(a)は、第1制御例における主制御装置のROMに設定された変動パターン選択テーブルの構成を示したブロック図であり、(b)は、第1制御例における主制御装置のROMに設定された通常用テーブルの規定内容を模式的に示した図である。
第1制御例における主制御装置のROMに設定された確変・時短用テーブルの規定内容を模式的に示した図である。
(a)は、第1制御例における音声ランプ制御装置のROMの構成を示したブロック図であり、(b)は、第1制御例における音声ランプ制御装置のRAMの構成を示したブロック図である。
第1制御例における音声ランプ制御装置のROMに設定された通常中特図2演出選択テーブルの規定内容を模式的に示した図である。
第1制御例における音声ランプ制御装置のROMに設定された確変中演出選択テーブルの規定内容を模式的に示した図である。
(a)は、第1制御例における音声ランプ制御装置のROMに設定された連続予告実行選択テーブルの規定内容を模式的に示した図であり、(b)は、第1制御例における音声ランプ制御装置のROMに設定されたV報知実行選択テーブルの規定内容を模式的に示した図である。
(a)は、第1制御例における音声ランプ制御装置のROMに設定されたボタン操作時演出選択テーブルの構成を示したブロック図であり、(b)は、第1制御例における音声ランプ制御装置のROMに設定された時短状態選択テーブルの規定内容を模式的に示した図である。
第1制御例における音声ランプ制御装置のROMに設定された確変状態選択テーブルの規定内容を模式的に示した図である。
第1制御例における表示制御装置の電気的構成を示すブロック図である。
(a)~(c)は、第1制御例における電源投入時画像を説明する説明図である。
(a)は、第1制御例における背面Aを説明する説明図であり、(b)は、第1制御例における背面B~Dを説明する説明図である。
第1制御例における表示データテーブルの一例を模式的に示した図である。
第1制御例における転送データテーブルの一例を模式的に示した図である。
第1制御例における描画リストの一例を模式的に示した図である。
第1制御例における主制御装置内のMPUにより実行されるタイマ割込処理を示すフローチャートである。
第1制御例における主制御装置内のMPUにより実行される特別図柄変動処理を示すフローチャートである。
第1制御例における主制御装置内のMPUにより実行される特別図柄大当たり判定処理を示すフローチャートである。
第1制御例における主制御装置内のMPUにより実行される特別図柄変動パターン選択処理を示すフローチャートである。
第1制御例における主制御装置内のMPUにより実行される更新処理を示すフローチャートである。
第1制御例における主制御装置内のMPUにより実行される始動入賞処理を示すフローチャートである。
第1制御例における主制御装置内のMPUにより実行される先読み処理を示すフローチャートである。
第1制御例における主制御装置内のMPUにより実行される普通図柄変動処理を示すフローチャートである。
第1制御例における主制御装置内のMPUにより実行されるスルーゲート通過処理を示すフローチャートである。
第1制御例における主制御装置内のMPUにより実行されるNMI割込処理を示すフローチャートである。
第1制御例における主制御装置内のMPUにより実行される立ち上げ処理を示すフローチャートである。
第1制御例における主制御装置内のMPUにより実行されるメイン処理を示すフローチャートである。
第1制御例における主制御装置内のMPUにより実行される大当たり制御処理を示すフローチャートである。
第1制御例における主制御装置内のMPUにより実行される大当たり動作設定処理を示すフローチャートである。
第1制御例における主制御装置内のMPUにより実行される大当たり終了処理を示すフローチャートである。
第1制御例における主制御装置内のMPUにより実行される入賞処理を示すフローチャートである。
第1制御例における主制御装置内のMPUにより実行される異常処理を示すフローチャートである。
第1制御例における音声ランプ制御装置内のMPUにより実行される立ち上げ処理を示すフローチャートである。
第1制御例における音声ランプ制御装置内のMPUにより実行されるメイン処理を示すフローチャートである。
第1制御例における音声ランプ制御装置内のMPUにより実行されるコマンド判定処理を示すフローチャートである。
第1制御例における音声ランプ制御装置内のMPUにより実行される状態コマンド受信処理を示すフローチャートである。
第1制御例における音声ランプ制御装置内のMPUにより実行される入賞コマンド処理を示すフローチャートである。
第1制御例における音声ランプ制御装置内のMPUにより実行される特図用入賞情報コマンド処理を示すフローチャートである。
第1制御例における音声ランプ制御装置内のMPUにより実行される普図関連処理を示すフローチャートである。
第1制御例における音声ランプ制御装置内のMPUにより実行される大当たり関連処理を示すフローチャートである。
第1制御例における音声ランプ制御装置内のMPUにより実行されるエンディング処理を示すフローチャートである。
第1制御例における音声ランプ制御装置内のMPUにより実行される変動表示設定処理を示すフローチャートである。
第1制御例における音声ランプ制御装置内のMPUにより実行される特図1演出態様設定処理を示すフローチャートである。
第1制御例における音声ランプ制御装置内のMPUにより実行される特図2演出態様設定処理を示すフローチャートである。
第1制御例における音声ランプ制御装置内のMPUにより実行されるチャンスモード中演出設定処理を示すフローチャートである。
第1制御例における音声ランプ制御装置内のMPUにより実行される枠ボタン入力監視・演出処理を示すフローチャートである。
第1制御例における表示制御装置内のMPUにより実行されるメイン処理を示すフローチャートである。
第1制御例における表示制御装置内のMPUにより実行されるブート処理を示すフローチャートである。
(a)は、第1制御例における表示制御装置内のMPUにより実行されるコマンド割込処理を示すフローチャートであり、(b)は、第1制御例における表示制御装置内のMPUにより実行されるV割込処理を示すフローチャートである。
第1制御例における表示制御装置内のMPUにより実行されるコマンド判定処理を示すフローチャートである。
(a)は、第1制御例における表示制御装置内のMPUにより実行される変動パターンコマンド処理を示すフローチャートであり、(b)は、第1制御例における表示制御装置内のMPUにより実行される停止種別コマンド処理を示すフローチャートである。
(a)は、第1制御例における表示制御装置内のMPUにより実行されるオープニングコマンド処理を示すフローチャートであり、(b)は、第1制御例における表示制御装置内のMPUにより実行されるラウンド数コマンド処理を示したフローチャートである。
第1制御例における表示制御装置内のMPUにより実行されるエンディングコマンド処理を示すフローチャートである。
(a)は、第1制御例における表示制御装置内のMPUにより実行される変動停止コマンド処理を示すフローチャートであり、(b)は、第1制御例における表示制御装置内のMPUにより実行される報知コマンド処理を示したフローチャートである。
(a)は、第1制御例における表示制御装置内のMPUにより実行される背面画像変更コマンド処理を示すフローチャートであり、(b)は、第1制御例における表示制御装置内のMPUにより実行されるエラーコマンド処理を示したフローチャートである。
第1制御例における表示装置内のMPUにより実行される表示設定処理を示したフローチャートである。
第1制御例における表示制御装置内のMPUにより実行される警告画像設定処理を示したフローチャートである。
第1制御例における表示制御装置内のMPUにより実行されるポインタ更新処理を示したフローチャートである。
(a)は、第1制御例における表示制御装置内のMPUにより実行される転送設定処理を示したフローチャートであり、(b)は、第1制御例における表示制御装置内のMPUにより実行される常駐画像転送設定処理を示したフローチャートである。
第1制御例における表示制御装置内のMPUにより実行される通常画像転送設定処理を示したフローチャートである。
第1制御例における表示制御装置内のMPUにより実行される描画処理を示したフローチャートである。
第2制御例のパチンコ機の正面図である。
第2制御例のパチンコ機の遊技盤の正面図である。
第2制御例のパチンコ機の遊技盤の部分拡大図である。
第2制御例のV入賞装置の分解正面斜視図である。
(a)は、第2制御例のLa-La線におけるV入賞装置の断面図であり、(b)は、第2制御例のLb-Lb線におけるV入賞装置の断面図であり、(c)は、第2制御例のV入賞装置の上面図である。
(a)は、第2制御例における遊技球が特別排出流路に振り分けられるように切替部材が作動された状態を示す裏カバー体の背面図であり、(b)は、第2制御例における流路ソレノイドが非作動であり、特別排出流路の入り口の開口面を切替部材の誘導片が塞いでいる状態を示す裏カバー体の背面図である。
(a)は、第2制御例におけるV入賞装置のV入賞口を開閉扉が閉鎖している状態を平面視した模式図であり、(b)は、第2制御例におけるV入賞装置のV入賞口が開放している状態を平面視した模式図である。
(a)は、第2制御例におけるパチンコ機の演出ボタンの正面図であり、(b)は、第2制御例におけるパチンコ機の選択ボタンの正面図である。
第2制御例におけるパチンコ機の遊技盤の背面図である。
(a)は、第2制御例における表示画面の領域区分設定と有効ライン設定とを模式的に示した図であり、(b)は、第2制御例における実際の表示画面を例示した図である。
(a)は、第2制御例において第3図柄表示装置で表示される通常状態大当たり当選後の大当たり演出画面の一例を示した図であり、(b)は、第2制御例において第3図柄表示装置で表示される敵討伐演出画面の一例を示した図である。
(a)は、第2制御例において第3図柄表示装置で表示される2ラウンド目終了後のインターバル中画面の一例を示した図であり、(b)は、第2制御例において第3図柄表示装置で表示される6ラウンド(最終ラウンド)中の討伐成功画面の一例を示した図である。
(a)は、第2制御例において第3図柄表示装置で表示される3ラウンド目の演出画面の一例を示した図であり、(b)は、第2制御例において第3図柄表示装置で表示されるボタン有効期間中にボタンを押した場合の表示画面の一例を示した図である。
(a)は、第2制御例において第3図柄表示装置で表示されるボタン有効期間中にボタンを押さなかった場合の表示画面の一例を示した図であり、(b)は、第2制御例において第3図柄表示装置で表示される6ラウンド(最終ラウンド)中の復活成功演出画面の一例を示した図である。
(a)は、第2制御例において第3図柄表示装置で表示される時短状態(ラッシュ中)の表示画面の一例を示した図であり、(b)は、第2制御例において第3図柄表示装置で表示される時短状態(ラッシュ中)の当たり画面の一例を示した図である。
【発明を実施するための形態】
【0009】
<第1制御例>
以下、本発明の制御例について、添付図面を参照して説明する。まず、図1から図85を参照し、第1制御例として、本発明をパチンコ遊技機(以下、単に「パチンコ機」という)10に適用した場合の一制御例について説明する。図1は、第1制御例におけるパチンコ機10の正面図であり、図4はパチンコ機10の遊技盤13の正面図であり、図5はパチンコ機10の遊技盤13の正面視下領域に設けられた可変入賞装置65の構造を模式的に示した模式図であり、図3はパチンコ機10の後面図である。図1に示すように、パチンコ機10は、略矩形状に組み合わせた木枠により外殻が形成される外枠11と、その外枠11と略同一の外形形状に形成され外枠11に対して開閉可能に支持された内枠12とを備えている。外枠11には、内枠12を支持するために正面視(図1参照)左側の上下2カ所に金属製のヒンジ18が取り付けられ、そのヒンジ18が設けられた側を開閉の軸として内枠12が正面手前側へ開閉可能に支持されている。内枠12には、多数の釘や球が入球可能な入球口63,64,640等を有する遊技盤13(図4参照)が裏面側から着脱可能に装着される。この遊技盤13の正面を球(遊技球)が流下することにより弾球遊技が行われる。なお、内枠12には、球を遊技盤13の正面領域(遊技領域)に発射する球発射ユニット112a(図21参照)やその球発射ユニット112aから発射された球を遊技盤13の正面領域まで誘導する発射レール(図示せず)等が取り付けられている。尚、遊技盤13に設けられた多数の入球口の内容については、図4を参照して後述する。内枠12の正面側には、その正面上側を覆う正面枠14と、その下側を覆う下皿ユニット15とが設けられている。正面枠14及び下皿ユニット15を支持するために正面視(図1参照)左側の上下2カ所に金属製のヒンジ19が取り付けられ、そのヒンジ19が設けられた側を開閉の軸として正面枠14及び下皿ユニット15が正面手前側へ開閉可能に支持されている。なお、内枠12の施錠と正面枠14の施錠とは、シリンダ錠20の鍵穴21に専用の鍵を差し込んで所定の操作を行うことでそれぞれ解除される。ここで、内枠12と正面枠14との施錠が解除されている間は、音量の段階をエラー報知用の最大音量に対応する段階に変更した上で扉が開放されている旨のエラーを報知し、専用の鍵に対して解除状態から施錠状態に復帰するための操作を行うことで、エラーの報知が終了されて音量の段階を最大音量よりも低い段階に低下させることが可能となっている。
【0010】
正面枠14は、装飾用の樹脂部品や電気部品等を組み付けたものであり、その略中央部には略楕円形状に開口形成された窓部14cが設けられている。正面枠14の裏面側には2枚の板ガラスを有するガラスユニット16が配設され、そのガラスユニット16を介して遊技盤13の正面がパチンコ機10の正面側に視認可能となっている。正面枠14には、球を貯留する上皿17が正面側へ張り出して上面を開放した略箱状に形成されており、この上皿17に賞球や貸出球などが排出される。遊技球を発射位置へと案内する経路である上皿17の底面は正面視(図1参照)右側に下降傾斜して形成され、その傾斜により上皿17に投入された球が球発射ユニット112a(図21参照)へと案内される。また、上皿17の上面には、枠ボタン22が設けられている。この枠ボタン22は、例えば、演出の一部として第3図柄表示装置81(図4参照)で表示される演出のステージを変更したり、スーパーリーチの演出内容を変更したりする場合などに、情報を入力可能な構成として遊技者により操作される。正面枠14には、その周囲(例えばコーナー部分)に各種ランプ等の発光手段が設けられている。これら発光手段は、演出の一部として大当たり時や所定のリーチ時等における遊技状態の変化に応じて、点灯又は点滅することにより発光態様が変更制御され、遊技中の演出効果を高める役割を果たす。窓部14cの周縁には、LED等の発光手段を内蔵した電飾部29~33が設けられている。パチンコ機10においては、これら電飾部29~33が大当たりランプ等の演出ランプとして機能し、大当たり時やリーチ演出時等には内蔵するLEDの点灯や点滅によって各電飾部29~33が点灯または点滅して、大当たり中である旨、或いは大当たり一歩手前のリーチ中である旨が報知される。また、正面枠14の正面視(図1参照)左上部には、LED等の発光手段が内蔵され賞球の払い出し中とエラー発生時とを表示可能な表示ランプ34が設けられている。
(【0011】以降は省略されています)
この特許をJ-PlatPat(特許庁公式サイト)で参照する
関連特許
株式会社三洋物産
遊技機
14日前
株式会社三洋物産
遊技機
24日前
株式会社三洋物産
遊技機
24日前
株式会社三洋物産
遊技機
24日前
株式会社三洋物産
遊技機
14日前
株式会社三洋物産
遊技機
14日前
株式会社三洋物産
遊技機
14日前
株式会社三洋物産
遊技機
14日前
株式会社三洋物産
遊技機
14日前
株式会社三洋物産
遊技機
14日前
株式会社三洋物産
遊技機
14日前
株式会社三洋物産
遊技機
14日前
株式会社三洋物産
遊技機
今日
株式会社三洋物産
遊技機
14日前
株式会社三洋物産
遊技機
24日前
株式会社三洋物産
遊技機
24日前
株式会社三洋物産
遊技機
24日前
株式会社三洋物産
遊技機
24日前
株式会社三洋物産
遊技機
11日前
株式会社三洋物産
遊技機
11日前
株式会社三洋物産
遊技機
11日前
株式会社三洋物産
遊技機
11日前
株式会社三洋物産
遊技機
11日前
株式会社三洋物産
遊技機
11日前
株式会社三洋物産
遊技機
11日前
株式会社三洋物産
遊技機
11日前
株式会社三洋物産
遊技機
11日前
株式会社三洋物産
遊技機
11日前
株式会社三洋物産
遊技機
11日前
株式会社三洋物産
遊技機
11日前
株式会社三洋物産
遊技機
11日前
株式会社三洋物産
遊技機
24日前
株式会社三洋物産
遊技機
24日前
株式会社三洋物産
遊技機
11日前
株式会社三洋物産
遊技機
21日前
株式会社三洋物産
遊技機
22日前
続きを見る
他の特許を見る