TOP
|
特許
|
意匠
|
商標
特許ウォッチ
Twitter
他の特許を見る
10個以上の画像は省略されています。
公開番号
2025140328
公報種別
公開特許公報(A)
公開日
2025-09-29
出願番号
2024039668
出願日
2024-03-14
発明の名称
遊技機
出願人
株式会社三洋物産
代理人
個人
主分類
A63F
7/02 20060101AFI20250919BHJP(スポーツ;ゲーム;娯楽)
要約
【課題】興趣性の向上が可能な遊技機を提供すること。
【解決手段】本発明に係る遊技機は、第2状態が発生して所定停止状態に移行した後に、第1状態が発生して所定停止状態に移行した場合には実行されない特別演出を行う特別演出実行手段を備え、特別演出は、当該特別演出の実行中及び実行後は所定動作手段が所定動作状態に移行されることのない第1演出と、当該演出の実行後に所定動作手段が所定動作状態に移行される第2演出と、を少なくとも有する、ことを特徴とする。
【選択図】図229
特許請求の範囲
【請求項1】
始動口への入賞の成立に基づいて特定条件が満たされた場合に実行される特定遊技状態と、
前記特定遊技状態となった場合に複数回の所定動作状態を実行し得る所定動作手段と、
前記特定遊技状態に関する制御および前記所定動作手段の制御を実行する制御手段と、を備えた遊技機であって、
前記制御手段は、前記特定遊技状態において前記所定動作手段が前記所定動作状態となった後に、少なくとも第1状態が発生した場合と、前記第1状態とは異なる第2状態とが発生した場合に、前記所定動作手段を所定停止状態に移行させるものであり、
前記制御手段は、
前記所定動作手段を前記所定停止状態に移行させた場合に、少なくとも所定期間、前記所定動作手段を前記所定停止状態に維持する維持状態実行手段を備え、
前記特定遊技状態において、前記第1状態が発生して前記所定動作手段を前記所定停止状態に移行させた場合に、前記第2状態が発生して前記所定動作手段を前記所定停止状態に移行させた場合よりも早く前記所定動作状態に移行させるように構成され、
前記遊技機は、
前記第2状態が発生して前記所定停止状態に移行した後に、前記第1状態が発生して前記所定停止状態に移行した場合には実行されない特別演出を行う特別演出実行手段を備え、
前記特別演出は、当該特別演出の実行中及び実行後は前記所定動作手段が前記所定動作状態に移行されることのない第1演出と、当該演出の実行後に前記所定動作手段が前記所定動作状態に移行される第2演出と、を少なくとも有する、
ことを特徴とする遊技機。
発明の詳細な説明
【技術分野】
【0001】
本発明は、弾球遊技機(パチンコ機ともいう)や回胴式遊技機(パチスロ機ともいう)等の遊技機に関する。
続きを表示(約 6,500 文字)
【背景技術】
【0002】
従来の遊技機として、遊技盤に設けられた所定の始動入賞口に遊技球が入賞したことを契機として当たり抽選が実行され、抽選結果に応じて特典が付与される遊技機が知られている。
【先行技術文献】
【特許文献】
【0003】
特開2023-64108号公報
【発明の概要】
【発明が解決しようとする課題】
【0004】
しかしながら従来の遊技機は、興趣性に向上の余地がある。本発明は、興趣性の向上が可能な遊技機を提供することを目的とする。
【課題を解決するための手段】
【0005】
本発明に係る遊技機は、始動口への入賞の成立に基づいて特定条件が満たされた場合に実行される特定遊技状態と、前記特定遊技状態となった場合に複数回の所定動作状態を実行し得る所定動作手段と、前記特定遊技状態に関する制御および前記所定動作手段の制御を実行する制御手段と、を備えた遊技機であって、前記制御手段は、前記特定遊技状態において前記所定動作手段が前記所定動作状態となった後に、少なくとも第1状態が発生した場合と、前記第1状態とは異なる第2状態とが発生した場合に、前記所定動作手段を所定停止状態に移行させるものであり、前記制御手段は、前記所定動作手段を前記所定停止状態に移行させた場合に、少なくとも所定期間、前記所定動作手段を前記所定停止状態に維持する維持状態実行手段を備え、前記特定遊技状態において、前記第1状態が発生して前記所定動作手段を前記所定停止状態に移行させた場合に、前記第2状態が発生して前記所定動作手段を前記所定停止状態に移行させた場合よりも早く前記所定動作状態に移行させるように構成され、前記遊技機は、前記第2状態が発生して前記所定停止状態に移行した後に、前記第1状態が発生して前記所定停止状態に移行した場合には実行されない特別演出を行う特別演出実行手段を備え、前記特別演出は、当該特別演出の実行中及び実行後は前記所定動作手段が前記所定動作状態に移行されることのない第1演出と、当該演出の実行後に前記所定動作手段が前記所定動作状態に移行される第2演出と、を少なくとも有する、ことを特徴とする。
【発明の効果】
【0006】
本発明によれば、興趣性の向上が可能な遊技機を提供することができる。
【図面の簡単な説明】
【0007】
第1実施形態に係る遊技機の前扉枠を開放した平面図及び遊技者との位置関係を示す図である。
第1実施形態に係る遊技機の正面図である。
第1実施形態に係る遊技機の主要な構成を展開して示す斜視図である。
第1実施形態に係る遊技機の主要な構成を展開して示す斜視図である。
第1実施形態に係る遊技機の構成を示す背面図である。
第1実施形態に係る遊技機の前扉枠の構成を示す背面図である。
第1実施形態に係る遊技機の内枠の構成を示す正面図である。
第1実施形態に係る遊技機の遊技盤の正面図である。
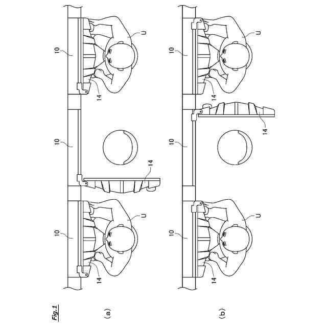
第1実施形態に係る遊技機の可変入賞装置を説明する斜視図である。
検出器の構成を説明する図である。
他の形態に係る遊技機の可変入賞装置を説明する斜視図である。
第1実施形態に係る遊技機の図柄表示装置の表示画面を示す図である。
第1実施形態に係る遊技機の内枠の構成を示す背面図である。
第1実施形態に係る遊技機の遊技盤の背面構成を示す斜視図である。
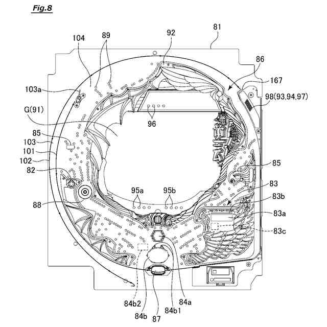
第1実施形態に係る遊技機の遊技盤から主制御装置ユニットを取り外した状態を示す背面図である。
第1実施形態に係る遊技機の主制御装置ユニットの構成を示す斜視図である。
第1実施形態に係る遊技機の裏パックユニットの構成を示す正面図である。
第1実施形態に係る遊技機の前方から見た第1監視装置の分解斜視図である。
第1実施形態に係る遊技機の後方から見た第1監視装置の分解斜視図である。
第1実施形態に係る遊技機の電気的構成を示すブロック図である。
第1実施形態に係る遊技機の操作ボタンを示す平面図である。
第1実施形態に係る遊技機の内部抽選に用いられる各カウンタの内容を示す図である。
第1実施形態に係る遊技機の大当たり発生に当選する乱数の値を記憶した当否テーブルを示す図である。
第1実施形態に係る遊技機の大当たりの種別の振分先に係る乱数の値を記憶した振分テーブルを示す図である。
第1実施形態に係る遊技機の変動表示の継続時間を記憶した変動パターンテーブルを示す図である。
第1実施形態に係る主制御装置のメイン処理のフローチャートを示す図である。
第1実施形態に係る主制御装置の通常処理のフローチャートを示す図である。
第1実施形態に係る主制御装置のタイマ割込み処理のフローチャートを示す図である。
第1実施形態に係る主制御装置の始動口用の入賞処理のフローチャートを示す図である。
第1実施形態に係る主制御装置の事前判定処理のフローチャートを示す図である。
第1実施形態に係る主制御装置の連荘数カウント処理のフローチャートを示す図である。
第1実施形態に係る主制御装置の遊技回制御処理のフローチャートを示す図である。
第1実施形態に係る主制御装置のデータ設定処理のフローチャートを示す図である。
第1実施形態に係る主制御装置の変動開始処理のフローチャートを示す図である。
第1実施形態に係る主制御装置の表示継続時間の設定処理のフローチャートを示す図である。
第1実施形態に係る主制御装置の遊技状態移行処理のフローチャートを示す図である。
第1実施形態に係る主制御装置の大入賞口開閉処理のフローチャートを示す図である。
第1実施形態に係る主制御装置の大入賞口開放処理のフローチャートを示す図である。
第1実施形態に係る主制御装置の開閉実行モード終了時の移行処理のフローチャートを示す図である。
第1実施形態に係る遊技機の監視処理のフローチャートを示す図である。
第1実施形態に係る遊技機の前扉枠開放監視処理のフローチャートを示す図である。
第1実施形態に係る遊技機の開閉扉位置監視処理のフローチャートを示す図である。
第1実施形態に係る音声発光制御装置及び表示制御装置の電気的構成を示すブロック図である。
第1実施形態に係る音声発光制御装置の保留記憶エリアを模式的に示した図である。
第1実施形態に係る音声発光制御装置のROMに格納されるデータ構成を示す図であり、(a)はROM412に格納されるデータ構成を示す図、(b)は共通用ROM404に格納されるデータ構成を示す図である。
第1実施形態に係る音声発光制御装置の音出力LSIが備えるレジスタの構成を説明するための概念図である。
第1実施形態に係る音声発光制御装置の音出力LSIが備えるDAC及びスピーカ部との接続関係を説明するための概念図である。
第1実施形態に係る遊技機の音声データ再生に当選する乱数の値を記憶した当否テーブルを示す図である。
第1実施形態に係る音声発光制御装置にて実行されるタイマ割込み処理のフローチャートを示す図である。
第1実施形態に係る音声発光制御装置にて実行される演出決定処理のフローチャートを示す図である。
第1実施形態に係る音声発光制御装置にて実行される保留発生処理のフローチャートを示す図である。
第1実施形態に係る音声発光制御装置にて実行される保留シフト処理のフローチャートを示す図である。
第1実施形態に係る音声発光制御装置にて実行される示唆・告知処理のフローチャートを示す図である。
第1実施形態に係る遊技機の遊技結果と、遊技状態等との関係を示す図である。
第1実施形態に係る遊技機(音声発光制御装置)の遊技結果(大当たり種別)と、演出内容との関係を示す図である。
第1実施形態に係る遊技機の音声発光制御装置にて実行されるエンディング演出設定処理のフローチャートを示す図である。
第1実施形態に係る遊技機の音声発光制御装置にて実行される音声制御処理のフローチャートを示す図である。
第1実施形態に係る遊技機の音声発光制御装置にて実行される音声制御処理のフローチャートを示す図である。
第1実施形態に係る遊技機の音声発光制御装置にて実行される音声データ再生抽選処理のフローチャートを示す図である。
第1実施形態に係る遊技機の音声発光制御装置にて実行される異常時報知処理のフローチャートを示す図である。
第1実施形態に係る表示制御装置にて実行されるタイマ割込み処理のフローチャートを示す図である。
第1実施形態に係る表示制御装置にて実行される保留表示処理のフローチャートを示す図である。
第1実施形態に係る遊技機の表示制御装置にて実行されるエンディング演出設定処理のフローチャートを示す図である。
第1実施形態に係る遊技機の表示制御装置にて実行される飾図停止表示処理のフローチャートを示す図である。
第1実施形態に係る遊技機の特別図柄(大当たり非当選時)の変動表示及び停止表示に対応させた演出画像の例を示す連続図である。
第1実施形態に係る遊技機の特別図柄(大当たり当選時)の変動表示及び停止表示に対応させた演出画像の例を示す連続図である。
第1実施形態に係る遊技機の特別遊技の大当たり当選時(開閉実行モード)の例を示す連続図である。
第1実施形態に係る遊技機の特別遊技のエンディング演出の例を示す連続図である。
第1実施形態の変形例1に係る遊技機の特別遊技のエンディング演出の例を示す連続図である。
第1実施形態の変形例2に係る遊技機の特別遊技のエンディング演出の例を示す連続図である。
第1実施形態の変形例5に係る遊技機の音声発光制御装置にて実行されるエンディング演出設定処理のフローチャートを示す図である。
第1実施形態の変形例5に係る遊技機の音声発光制御装置にて実行される打出報知キャンセル処理のフローチャートを示す図である。
第1実施形態の変形例5に係る遊技機の表示制御装置にて実行されるエンディング演出設定処理のフローチャートを示す図である。
第1実施形態の変形例5に係る遊技機の表示制御装置にて実行される打出報知キャンセル処理のフローチャートを示す図である。
第1実施形態の変形例6に係る遊技機の音声発光制御装置にて実行されるエンディング演出設定処理のフローチャートを示す図である。
第1実施形態の変形例6に係る遊技機の音声発光制御装置にて実行される打出停止報知処理のフローチャートを示す図である。
第1実施形態の変形例6に係る遊技機の表示制御装置にて実行されるエンディング演出設定処理のフローチャートを示す図である。
第1実施形態の変形例6に係る遊技機の表示制御装置にて実行される打出停止報知処理のフローチャートを示す図である。
第1実施形態の変形例7に係る遊技機の音声発光制御装置にて実行されるエンディング演出設定処理のフローチャートを示す図である。
第1実施形態の変形例7に係る遊技機の音声発光制御装置にて実行される打出報知処理のフローチャートを示す図である。
第1実施形態の変形例7に係る遊技機の表示制御装置にて実行されるエンディング演出設定処理のフローチャートを示す図である。
第1実施形態の変形例7に係る遊技機の表示制御装置にて実行される打出報知処理のフローチャートを示す図である。
第1実施形態の変形例7に係る遊技機の打ち出し演出の例を示す図である。
第1実施形態の変形例8に係る遊技機の普通図柄の当たり発生に当選する乱数の値を記憶した当否テーブルを示す図である。
第1実施形態の変形例8に係る遊技機の普通図柄の当たり発生時に実行する電動役物開放パターンの振分先を示す図である。
第1実施形態の変形例8に係る主制御装置の通常処理の電役サポート処理のフローチャートを示す図である。
第1実施形態の変形例8に係る音声発光制御装置の打出報知処理のフローチャートを示す図である。
第2実施形態に係る遊技機の音声発光制御装置にて実行される音声制御処理のフローチャートを示す図である。
第2実施形態に係る遊技機の音声発光制御装置にて実行される音声制御処理のフローチャートを示す図である。
第3実施形態に係る音声発光制御装置の共通用ROM404に格納される音声データを示す図である。
第3実施形態に係る遊技機の音声発光制御装置にて実行される音声制御処理のフローチャートを示す図である。
第3実施形態に係る遊技機の音声発光制御装置にて実行される音声制御処理のフローチャートを示す図である。
第3実施形態に係る遊技機の音声発光制御装置にて実行される音声データ再生処理のフローチャートを示す図である。
第3実施形態の変形例1に係る音声発光制御装置の共通用ROM404に格納される音声データを示す図である。
第4実施形態に係る遊技機の音声発光制御装置にて実行される音声制御処理のフローチャートを示す図である。
第4実施形態に係る遊技機の音声発光制御装置にて実行される音声制御処理のフローチャートを示す図である。
第5実施形態に係る遊技機の音声発光制御装置にて実行される音声制御処理のフローチャートを示す図である。
第5実施形態に係る遊技機の表示制御装置にて実行される飾図停止表示処理のフローチャートを示す図である。
第5実施形態の変形例1に係る遊技機の図柄表示装置に表示されるダブルリーチが成立した場合の表示画面を示す図である。
第5実施形態の変形例1に係る遊技機の音声発光制御装置にて実行される音声制御処理のフローチャートを示す図である。
【発明を実施するための形態】
【0008】
以下に、以上の本発明を適用し得る各種遊技機の基本構成を示す。
【0009】
[弾球遊技機]
遊技者が操作する操作手段(発射ハンドル41)と、その操作手段の操作に基づいて遊技球を弾いて発射する球発射手段(遊技球発射機構110)と、その発射された遊技球を所定の遊技領域104に導く球通路(内レール101及び外レール102)と、遊技領域104内に配置された各遊技部品(一般入賞口82や釘等)とを備えた遊技機。
【0010】
[特別表示手段及び可変表示装置を備えた弾球遊技機]
遊技者が操作する操作手段と、その操作手段の操作に基づいて遊技球を弾いて発射する球発射手段と、その発射された遊技球を所定の遊技領域104に導く球通路と、遊技領域104内に配置された第1,第2始動口84a,84b、主表示装置98、可変表示ユニット86及び可変入賞装置83とを備え、第1,第2始動口84a,84bへの遊技球の入球を検知すると主表示装置98に表示される表示内容を可変表示し、その停止時の表示内容が特定の表示内容である場合に可変入賞装置83を所定態様で開放させるようにした遊技機。
(【0011】以降は省略されています)
この特許をJ-PlatPat(特許庁公式サイト)で参照する
関連特許
株式会社三洋物産
遊技機
3か月前
株式会社三洋物産
遊技機
1か月前
株式会社三洋物産
遊技機
1か月前
株式会社三洋物産
遊技機
1か月前
株式会社三洋物産
遊技機
1か月前
株式会社三洋物産
遊技機
1か月前
株式会社三洋物産
遊技機
1か月前
株式会社三洋物産
遊技機
1か月前
株式会社三洋物産
遊技機
1か月前
株式会社三洋物産
遊技機
1か月前
株式会社三洋物産
遊技機
1か月前
株式会社三洋物産
遊技機
1か月前
株式会社三洋物産
遊技機
1か月前
株式会社三洋物産
遊技機
1か月前
株式会社三洋物産
遊技機
1か月前
株式会社三洋物産
遊技機
1か月前
株式会社三洋物産
遊技機
1か月前
株式会社三洋物産
遊技機
1か月前
株式会社三洋物産
遊技機
3か月前
株式会社三洋物産
遊技機
1か月前
株式会社三洋物産
遊技機
3か月前
株式会社三洋物産
遊技機
1か月前
株式会社三洋物産
遊技機
1か月前
株式会社三洋物産
遊技機
1か月前
株式会社三洋物産
遊技機
1か月前
株式会社三洋物産
遊技機
1か月前
株式会社三洋物産
遊技機
3か月前
株式会社三洋物産
遊技機
3か月前
株式会社三洋物産
遊技機
3か月前
株式会社三洋物産
遊技機
3か月前
株式会社三洋物産
遊技機
3か月前
株式会社三洋物産
遊技機
3か月前
株式会社三洋物産
遊技機
3か月前
株式会社三洋物産
遊技機
3か月前
株式会社三洋物産
遊技機
3か月前
株式会社三洋物産
遊技機
3か月前
続きを見る
他の特許を見る