TOP
|
特許
|
意匠
|
商標
特許ウォッチ
Twitter
他の特許を見る
公開番号
2025121419
公報種別
公開特許公報(A)
公開日
2025-08-20
出願番号
2023210583
出願日
2023-12-13
発明の名称
医療用センサー、分子機械、及び、コントローラー付きプログラマブルナノロボット
出願人
国立研究開発法人物質・材料研究機構
代理人
弁理士法人 HARAKENZO WORLD PATENT & TRADEMARK
主分類
B82B
1/00 20060101AFI20250813BHJP(ナノテクノロジー)
要約
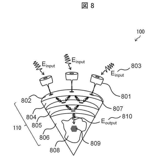
【課題】複数のプログラム可能なタスクを一度に実行するために、機能要素間のシームレスな通信と協調動作を実現する分子構造を提供する。
【解決手段】プログラム可能な分子構造(100)は、マトリックス分子(110)と、1または複数のレセプター分子(103、104、105)であって、そのうちの少なくとも1つがマトリックス分子(110)の一部に連結しているレセプター分子と、1または複数の分子機械(106、107)であって、そのうちの少なくとも1つがマトリックス分子(110)の他の一部に連結している分子機械と、分子機械(106、107)の少なくとも制御する1または複数のコントローラー分子(101)とを含む。
【選択図】図1
特許請求の範囲
【請求項1】
マトリックス分子、
少なくとも何れかが前記マトリックス分子の一部に結合している1又は複数のレセプター分子、
少なくとも何れかが前記マトリックス分子の他の一部に結合している1又は複数の分子機械、及び、
前記分子機械の少なくとも一部を制御する1又は複数のコントローラー分子
を備えているプログラマブル分子構造。
続きを表示(約 1,500 文字)
【請求項2】
請求項1に記載のプログラマブル分子構造において、
前記マトリックス分子は、フラクタル分子枝を備えている
プログラマブル分子構造。
【請求項3】
請求項2に記載のプログラマブル分子構造において、
前記マトリックス分子は、前記コントローラー分子を埋め込む1又は複数のキャビティを有している
プログラマブル分子構造。
【請求項4】
請求項3に記載のプログラマブル分子構造において、
前記コントローラー分子は、カプセル化されたマルチレベル分子から構成されている
プログラマブル分子構造。
【請求項5】
請求項4に記載のプログラマブル分子構造において、
前記レセプター分子は、
外部刺激を受け取り、
前記外部刺激を、前記マトリックス分子に伝送し、
前記コントローラー分子は、
前記外部刺激に対応するエネルギーを前記マトリックス分子から受け取り、
前記外部刺激に対応するタスクを実行するよう前記分子機械に指示する
プログラマブル分子構造。
【請求項6】
請求項1から5のいずれか一項に記載のプログラマブル分子構造において、
前記マトリックス分子は、
複数の分岐末端を有する樹枝状構造、
複数の官能基を有する直鎖状または分岐状のポリマーまたはコポリマー、及び、
多官能性バッキーボール、又はフラクタル的な配線を有する複合ナノ物質
の少なくとも何れかを有しており、
前記マトリックス分子は、球形、立方体、多面体、円形、多角形、フラクタル分岐の何れかの形状をとる
プログラマブル分子構造。
【請求項7】
請求項1から5のいずれか一項に記載のプログラマブル分子構造において、
前記コントローラー分子は、
マルチレベル酸化還元分子、色素分子、タンパク質、ポリマー、コポリマー、生体分子、ミセル、ナノ粒子、及び、量子ドット
の少なくとも何れかを有している
プログラマブル分子構造。
【請求項8】
請求項1から5のいずれか一項に記載のプログラマブル分子構造において、
前記レセプター分子は、
化学的ノイズ、熱ノイズ、またはユーザーが送信した信号を受け取る分子モーター、及び、
分子、イオン、又は電磁場を感知する分子センサー
の少なくとも何れかを有している
プログラマブル分子構造。
【請求項9】
請求項1から5のいずれか一項に記載のプログラマブル分子構造において、
前記分子機械は、前記コントローラー分子の指示に従って、回転運動、並進運動、および振動運動の少なくとも何れかを含むタスクを実行する
プログラマブル分子構造。
【請求項10】
マトリックス分子、1または複数のレセプター分子、1または複数の分子機械、および1または複数のコントローラー分子を含むプログラマブル分子構造の設計方法において、
少なくとも1つのキャビティを含むマトリックス分子を準備する工程、および
前記レセプター分子を含む表面要素を、共有結合、配位結合、静電結合、又は弱い相互作用力を介して、前記マトリックス分子の末端に結合させる工程
を含み、
前記キャビティ内表面の境界分子は、水素結合形成及び静電イオン結合形成の引き金となるキレート化原子及び非キレート化原子によって構成され、それにより、前記マトリックス分子を前記表面要素に接続する
設計方法。
(【請求項11】以降は省略されています)
発明の詳細な説明
【技術分野】
【0001】
本出願は、様々な作業を無線で指示されることが可能な、ナノスケールのプログラマブルデバイスに基づく統合分子機械、及び、そのような分子機械を設計する方法に関する。
続きを表示(約 2,800 文字)
【背景技術】
【0002】
ナノテクノロジーや分子工学の分野では、自律的に、あるいはユーザーの指示に従って所望のタスクを実行するナノロボットやナノマシンを実現する試みが数多くなされている(例えば、特許文献1、2、3、非特許文献1、2、3、4、5、6、7参照)。
【先行技術文献】
【特許文献】
【0003】
米国特許番号:US 7,687,146 B1
米国特許出願公開番号:US 2005/0136453 A1
米国特許番号:US 5,372,930
【非特許文献】
【0004】
Chandrasekaran, G., Tatrai, P., & Gergely, F. (2015). Hitting the brakes: targeting microtubule motors in cancer. British Journal of Cancer, 113(5), 693-698. https://doi.org/10.1038/bjc.2015.264
Gondal, M., Butt, R., Shah, O., Sultan, M., Mustafa, G., Nasir, Z., … & Chaudhary, S. (2021). A personalized therapeutics approach using an in silico drosophila patient model reveals optimal chemo- and targeted therapy combinations for colorectal cancer. Frontiers in Oncology, 11. https://doi.org/10.3389/fonc.2021.692592
Hu, C. and Zhang, L. (2009). Therapeutic nanoparticles to combat cancer drug resistance. Current Drug Metabolism, 10(8), 836-841. https://doi.org/10.2174/138920009790274540
Joo, J., Choi, M., Jang, S., Choi, S., Park, S., Shin, D., … & Cho, K. (2020). Realizing cancer precision medicine by integrating systems biology and nanomaterial engineering. Advanced Materials, 32(35). https://doi.org/10.1002/adma.201906783
John Gall; "Systemantics: How Systems Really Work and How They Fail", 2nd ed.: The General Systemantics Press (1986)
Chris Phoenix; "Design of a Primitive Nanofactory", Journal of Evolution and Technology - Vol. 13 - October 2003 from http://www.jetpress.org/ volume13/Nanofactory.pdf
【発明の概要】
【発明が解決しようとする課題】
【0005】
分子機械の設計に対する従来のアプローチでは、様々な機能的部分(functional parts)を取り扱い、それらを分離した方法で又は一緒に操作するプログラムをエンコードすることは困難である。
【0006】
本発明の目的の一例は、複数のプログラム可能なタスクを一度に実行するために、機能要素(functional components)間のシームレスなコミュニケーションと協調動作(coordinated action)を実現する分子構造を提供することである。
【課題を解決するための手段】
【0007】
上述の目的を達成するために、プログラマブル分子構造は、マトリックス分子と、少なくとも何れかが前記マトリックス分子の一部に結合している1又は複数のレセプター分子と、少なくとも何れかが前記マトリックス分子の他の一部に結合している1又は複数の分子機械と、前記分子機械の少なくとも一部を制御する1又は複数のコントローラー分子とを備えている。
【0008】
上述の目的を達成するために、プログラマブル分子構造の設計方法は、マトリックス分子、1または複数のレセプター分子、1または複数の分子機械、および1または複数のコントローラー分子を含むプログラマブル分子構造の設計方法において、少なくとも1つのキャビティを含むマトリックス分子を準備する工程、および前記レセプター分子を含む表面要素を、共有結合、配位結合、静電結合、又は弱い相互作用力を介して、前記マトリックス分子の末端に結合させる工程を含み、前記キャビティ内表面の境界分子は、水素結合形成及び静電イオン結合形成の引き金となるキレート化原子及び非キレート化原子によって構成され、それにより、前記マトリックス分子を前記表面要素に接続する。
【0009】
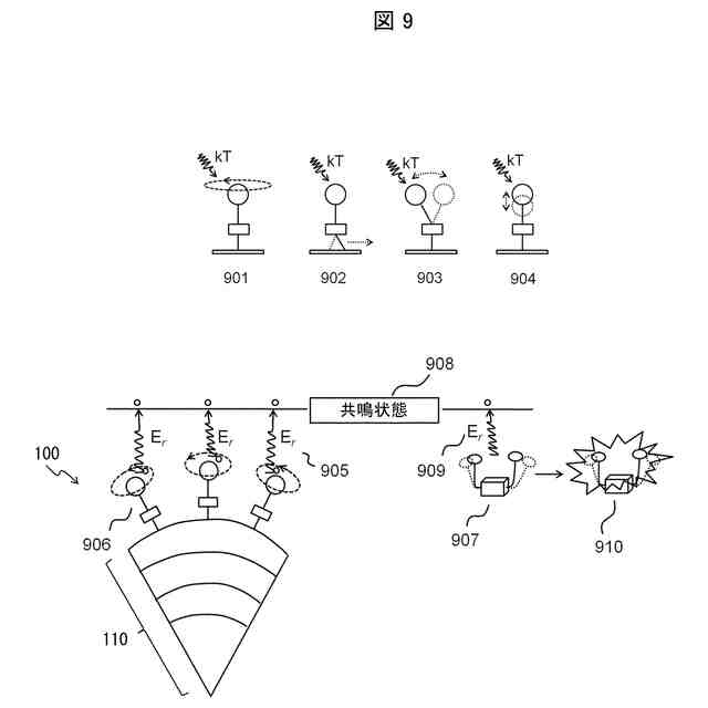
上述の目的を達成するために、分子構造の設計方法は、マトリックス分子、1または複数のレセプター分子、1または複数の分子機械、および1または複数のコントローラー分子を含む分子構造の設計方法において、CEES分光法、FTIR分光法、およびラマン分光法のいずれか1つを前記分子構造に適用する工程、及び前記分子構造における1または複数のエネルギー伝達ループのマップを取得する工程を含み、エネルギー伝達ループは、分子システムによって実行される任意のタスクのプログラム、編集、書き込み、消去、書き換えを望むユーザーの対象である。
【0010】
上述の目的を達成するために、分子構造は、マトリックス分子、1または複数のレセプター分子、1または複数の分子機械、および1または複数のコントローラー分子を含む分子構造において、前記レセプター分子および前記分子機械の少なくとも何れかは、外部環境からエネルギーを吸収し、前記分子構造は前記エネルギーを振動エネルギーに変換し、当該振動エネルギーを共鳴(共振)させ、電磁場の渦又はリングの形でエネルギーパケットを放出する。
(【0011】以降は省略されています)
この特許をJ-PlatPat(特許庁公式サイト)で参照する
関連特許
三菱マテリアル株式会社
ナノ粒子スクリーニングシステム、ナノ粒子スクリーニング方法およびプログラム
11か月前
国立研究開発法人物質・材料研究機構
医療用センサー、分子機械、及び、コントローラー付きプログラマブルナノロボット
1か月前
合同会社IP技研
尿吸収パッド
11か月前
栗田工業株式会社
ボイラ水処理装置および処理方法
3か月前
日立GEニュークリア・エナジー株式会社
金属キャスクの補修溶接方法
9か月前
他の特許を見る