TOP
|
特許
|
意匠
|
商標
意匠ウォッチ
Twitter
他の意匠を見る
発行日
2025-12-12
公報種別
意匠公報(S)
登録番号
1814721
登録日
2025-12-04
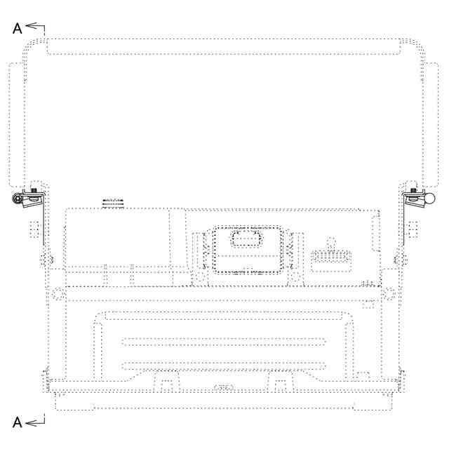
意匠に係る物品
投光器
意匠分類
D3
-302(発光具及び照明器具)
出願番号
2025010427
出願日
2025-05-27
意匠権者
アイリスオーヤマ株式会社
代理人
意匠に係る物品の説明
意匠の説明
実線で表された部分が、部分意匠として意匠登録を受けようとする部分である。一点鎖線は、部分意匠として意匠登録を受けようとする部分とその他の部分との境界のみを示す線である。参考下方後方斜視図において、薄墨を施した部分は透明であることを表している。
この意匠をJ-PlatPat(特許庁公式サイト)で参照する
関連意匠
アイリスオーヤマ株式会社
3か月前
アイリスオーヤマ株式会社
1か月前
アイリスオーヤマ株式会社
1か月前
アイリスオーヤマ株式会社
1か月前
アイリスオーヤマ株式会社
1か月前
アイリスオーヤマ株式会社
1か月前
アイリスオーヤマ株式会社
1か月前
アイリスオーヤマ株式会社
1か月前
アイリスオーヤマ株式会社
1か月前
アイリスオーヤマ株式会社
1か月前
アイリスオーヤマ株式会社
1か月前
アイリスオーヤマ株式会社
4か月前
アイリスオーヤマ株式会社
4か月前
アイリスオーヤマ株式会社
4か月前
アイリスオーヤマ株式会社
4か月前
アイリスオーヤマ株式会社
3か月前
アイリスオーヤマ株式会社
1か月前
アイリスオーヤマ株式会社
1か月前
アイリスオーヤマ株式会社
1か月前
アイリスオーヤマ株式会社
1か月前
アイリスオーヤマ株式会社
16か月前
アイリスオーヤマ株式会社
16か月前
アイリスオーヤマ株式会社
16か月前
アイリスオーヤマ株式会社
12か月前
アイリスオーヤマ株式会社
10か月前
アイリスオーヤマ株式会社
投光器
今日
アイリスオーヤマ株式会社
投光器
今日
アイリスオーヤマ株式会社
投光器
今日
アイリスオーヤマ株式会社
かばん
9か月前
アイリスオーヤマ株式会社
かばん
9か月前
アイリスオーヤマ株式会社
投光器
1か月前
アイリスオーヤマ株式会社
洗浄機
8か月前
アイリスオーヤマ株式会社
洗濯機
5か月前
アイリスオーヤマ株式会社
収納棚
11か月前
アイリスオーヤマ株式会社
収納棚
11か月前
アイリスオーヤマ株式会社
マスク本体
4か月前
続きを見る
他の意匠を見る