TOP
|
特許
|
意匠
|
商標
意匠ウォッチ
Twitter
他の意匠を見る
発行日
2025-10-14
公報種別
意匠公報(S)
登録番号
1810562
登録日
2025-10-03
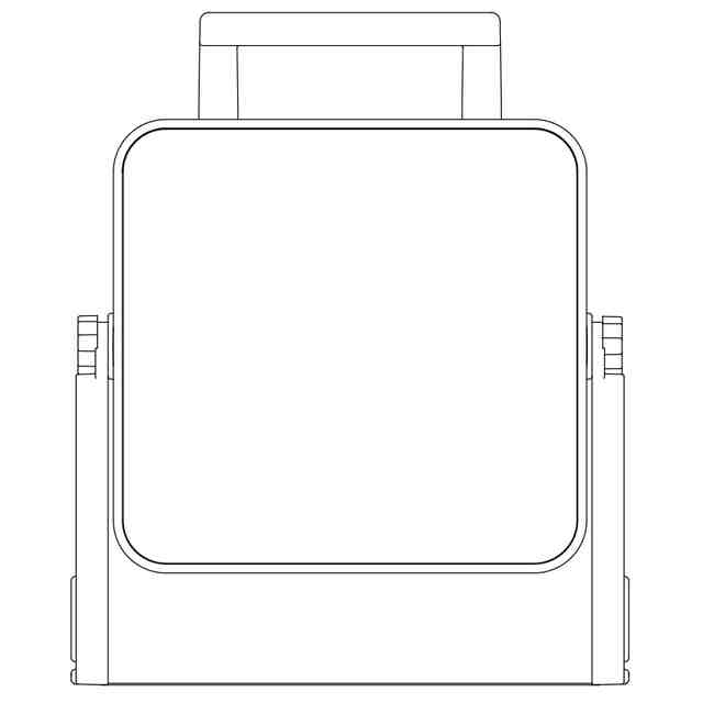
意匠に係る物品
投光器
意匠分類
D3
-302(発光具及び照明器具)
出願番号
2025007719
出願日
2025-04-16
意匠権者
アイリスオーヤマ株式会社
代理人
意匠に係る物品の説明
本物品は、側面視においてベース部が略U字状になっており、逆さにして棒等に引っ掛けて使用することができる投光器である。
意匠の説明
参考斜視図において、薄墨を施した部分は発光部であることを表している。
この意匠をJ-PlatPat(特許庁公式サイト)で参照する
関連意匠
アイリスオーヤマ株式会社
29日前
アイリスオーヤマ株式会社
1か月前
アイリスオーヤマ株式会社
3か月前
アイリスオーヤマ株式会社
3か月前
アイリスオーヤマ株式会社
3か月前
アイリスオーヤマ株式会社
3か月前
アイリスオーヤマ株式会社
9か月前
アイリスオーヤマ株式会社
3か月前
アイリスオーヤマ株式会社
3か月前
アイリスオーヤマ株式会社
29日前
アイリスオーヤマ株式会社
12か月前
アイリスオーヤマ株式会社
15か月前
アイリスオーヤマ株式会社
1か月前
アイリスオーヤマ株式会社
15か月前
アイリスオーヤマ株式会社
1か月前
アイリスオーヤマ株式会社
1か月前
アイリスオーヤマ株式会社
29日前
アイリスオーヤマ株式会社
29日前
アイリスオーヤマ株式会社
29日前
アイリスオーヤマ株式会社
29日前
アイリスオーヤマ株式会社
29日前
アイリスオーヤマ株式会社
1か月前
アイリスオーヤマ株式会社
1か月前
アイリスオーヤマ株式会社
1か月前
アイリスオーヤマ株式会社
16か月前
アイリスオーヤマ株式会社
かばん
9か月前
アイリスオーヤマ株式会社
かばん
9か月前
アイリスオーヤマ株式会社
投光器
1か月前
アイリスオーヤマ株式会社
洗浄機
7か月前
アイリスオーヤマ株式会社
収納棚
4か月前
アイリスオーヤマ株式会社
マスク本体
4か月前
アイリスオーヤマ株式会社
洗濯機
5か月前
アイリスオーヤマ株式会社
収納棚
4か月前
アイリスオーヤマ株式会社
目元用温熱マスク
8か月前
アイリスオーヤマ株式会社
ラベル
1か月前
アイリスオーヤマ株式会社
収納棚
11か月前
続きを見る
他の意匠を見る