TOP
|
特許
|
意匠
|
商標
意匠ウォッチ
Twitter
他の意匠を見る
発行日
2025-12-05
公報種別
意匠公報(S)
登録番号
1814162
登録日
2025-11-27
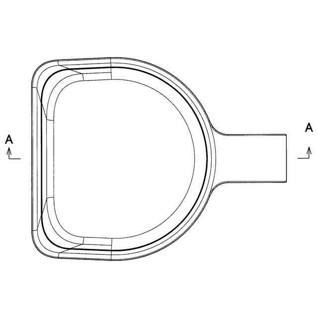
意匠に係る物品
計量カップ
意匠分類
J1
-251(計量器、測定機械器具及び測量機械器具)
出願番号
2025002212
出願日
2025-02-05
意匠権者
株式会社吉川国工業所
代理人
個人
,
個人
,
個人
,
個人
,
個人
,
個人
意匠に係る物品の説明
本物品は、液体や粒体、粉体などの計量に用いる計量カップである。本物品は、計量用の1/2ラインを有するカップ部とハンドル部から構成される。計量用の1/2ラインはカップ部の内面に形成されている。
意匠の説明
各図に表されている細線は、立体表面の形状を表す線である。
この意匠をJ-PlatPat(特許庁公式サイト)で参照する
関連意匠
株式会社吉川国工業所
収納棚
1か月前
株式会社吉川国工業所
ボウル
23日前
株式会社吉川国工業所
米びつ
2か月前
株式会社吉川国工業所
収納ボックス
7か月前
株式会社吉川国工業所
タンブラー
3か月前
株式会社吉川国工業所
食品保存容器
4か月前
株式会社吉川国工業所
収納棚用枠
1か月前
株式会社吉川国工業所
計量カップ
今日
ムラテックKDS株式会社
巻尺
8か月前
新潟精機株式会社
巻尺
8か月前
個人
巻尺
8か月前
ムラテックKDS株式会社
巻尺
8か月前
株式会社フォトジラフ
定規
7か月前
株式会社アトラス
電子秤
6か月前
JUST MATCH株式会社
体温計
6か月前
株式会社小野測器
振動計
11か月前
JUST MATCH株式会社
体温計
6か月前
株式会社小野測器
振動計
11か月前
愛知時計電機株式会社
流量計
6か月前
株式会社アトラス
電子秤
6か月前
個人
載置台
3か月前
広東百事泰医療器械股ふん有限公司
温度計
4か月前
株式会社吉田機工岡山
量水標
1か月前
三和株式会社
温度計
6か月前
シンフォニアテクノロジー株式会社
分注機
1か月前
サーパス工業株式会社
流量計
12か月前
サーパス工業株式会社
流量計
12か月前
サーパス工業株式会社
流量計
12か月前
深せん市森禾実業有限公司
体重計
9か月前
株式会社エビス
水準器
12か月前
株式会社トプコン
測量機
6か月前
ベクトン・ディキンソン・アンド・カンパニー
管配置具
7か月前
ベクトン・ディキンソン・アンド・カンパニー
管配置具
1か月前
有限会社 マグマ冷熱工業
スケール
7か月前
横河電機株式会社
光測定器
7か月前
株式会社フジタ
打診装置
10か月前
続きを見る
他の意匠を見る