TOP
|
特許
|
意匠
|
商標
意匠ウォッチ
Twitter
他の意匠を見る
発行日
2025-12-04
公報種別
意匠公報(S)
登録番号
1814110
登録日
2025-11-26
意匠に係る物品
脊椎インプラント
意匠分類
J7
-70(医療機械器具)
出願番号
2025015011
出願日
2025-07-29
意匠権者
株式会社オーミック
代理人
個人
,
個人
,
個人
,
個人
,
個人
意匠に係る物品の説明
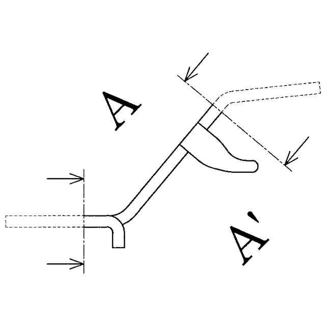
本願意匠に係る物品は、椎弓形成術用プレートと呼ばれる脊椎の脊柱管拡大術において、骨切りした椎弓を固定するためのプレートとして用いられる脊椎インプラントである。本脊椎インプラントは、骨形状に合わせて適宜折り曲げ、変形させて生体骨に沿わせた後、切開された椎弓間に挿入しつつ、上下端をねじによりそれぞれ生体骨と固定するために使用され、生体骨の強度と同程度以上の強度を有し、骨溝(蝶番)部分の骨が治癒するまでは脊柱管が拡大された状態を維持するためのものである。
意匠の説明
実線で表わした部分が、部分意匠として意匠登録を受けようとする部分である。一点鎖線は、部分意匠として意匠登録を受けようとする部分とその他の部分との境界のみを示す線である。
この意匠をJ-PlatPat(特許庁公式サイト)で参照する
関連意匠
株式会社オーミック
脊椎インプラント
今日
シーク・ウィメンズ・ヘルス・インコーポレイテッド
検鏡
9か月前
花王株式会社
首枕
9か月前
ブライデア アイピー ビー.ブイ.
膣鏡
20日前
雪印ビーンスターク株式会社
錠剤
3か月前
雪印ビーンスターク株式会社
錠剤
3か月前
花王株式会社
首枕
9か月前
花王株式会社
首枕
9か月前
花王株式会社
首枕
9か月前
花王株式会社
首枕
9か月前
花王株式会社
首枕
9か月前
個人
薬箱
3か月前
花王株式会社
首枕
10か月前
花王株式会社
首枕
10か月前
花王株式会社
首枕
10か月前
合同会社サポートサービスオレンジ
担架
5か月前
シーク・ウィメンズ・ヘルス・インコーポレイテッド
検鏡
9か月前
シーク・ウィメンズ・ヘルス・インコーポレイテッド
検鏡
9か月前
シーク・ウィメンズ・ヘルス・インコーポレイテッド
検鏡
9か月前
個人
車椅子
7か月前
ティ・アール・エイ株式会社
集音器
6か月前
ティ・アール・エイ株式会社
集音器
6か月前
ハロザイム インコーポレイテッド
注入器
6か月前
湖州立訊精密工業有限公司
美容器
6か月前
広東楽心医療電子股フン有限公司
血圧計
6か月前
個人
矯正具
6か月前
JUST MATCH株式会社
吸入器
7か月前
富士フイルム株式会社
内視鏡
7か月前
フェリック株式会社
発熱体
7か月前
株式会社永光
集音器
2か月前
株式会社スリーアール
美顔器
7か月前
個人
車椅子
7か月前
パナソニックIPマネジメント株式会社
歩行器
5か月前
ニプロ株式会社
採血管
8か月前
ハロザイム インコーポレイテッド
注入器
9か月前
ハロザイム インコーポレイテッド
注入器
9か月前
続きを見る
他の意匠を見る