TOP
|
特許
|
意匠
|
商標
意匠ウォッチ
Twitter
他の意匠を見る
発行日
2025-04-09
公報種別
意匠公報(S)
登録番号
1795658
登録日
2025-04-01
意匠に係る物品
車椅子
意匠分類
J7
-710(医療機械器具)
出願番号
2024013645
出願日
2024-07-02
意匠権者
個人
,
MURASEAKEHARU
代理人
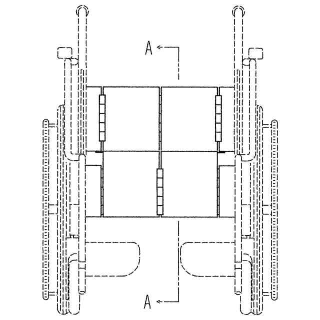
意匠に係る物品の説明
本物品は、折り畳みが可能な車椅子である。特に、本車椅子は、本車椅子の直下に洋式便器を位置させる際に最適である。その為、本車椅子の座板は開閉する構造を備えた車椅子であり、用を足す場合は座板を開け、車椅子利用者は直接洋式便器に座る(車椅子利用者が洋式便器を使用している状態を示す参考図を参照のこと)。ところで、車椅子直下に洋式便器を位置させる場合、本車椅子は洋式便器が位置する部分の空間を確保(空ける)する必要があることから、通常の車椅子で使用されている折り畳み機構が使えない。その為に、本車椅子では、折り畳み機構として、背もたれ部と足元部の2か所を折り畳み部として利用した車椅子を創作した。
意匠の説明
実線で表した部分が、部分意匠として意匠登録を受けようとする部分である。正面図、背面図、平面図、底面図、右側面図及び左側面図は、座板を地面に対して平行(所謂、人が座れる状態)に位置している。一方、車椅子を途中まで閉じた状態の正面図、車椅子を途中まで閉じた状態の背面図、車椅子を途中まで閉じた状態の平面図、車椅子を途中まで閉じた状態の底面図、車椅子を途中まで閉じた状態の右側面図及び車椅子を途中まで閉じた状態の左側面図は、座板を地面に対して垂直(所謂、跳ね上げた状態)に位置している。
この意匠をJ-PlatPat(特許庁公式サイト)で参照する
関連意匠
花王株式会社
首枕
9か月前
シーク・ウィメンズ・ヘルス・インコーポレイテッド
検鏡
7か月前
個人
薬箱
1か月前
花王株式会社
首枕
8か月前
花王株式会社
首枕
8か月前
合同会社サポートサービスオレンジ
担架
3か月前
雪印ビーンスターク株式会社
錠剤
2か月前
興和株式会社
装具
11か月前
シーク・ウィメンズ・ヘルス・インコーポレイテッド
検鏡
7か月前
雪印ビーンスターク株式会社
錠剤
2か月前
花王株式会社
首枕
8か月前
シーク・ウィメンズ・ヘルス・インコーポレイテッド
検鏡
7か月前
花王株式会社
首枕
8か月前
花王株式会社
首枕
8か月前
花王株式会社
首枕
8か月前
花王株式会社
首枕
9か月前
花王株式会社
首枕
9か月前
シーク・ウィメンズ・ヘルス・インコーポレイテッド
検鏡
7か月前
興和株式会社
装具
11か月前
中外製薬株式会社
注射筒
9か月前
モザイク サージカル リミテッド
開創器
3か月前
ユーシービー バイオファルマ エスアールエル
薬入れ
2か月前
ユーシービー バイオファルマ エスアールエル
薬入れ
2か月前
ソリン・グループ・イタリア・ソシエタ・ア・レスポンサビリタ・リミタータ
人工肺
2か月前
ハロザイム インコーポレイテッド
注入器
11か月前
ティ・アール・エイ株式会社
集音器
4か月前
株式会社永光
集音器
1か月前
ティ・アール・エイ株式会社
集音器
4か月前
ハロザイム インコーポレイテッド
注入器
4か月前
千寿製薬株式会社
視力表
3か月前
湖州立訊精密工業有限公司
美容器
4か月前
株式会社永光
集音器
1か月前
株式会社エー・アンド・デイ
血圧計
10か月前
広東楽心医療電子股フン有限公司
血圧計
5か月前
パナソニックIPマネジメント株式会社
歩行車
8か月前
株式会社I-ne
美顔器
5か月前
続きを見る
他の意匠を見る