TOP
|
特許
|
意匠
|
商標
意匠ウォッチ
Twitter
他の意匠を見る
発行日
2025-11-28
公報種別
意匠公報(S)
登録番号
1813757
登録日
2025-11-19
意匠に係る物品
切削工具
意匠分類
K1
-405(利器及び工具)
出願番号
2025009910
出願日
2025-05-20
意匠権者
住友電工ハードメタル株式会社
代理人
弁理士法人深見特許事務所
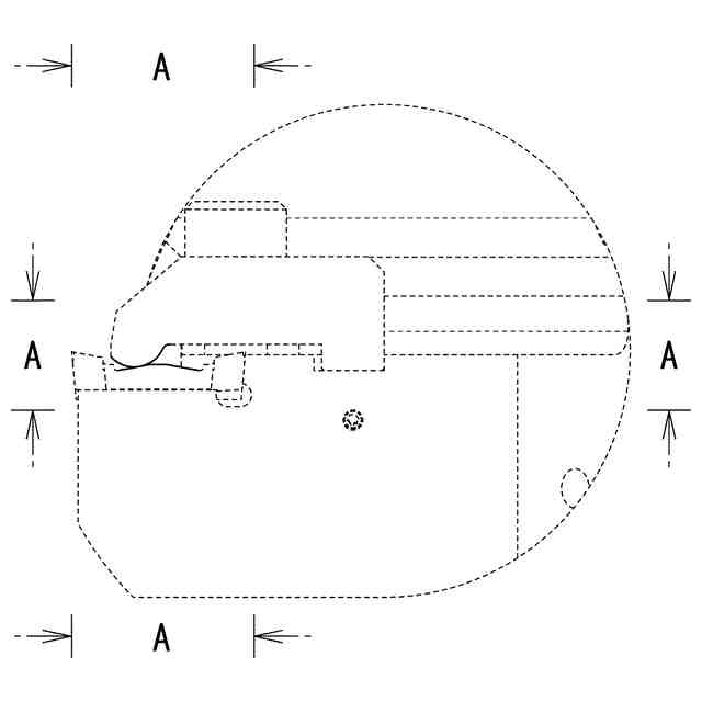
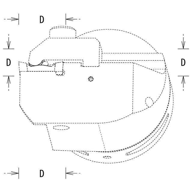
意匠に係る物品の説明
この意匠に係る物品は、使用状態を示す参考図に示されるように、被削材に溝入れ、倣い加工を実施するための切削工具である。この意匠に係る物品は、ホルダと、インサートと、押え金と、締結部材とを有する。締結部材を締め上げることにより押え金によりインサートがホルダに固定される。この意匠に係る物品は、押え金の圧力をインサートに伝え、押圧することでインサートをホルダに固定するための引込部を有する。引込部は、押え金の引込押圧部とインサートの引込受圧部とにより構成される。
意匠の説明
破線で表した部分を除き、実線で表した部分が登録を受けようとする部分である。
この意匠をJ-PlatPat(特許庁公式サイト)で参照する
関連意匠
住友電工ハードメタル株式会社
7か月前
住友電工ハードメタル株式会社
7か月前
住友電工ハードメタル株式会社
7か月前
住友電工ハードメタル株式会社
3か月前
住友電工ハードメタル株式会社
切削工具
9か月前
住友電工ハードメタル株式会社
切削工具
8か月前
住友電工ハードメタル株式会社
切削工具
8か月前
住友電工ハードメタル株式会社
切削工具
8か月前
住友電工ハードメタル株式会社
切削工具
6か月前
住友電工ハードメタル株式会社
切削工具
8か月前
住友電工ハードメタル株式会社
切削工具
9か月前
住友電工ハードメタル株式会社
切削工具
今日
住友電工ハードメタル株式会社
切削工具
9か月前
住友電工ハードメタル株式会社
切削工具
今日
住友電工ハードメタル株式会社
切削工具
10か月前
住友電工ハードメタル株式会社
切削工具
10か月前
住友電工ハードメタル株式会社
切削工具
10か月前
住友電工ハードメタル株式会社
切削工具
11か月前
住友電工ハードメタル株式会社
切削工具
今日
住友電工ハードメタル株式会社
切削工具
9か月前
住友電工ハードメタル株式会社
ドリル
8か月前
住友電工ハードメタル株式会社
ドリル
11か月前
住友電工ハードメタル株式会社
ドリル
11か月前
住友電工ハードメタル株式会社
ドリル
7か月前
住友電工ハードメタル株式会社
ドリル
7か月前
住友電工ハードメタル株式会社
ドリル
6か月前
住友電工ハードメタル株式会社
ドリル
2か月前
住友電工ハードメタル株式会社
ドリル
4か月前
住友電工ハードメタル株式会社
ドリル
6か月前
住友電工ハードメタル株式会社
ドリル
6か月前
住友電工ハードメタル株式会社
ドリル
4か月前
住友電工ハードメタル株式会社
ドリル
7か月前
住友電工ハードメタル株式会社
ドリル
11か月前
住友電工ハードメタル株式会社
切削インサート
6か月前
住友電工ハードメタル株式会社
切削インサート
3か月前
住友電工ハードメタル株式会社
切削インサート
3か月前
続きを見る
他の意匠を見る