TOP
|
特許
|
意匠
|
商標
意匠ウォッチ
Twitter
他の意匠を見る
発行日
2025-11-11
公報種別
意匠公報(S)
登録番号
1812537
登録日
2025-10-31
意匠に係る物品
映像表示機用スタンド
意匠分類
D6
-513(室内整理用家具・用具)
出願番号
2025011593
出願日
2025-06-12
意匠権者
個人
代理人
個人
意匠に係る物品の説明
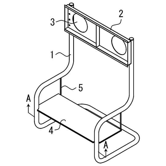
本物品は、液晶ディスプレイやプラズマディスプレイ等の映像表示機を設置するためのスタンドである。[各部の名称を示す参考図]に記載の符号を用いて説明すると、脚部分1は、金属製パイプを折り曲げてなるものである。金属プレート2は、脚部分1に固定されている。金属プレート2には大きな穴3が2か所に配置されており、金属プレート2に固定される映像表示機の配線やスピーカからの音が穴3から通るように構成されている。天板4は、例えばアクリルやガラスからなるものであり、その両側部が吊り棒5に載せられて吊られている。
意匠の説明
左側面図は右側面図と対称につき省略する。
この意匠をJ-PlatPat(特許庁公式サイト)で参照する
関連意匠
アンブラ エルエルシー
棚
3か月前
株式会社カインズ
棚
11か月前
株式会社カインズ
棚
5か月前
株式会社カインズ
棚
11か月前
株式会社イトーキ
棚
8か月前
株式会社カインズ
棚
5か月前
株式会社カインズ
棚
11か月前
株式会社カインズ
棚
11か月前
イデア 株式会社
棚
9か月前
株式会社イトーキ
棚
8か月前
株式会社カインズ
棚
8か月前
株式会社カインズ
棚
11か月前
株式会社カインズ
棚
6か月前
株式会社カインズ
棚
1か月前
株式会社カインズ
棚
5か月前
株式会社イトーキ
棚
11か月前
株式会社カインズ
棚
1か月前
株式会社カインズ
棚
6か月前
株式会社カインズ
棚
11か月前
株式会社イトーキ
棚
11か月前
株式会社イクロス
棚
7か月前
株式会社カインズ
棚
6か月前
株式会社カインズ
棚
6か月前
景寧美格科技服務有限公司
戸棚
11か月前
株式会社エトウ
本棚
6か月前
個人
本棚
10か月前
株式会社エトウ
本棚
6か月前
筑波国際交易有限会社
花台
4か月前
株式会社オカムラ
ワゴン
8か月前
株式会社オカムラ
整理棚
8か月前
広州市携領貿易有限公司
フック
8か月前
株式会社オカムラ
整理棚
8か月前
株式会社オカムラ
整理棚
8か月前
株式会社オカムラ
整理棚
8か月前
株式会社エア・リゾーム
収納棚
3か月前
コクヨ株式会社
ワゴン
2か月前
続きを見る
他の意匠を見る