TOP
|
特許
|
意匠
|
商標
意匠ウォッチ
Twitter
他の意匠を見る
発行日
2025-09-01
公報種別
意匠公報(S)
登録番号
1723312
登録日
2022-08-18
意匠に係る物品
収納棚
意匠分類
D6
-513(室内整理用家具・用具)
出願番号
2022002748
出願日
2022-02-14
意匠権者
株式会社エア・リゾーム
代理人
個人
意匠に係る物品の説明
この意匠に係る物品は、収納棚である。
意匠の説明
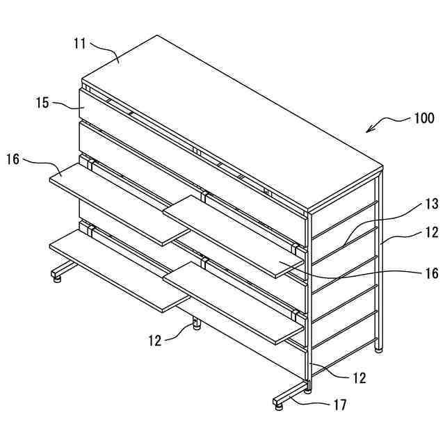
参考正面斜視図、参考背面斜視図及び使用状態図1に示すように、本意匠に係る物品(収納棚)は、ゴミ箱20を収納できるラックであり、天板11、支柱12、横棒13、可動棚14、背面板15、背面突出棚16、転倒防止支持部17から構成されている。使用状態図1に示すように、天板11には電子レンジ21(ポット22、容器23)などを配置でき、可動棚14の上には食器23、鍋24、カゴ26などを配置できる。横棒13にはフック29を付けて物品(手袋)25などをかけることができる。可動棚14は係合部19で横棒13に固定されている。使用状態図2は正面を示しており、可動棚14は正面図とは反対側(左側)に付け替えることができる。使用状態図3に示すように、背面突出棚16の上には物品(カップ)23などを配置することができ、背面突出棚16は係合部18で背面板15に固定されている。使用状態図4は背面を示しており、背面突出棚16は可動式であり、背面図とは異なる配置に変更することができる。
この意匠をJ-PlatPat(特許庁公式サイト)で参照する
関連意匠
株式会社エア・リゾーム
5か月前
株式会社エア・リゾーム
収納棚
1か月前
株式会社エア・リゾーム
収納棚
2か月前
株式会社イトーキ
棚
7か月前
株式会社カインズ
棚
11か月前
株式会社カインズ
棚
22日前
株式会社カインズ
棚
22日前
株式会社カインズ
棚
11か月前
株式会社カインズ
棚
11か月前
株式会社カインズ
棚
8か月前
株式会社カインズ
棚
5か月前
株式会社カインズ
棚
11か月前
株式会社カインズ
棚
6か月前
株式会社カインズ
棚
5か月前
株式会社カインズ
棚
11か月前
株式会社カインズ
棚
5か月前
株式会社カインズ
棚
5か月前
株式会社カインズ
棚
5か月前
株式会社イトーキ
棚
11か月前
株式会社イトーキ
棚
11か月前
株式会社カインズ
棚
6か月前
株式会社カインズ
棚
11か月前
アンブラ エルエルシー
棚
2か月前
イデア 株式会社
棚
9か月前
株式会社イクロス
棚
6か月前
株式会社イトーキ
棚
7か月前
株式会社エトウ
本棚
6か月前
個人
本棚
9か月前
株式会社エトウ
本棚
6か月前
景寧美格科技服務有限公司
戸棚
10か月前
筑波国際交易有限会社
花台
4か月前
個人
収納箱
8か月前
広州市携領貿易有限公司
フック
8か月前
株式会社オカムラ
ワゴン
8か月前
有限会社ヨコタウッドワーク
収納棚
7か月前
個人
整理棚
9か月前
続きを見る
他の意匠を見る