TOP
|
特許
|
意匠
|
商標
意匠ウォッチ
Twitter
他の意匠を見る
発行日
2025-03-21
公報種別
意匠公報(S)
登録番号
1794055
登録日
2025-03-12
意匠に係る物品
整理棚
意匠分類
D6
-510(室内整理用家具・用具)
出願番号
2024021241
出願日
2024-10-11
意匠権者
株式会社オカムラ
代理人
意匠に係る物品の説明
意匠の説明
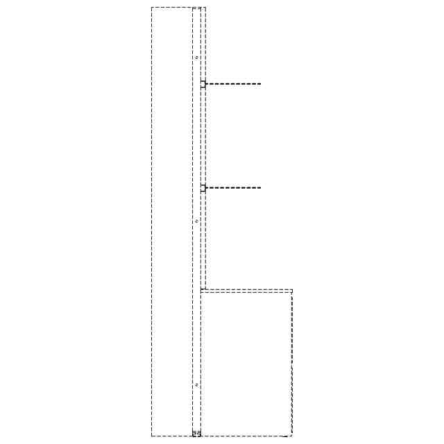
左側面図は右側面図と対称にあらわれるため省略する。実線で示した部分が、部分意匠として意匠登録を受けようとする部分である。一点鎖線は部分意匠として意匠登録を受けようとする部分とその他の部分との境界のみを示す線である。
この意匠をJ-PlatPat(特許庁公式サイト)で参照する
関連意匠
株式会社オカムラ
いす
8か月前
株式会社オカムラ
いす
6か月前
株式会社オカムラ
いす
7か月前
株式会社オカムラ
いす
7か月前
株式会社オカムラ
いす
6か月前
株式会社オカムラ
机
9か月前
株式会社オカムラ
いす
6か月前
株式会社オカムラ
いす
6か月前
株式会社オカムラ
いす
6か月前
株式会社オカムラ
いす
6か月前
株式会社オカムラ
いす
6か月前
株式会社オカムラ
いす
7か月前
株式会社オカムラ
机
9か月前
株式会社オカムラ
いす
6か月前
株式会社オカムラ
机
9か月前
株式会社オカムラ
いす
3か月前
株式会社オカムラ
いす
6か月前
株式会社オカムラ
机
4か月前
株式会社オカムラ
いす
6か月前
株式会社オカムラ
いす
6か月前
株式会社オカムラ
机
9か月前
株式会社オカムラ
いす
8か月前
株式会社オカムラ
いす
6か月前
株式会社オカムラ
いす
7か月前
株式会社オカムラ
いす
8か月前
株式会社オカムラ
いす
8か月前
株式会社オカムラ
いす
7か月前
株式会社オカムラ
いす
7か月前
株式会社オカムラ
いす
7か月前
株式会社オカムラ
机
8か月前
株式会社オカムラ
いす
8か月前
株式会社オカムラ
いす
8か月前
株式会社オカムラ
いす
7か月前
株式会社オカムラ
机
8か月前
株式会社オカムラ
長いす
9か月前
株式会社オカムラ
ベンチ
7か月前
続きを見る
他の意匠を見る