TOP
|
特許
|
意匠
|
商標
意匠ウォッチ
Twitter
他の意匠を見る
発行日
2025-11-10
公報種別
意匠公報(S)
登録番号
1812478
登録日
2025-10-30
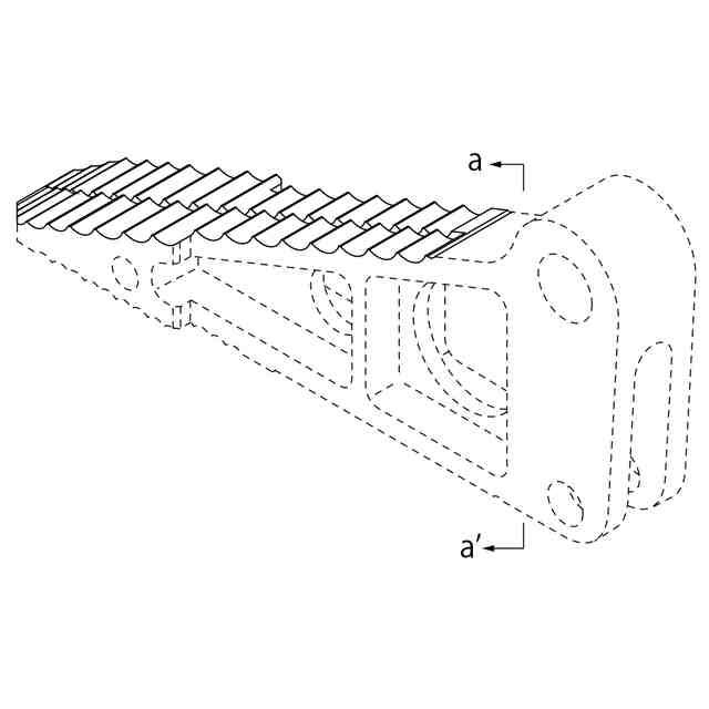
意匠に係る物品
スプレッダー用アーム
意匠分類
K1
-390(利器及び工具)
出願番号
2025013293
出願日
2025-07-03
意匠権者
株式会社オグラ
代理人
弁理士法人RIN IP Partners
,
個人
意匠に係る物品の説明
本物品は、使用状態を示す参考図の通り、対象物を挟んで潰す、または重量物などの隙間を押し広げる機能を持つスプレッダーに取り付けられるアームであり、左右一対で使用される。アーム外側に設けた波形状の凸凹を上下2分割し、上下の頂部を互いにずらして配置することで、押し広げる際の滑り防止効果を高めている。
意匠の説明
実線で表された部分が、部分意匠として意匠登録を受けようとする部分である。
この意匠をJ-PlatPat(特許庁公式サイト)で参照する
関連意匠
株式会社オグラ
スプレッダー用アーム
今日
株式会社オグラ
携帯動力工具用ロック部材
今日
株式会社ヒカリ
鋏
1か月前
株式会社ローレル・ジャパン
鋏
5か月前
個人
鏝
3か月前
キング砥石株式会社
砥石
7か月前
株式会社ワークス松下
定規
4か月前
株式会社アマダ
金型
6か月前
株式会社アマダ
金型
6か月前
株式会社オカムラ
作業台
4か月前
住友電工ハードメタル株式会社
ドリル
4か月前
株式会社バシーン・インターナショナル
ペンチ
2か月前
住友電工ハードメタル株式会社
ドリル
7か月前
コクヨ株式会社
はさみ
11か月前
コクヨ株式会社
はさみ
11か月前
ネグロス電工株式会社
やすり
11か月前
株式会社彌満和製作所
ドリル
11か月前
株式会社レイメイ藤井
ハサミ
1か月前
住友電工ハードメタル株式会社
ドリル
7か月前
住友電工ハードメタル株式会社
ドリル
7か月前
個人
はさみ
4か月前
上海晨光文具フェン有限公司
はさみ
5か月前
株式会社オカムラ
作業台
4か月前
上海晨光文具フェン有限公司
はさみ
5か月前
上海晨光文具フェン有限公司
はさみ
5か月前
株式会社バシーン・インターナショナル
ペンチ
2か月前
住友電工ハードメタル株式会社
ドリル
4か月前
ベンチメイド ナイフ カンパニー インコーポレイテッド
ナイフ
5か月前
株式会社アールティ
作業台
12か月前
株式会社アールティ
作業台
12か月前
株式会社アールティ
作業台
12か月前
株式会社イチネンアクセス
リーマ
12か月前
株式会社バシーン・インターナショナル
ペンチ
2か月前
コクヨ株式会社
はさみ
11か月前
明欣國際有限公司
工具箱
6か月前
深セン市愛倍特電子商務有限公司
砥石台
11か月前
続きを見る
他の意匠を見る