TOP
|
特許
|
意匠
|
商標
意匠ウォッチ
Twitter
他の意匠を見る
発行日
2025-11-10
公報種別
意匠公報(S)
登録番号
1812474
登録日
2025-10-30
意匠に係る物品
エアポンプ用ノズル
意匠分類
K8
-690(動力機械器具、ポンプ、圧縮機、送風機等)
出願番号
2025012118
出願日
2025-06-19
意匠権者
エレコム株式会社
代理人
弁理士法人藤本パートナーズ
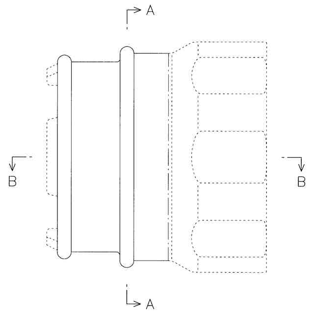
意匠に係る物品の説明
この意匠に係る物品は、使用状態を示す各参考図に示すように、エアポンプに取り付けて使用するものであり、例えば、エアーマットに空気を充填または排出する際に用いられるものである。また、この意匠に係る物品は、外径部及び内径部に取付段差を設けることにより、種々の空気口に接続することができるものである。
意匠の説明
実線であらわした部分が、意匠登録を受けようとする部分である。一点鎖線は意匠登録を受けようとする部分とその他の部分の境界のみを示す線である。斜視図、端面図及び断面図を含めて意匠登録を受けようとする部分を特定している。背面図は正面図と対称に、底面図は平面図と同一にあらわれる。
意匠ウォッチbot のツイートを見る
この意匠をJ-PlatPat(特許庁公式サイト)で参照する
関連意匠
エレコム株式会社
かばん
6か月前
エレコム株式会社
かばん
4か月前
エレコム株式会社
かばん
6か月前
エレコム株式会社
かばん
6か月前
エレコム株式会社
かばん
6か月前
エレコム株式会社
かばん
4か月前
エレコム株式会社
かばん
4か月前
エレコム株式会社
かばん
2か月前
エレコム株式会社
かばん
2か月前
エレコム株式会社
ガス検知器
2か月前
エレコム株式会社
ガス検知器
2か月前
エレコム株式会社
テーブルタップ
1か月前
エレコム株式会社
バッテリー
5か月前
エレコム株式会社
バッテリー
5か月前
エレコム株式会社
バッテリー
11か月前
エレコム株式会社
電気調理器
6か月前
エレコム株式会社
電気調理器
6か月前
エレコム株式会社
電源アダプター
9か月前
エレコム株式会社
タッチペン用デバイス
8か月前
エレコム株式会社
通信機器用取付金具
12か月前
エレコム株式会社
ケーブル保持具
6か月前
エレコム株式会社
保護カバー付き電子機器用ケーブル
4か月前
エレコム株式会社
エアポンプ
4か月前
エレコム株式会社
エアポンプ用ノズル
28日前
エレコム株式会社
エアポンプ用ノズル
4か月前
エレコム株式会社
エアポンプ用ノズル
28日前
エレコム株式会社
エアポンプ用ノズル
28日前
パーパス株式会社
給湯器
11か月前
三菱重工業株式会社
バーナ
1か月前
三菱電機株式会社
送風機
3か月前
三菱重工業株式会社
バーナ
1か月前
三菱重工サーマルシステムズ株式会社
圧縮機
1か月前
パーパス株式会社
給湯器
11か月前
三菱重工サーマルシステムズ株式会社
圧縮機
3か月前
株式会社日本イトミック
湯沸器
1か月前
個人
送風機
10か月前
続きを見る
他の意匠を見る