TOP特許意匠商標
意匠ウォッチ Twitter
発行日2025-10-22
公報種別意匠公報(S)
登録番号1811174
登録日2025-10-14
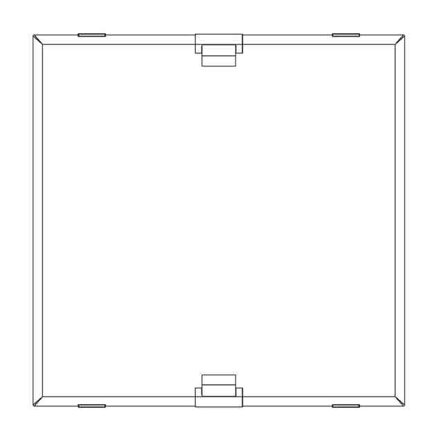
意匠に係る物品Magnetic closing flap for shelf units
意匠分類D9-13(住宅設備用品汎用部品及び付属品)
出願番号2024504079
出願日
意匠権者USM U. Scharer Sohne AG
代理人
意匠に係る物品の説明
意匠の説明The back view is identical to the front view of fig. 1.3 and thus omitted; the bottom view is identical to the top view of fig. 1.4 and thus omitted. 1.1)Perspective; 1.2)Perspective; 1.3)Front; 1.4)Top; 1.5)left/right view (identical)
この意匠をJ-PlatPat(特許庁公式サイト)で参照する

関連意匠

USM U. Scharer Sohne AG
Magnetic closing flap for shelf units
1か月前
USM U. Scharer Sohne AG
Magnetic closing flap for shelf units
1か月前
スガツネ工業株式会社
棚受
2か月前
株式会社セラタ
棚柱
3か月前
スガツネ工業株式会社
棚受
2か月前
株式会社ミラタップ
棚板
3か月前
スガツネ工業株式会社
棚受
2か月前
株式会社カインズ
棚板
14日前
株式会社サヌキ
棚受具
8か月前
株式会社ウッドワン
棚受け
9か月前
株式会社ウッドワン
棚受け
9か月前
株式会社サヌキ
棚受具
8か月前
個人
収納家具
11か月前
個人
テーブル
1か月前
クリナップ株式会社
家具用扉
9か月前
クリナップ株式会社
家具用扉
1か月前
クリナップ株式会社
家具用扉
3か月前
TOTO株式会社
家具用扉
5か月前
タカラスタンダード株式会社
家具用扉
6か月前
クリナップ株式会社
家具用扉
3か月前
株式会社オカムラ
家具用脚
7か月前
クリナップ株式会社
家具用扉
3か月前
クリナップ株式会社
家具用扉
3か月前
ケイ・ジー・ワイ工業株式会社
棚受け具
11か月前
トクラス株式会社
家具用扉
10か月前
トクラス株式会社
家具用扉
8か月前
株式会社カインズ
連結部品
25日前
平安伸銅工業株式会社
柱材支持具
5か月前
株式会社オカムラ
家具用棚板
7か月前
平安伸銅工業株式会社
柱材支持具
5か月前
三菱地所レジデンス株式会社
物品保持板
7か月前
平安伸銅工業株式会社
柱材支持具
5か月前
ユリウス ブルーム ゲー・エム・ベー・ハー
家具用部品
5か月前
江蘇居友智能家居用品有限公司
家具用部品
29日前
江蘇居友智能家居用品有限公司
家具用部品
29日前
株式会社コジマ
家具用脚座
2か月前
続きを見る