TOP
|
特許
|
意匠
|
商標
意匠ウォッチ
Twitter
他の意匠を見る
発行日
2025-10-22
公報種別
意匠公報(S)
登録番号
1811084
登録日
2025-10-14
意匠に係る物品
自動車用ごみ箱
意匠分類
C3
-3700(清掃用具、洗濯用具等)
出願番号
2025009411
出願日
2025-05-14
意匠権者
槌屋ヤック株式会社
代理人
弁理士法人光陽国際特許事務所
意匠に係る物品の説明
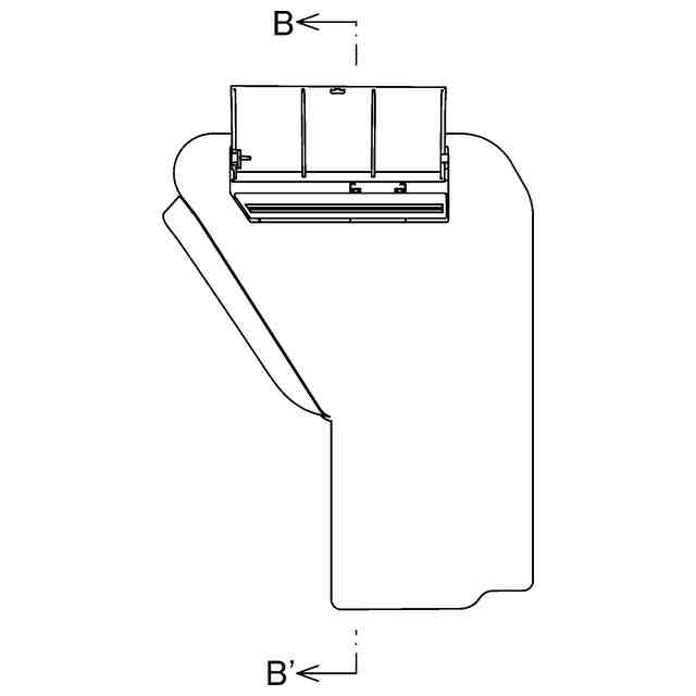
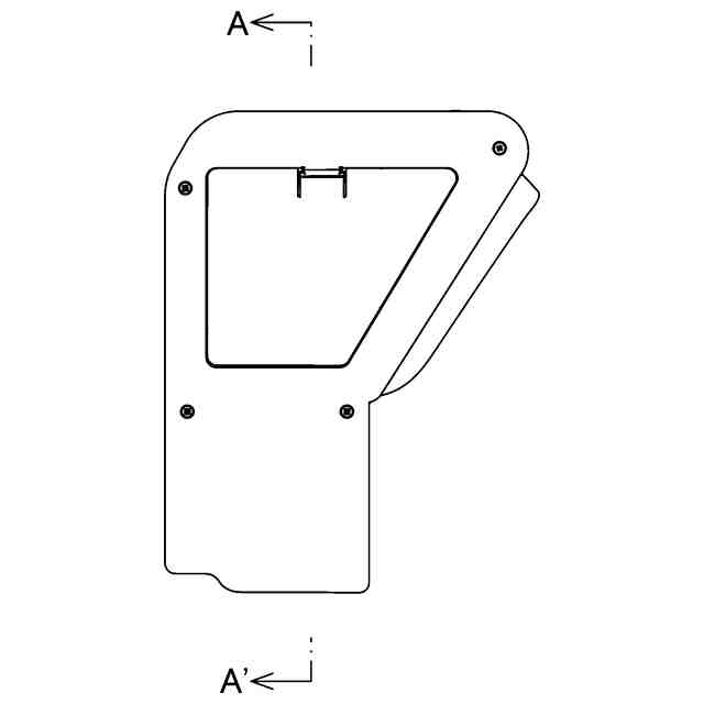
本物品は、自動車の車内に設置される自動車用ごみ箱であり、開閉蓋部を開いた状態を示す参考斜視図に示されるように、内部にごみ収容空間が形成されたごみ箱本体部と、ごみ箱本体部の上面及び正面の一部に開口し、ごみの投入が可能な開口部と、開口部を開閉可能とする開閉蓋部とを主に具備する。部材名称を示す参考平面図及び裏蓋部を外した状態を示す参考背面図に示されるように、ごみ箱本体部の背面側には裏蓋部が嵌合されており、当該裏蓋部を外すことにより、背面開口部が露出し、ごみ収容空間に溜まったごみを背面開口部から取り出すことができる。
意匠の説明
この意匠をJ-PlatPat(特許庁公式サイト)で参照する
関連意匠
槌屋ヤック株式会社
車幅灯
8か月前
槌屋ヤック株式会社
車高灯
3か月前
槌屋ヤック株式会社
自動車用補助灯
3か月前
槌屋ヤック株式会社
ルアーハンガー
3か月前
槌屋ヤック株式会社
自動車用ごみ箱
1か月前
槌屋ヤック株式会社
車載用情報表示機用バイザー
9か月前
槌屋ヤック株式会社
自動車用飲料容器保持具
4か月前
槌屋ヤック株式会社
自動車用飲料容器保持具
4か月前
槌屋ヤック株式会社
自動車用スマートフォンホルダー
8か月前
槌屋ヤック株式会社
自動車用スマートフォンホルダー
10か月前
槌屋ヤック株式会社
車載用ワイヤレス充電器
6か月前
山崎実業株式会社
風呂桶
10か月前
レック株式会社
清掃具
5か月前
平和工業株式会社
ごみ箱
7か月前
エステー株式会社
ごみ袋
7か月前
エステー株式会社
ごみ袋
7か月前
エステー株式会社
ごみ袋
7か月前
青島海尓智慧生活電器有限公司
掃除機
7か月前
蘇州市小的宝電器有限公司
掃除機
7か月前
霜山株式会社
ゴミ箱
20日前
岩谷マテリアル株式会社
ごみ箱
1か月前
東芝ライフスタイル株式会社
洗濯機
6か月前
株式会社テラモト
支持体
6か月前
株式会社本荘興産
洗車具
6か月前
株式会社テラモト
ごみ箱
1か月前
株式会社テラモト
ごみ箱
1か月前
アイリスオーヤマ株式会社
洗濯機
5か月前
深せん市日達特電子有限公司
モップ
5か月前
個人
収集機
8か月前
株式会社オーエ
洗浄具
5か月前
レックライセンス株式会社
清掃具
5か月前
株式会社プロスタッフ
清掃具
5か月前
アキレス株式会社
洗浄具
5か月前
株式会社ニトムズ
清掃具
5か月前
株式会社ニトムズ
清掃具
5か月前
モア ザン アイディアズ エルエルシー
ごみ箱
1か月前
続きを見る
他の意匠を見る