TOP
|
特許
|
意匠
|
商標
意匠ウォッチ
Twitter
他の意匠を見る
発行日
2025-10-22
公報種別
意匠公報(S)
登録番号
1811059
登録日
2025-10-14
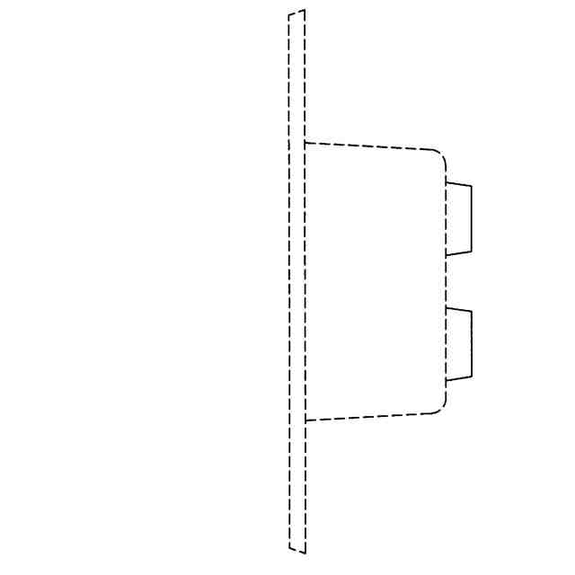
意匠に係る物品
感知器用気密カバー
意匠分類
H2
-42390(回転電気機械、配電機械器具)
出願番号
2025004398
出願日
2025-03-06
意匠権者
ネグロス電工株式会社
代理人
個人
,
個人
意匠に係る物品の説明
本物品は、例えばクリーンルームの天井面などに配置する感知器に組み込むことで、浮遊塵等の流入、室内気圧の漏出等を防止する。また、薄肉状に形成した二重構造の大小異径のケーブル挿入筒を底部に設けてあり、シースの有無によって径が異なるケーブルを、これに対応して選択したケーブル挿入筒それぞれに突き破って挿入させることでその外周縁面にケーブル挿入筒が密着されると共に、すり鉢状の窪みがあることで気密性を向上させるシール剤の塗布を容易にしている。
意匠の説明
実線で表した部分が、部分意匠として意匠登録を受けようとする部分である。
この意匠をJ-PlatPat(特許庁公式サイト)で参照する
関連意匠
ネグロス電工株式会社
やすり
12か月前
ネグロス電工株式会社
取付具
9か月前
ネグロス電工株式会社
取付具
9か月前
ネグロス電工株式会社
インサート
5か月前
ネグロス電工株式会社
インサート
5か月前
ネグロス電工株式会社
単管パイプ用取付金具
3か月前
ネグロス電工株式会社
ターンバックル
7か月前
ネグロス電工株式会社
フレーム
4か月前
ネグロス電工株式会社
カバールーフ用各種部材の取付金具
5か月前
ネグロス電工株式会社
継ぎ金具
2か月前
ネグロス電工株式会社
カバールーフ用各種部材の取付金具
5か月前
ネグロス電工株式会社
感知器用気密カバー
27日前
ネグロス電工株式会社
感知器用気密カバー
27日前
株式会社イチネンアクセス
ハンマー
6か月前
ネグロス電工株式会社
鳥獣害防止プレート
2か月前
ネグロス電工株式会社
鳥獣害防止プレート
2か月前
ネグロス電工株式会社
鳥獣害防止プレート
2か月前
ネグロス電工株式会社
鳥獣害防止プレート
2か月前
ネグロス電工株式会社
鳥獣害防止プレート
2か月前
ネグロス電工株式会社
鳥獣害防止プレート
2か月前
ネグロス電工株式会社
アングル材用配管支持受け具
9か月前
ネグロス電工株式会社
クリーンルーム内配管用化粧カバー
4か月前
RENON POWER 株式会社
蓄電器
4か月前
安克創新科技股ふん有限公司
充電器
5か月前
深せん英派森科技有限公司
充電器
3か月前
東莞市安聚電子科技有限公司
充電器
8か月前
RENON POWER 株式会社
蓄電器
4か月前
デンヨー株式会社
発電機
11か月前
ホシデン株式会社
充電器
2か月前
パナソニックIPマネジメント株式会社
蓄電池
11か月前
パナソニックIPマネジメント株式会社
分電盤
11か月前
深セン市緑聯科技股フン有限公司
充電器
2か月前
深セン市緑聯科技股フン有限公司
充電器
2か月前
深せん市藍禾技術有限公司
充電器
11か月前
トヨタ自動車株式会社
充電器
2か月前
東莞市宝らい珀通訊科技有限公司
充電器
9か月前
続きを見る
他の意匠を見る