TOP
|
特許
|
意匠
|
商標
意匠ウォッチ
Twitter
他の意匠を見る
発行日
2025-10-14
公報種別
意匠公報(S)
登録番号
1810558
登録日
2025-10-03
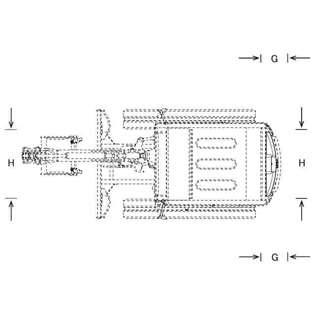
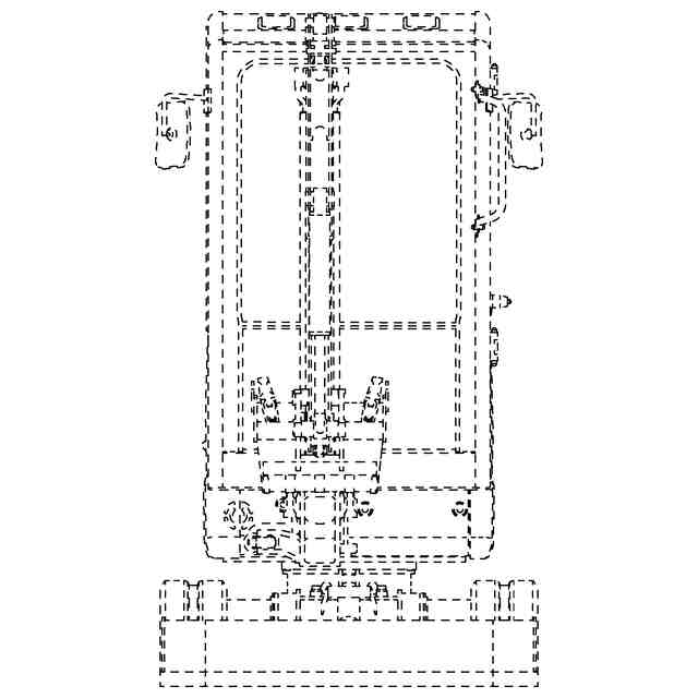
意匠に係る物品
バックホー
意匠分類
K3
-3211(農業用機械器具、鉱山機械、建設機械等)
出願番号
2025006361
出願日
2025-03-28
意匠権者
株式会社クボタ
,
KUBOTA CORPORATION
代理人
安田岡本弁理士法人
意匠に係る物品の説明
機体後部の実線で示した部分は、グリスガンを収容可能なケースである。
意匠の説明
本物品は重量物であるため、底面図は省略する。実線で表した部分が意匠登録を受けようとする部分である。各図に表れる途切れた線は、立体表面の形状を表すための線である。
この意匠をJ-PlatPat(特許庁公式サイト)で参照する
関連意匠
株式会社クボタ
3か月前
株式会社クボタ
作業車
1か月前
株式会社クボタ
トラクター
1か月前
株式会社クボタ
トラクター
1か月前
株式会社クボタ
トラクター
2か月前
株式会社クボタ
トラクター
2か月前
株式会社クボタ
トラクター
2か月前
株式会社クボタ
トラクター
2か月前
株式会社クボタ
トラクター
1か月前
株式会社クボタ
作業機用照明器具
7か月前
株式会社クボタ
施設管理システム用画像
8か月前
株式会社クボタ
施設管理システム用画像
8か月前
株式会社クボタ
施設管理システム用画像
8か月前
株式会社クボタ
施設管理システム用画像
8か月前
株式会社クボタ
施設管理システム用画像
8か月前
株式会社クボタ
施設管理システム用画像
8か月前
株式会社クボタ
施設管理システム用画像
8か月前
株式会社クボタ
作業機用キャビン
6か月前
株式会社クボタ
作業機用キャビン
6か月前
株式会社クボタ
作業機用ヘッドライト
7か月前
株式会社クボタ
作業機用ボンネット
6か月前
株式会社クボタ
作業機用ボンネット
6か月前
株式会社クボタ
作業機用ボンネット
10か月前
株式会社クボタ
ラベル
6か月前
株式会社クボタ
作業機の操作レバー用グリップ
4か月前
株式会社クボタ
作業機の操作レバー用グリップ
4か月前
株式会社クボタ
作業機の操作レバー用グリップ
5か月前
株式会社クボタケミックス
電気融着継手
6か月前
株式会社クボタケミックス
電気融着継手
7か月前
株式会社クボタケミックス
電気融着継手
7か月前
株式会社クボタケミックス
電気融着継手
6か月前
株式会社クボタ
バックホー
1か月前
株式会社クボタ
バックホー
1か月前
株式会社クボタ
バックホー
8か月前
株式会社クボタ
バックホー
1か月前
株式会社クボタ
バックホー
1か月前
続きを見る
他の意匠を見る