TOP
|
特許
|
意匠
|
商標
意匠ウォッチ
Twitter
他の意匠を見る
発行日
2025-09-19
公報種別
意匠公報(S)
登録番号
1808836
登録日
2025-09-10
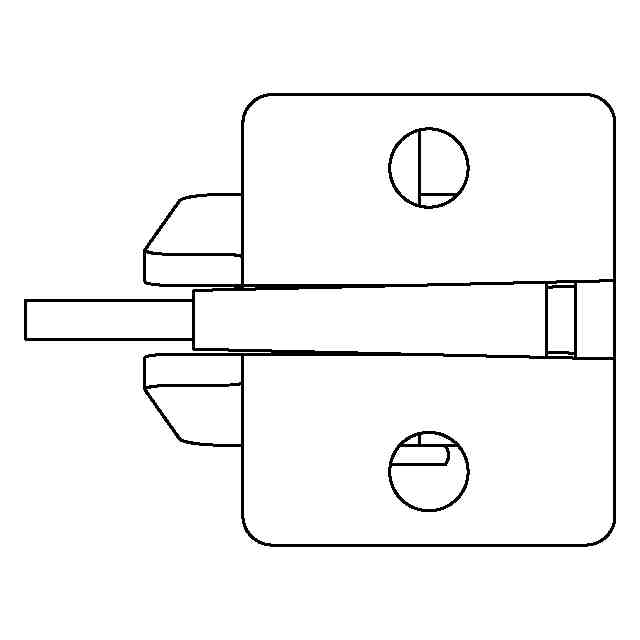
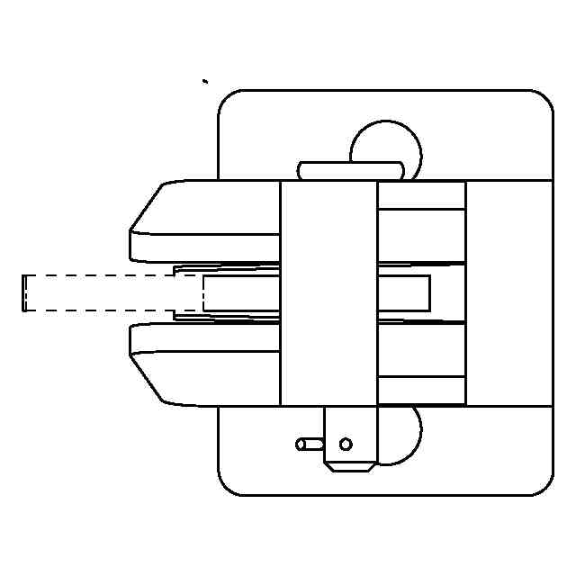
意匠に係る物品
グレーチング固定具
意匠分類
L2
-4121(土木構造物及び土木用品)
出願番号
2025012839
出願日
2025-06-27
意匠権者
株式会社淀川製鋼所
代理人
個人
,
個人
意匠に係る物品の説明
本物品は、側溝等のグレーチングを固定し、外れにくくするための金具である。使用時には、本物品の固定部が軸ピンを中心に回動し、側溝内周面に上方から沿って固定する。
意匠の説明
実線で表された部分が意匠登録を受けようとする部分である。一点鎖線は部分意匠として意匠登録を受けようとする部分とその他の部分との境界のみを示す線である。
この意匠をJ-PlatPat(特許庁公式サイト)で参照する
関連意匠
株式会社淀川製鋼所
屋根板取付金具
2か月前
株式会社淀川製鋼所
屋根板取付金具
2か月前
株式会社淀川製鋼所
屋根板取付金具
2か月前
株式会社淀川製鋼所
屋根板取付金具
2か月前
株式会社淀川製鋼所
建築用外壁板材
5か月前
株式会社淀川製鋼所
建築用外壁板材
5か月前
株式会社淀川製鋼所
建築用外壁板材
5か月前
株式会社淀川製鋼所
建築用外壁板材
5か月前
株式会社淀川製鋼所
収納庫
6か月前
株式会社淀川製鋼所
グレーチング固定具
2か月前
株式会社淀川製鋼所
グレーチング固定具用金具
2か月前
株式会社淀川製鋼所
グレーチング固定具用金具
2か月前
株式会社トーキンオール
鋼管
6か月前
理研興業株式会社
防雪板
11か月前
四国プランニング株式会社
止水板
11か月前
株式会社サンゲツ
排水具
8か月前
株式会社大林組
藻場礁
9か月前
株式会社大林組
藻場礁
9か月前
フジ鋼業株式会社
止水体
7か月前
前田工繊株式会社
支圧板
1か月前
株式会社カクマル
境界杭
10か月前
共和ハーモテック株式会社
かご枠
10か月前
株式会社大林組
植栽帯
4か月前
四国プランニング株式会社
止水板
11か月前
株式会社サンゲツ
排水具
8か月前
理研興業株式会社
防雪板
7か月前
首都高メンテナンス東東京株式会社
足場板
1か月前
理研興業株式会社
防雪板
11か月前
理研興業株式会社
防雪板
11か月前
理研興業株式会社
防雪板
11か月前
日工株式会社
防水板
1か月前
首都高メンテナンス東東京株式会社
足場板
1か月前
理研興業株式会社
防雪板
11か月前
日工株式会社
防水板
1か月前
理研興業株式会社
防雪板
7か月前
未来工業株式会社
分水栓
1か月前
続きを見る
他の意匠を見る