TOP
|
特許
|
意匠
|
商標
意匠ウォッチ
Twitter
他の意匠を見る
発行日
2025-09-05
公報種別
意匠公報(S)
登録番号
1807884
登録日
2025-08-28
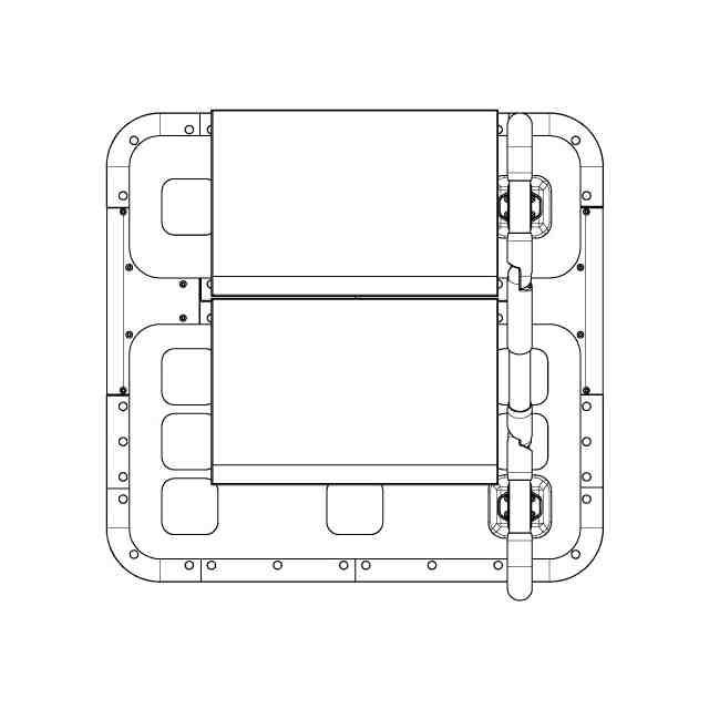
意匠に係る物品
段差用手すり
意匠分類
L3
-5300(組立て家屋、屋外装備品等)
出願番号
2024015276
出願日
2024-07-24
意匠権者
フランスベッド株式会社
代理人
意匠に係る物品の説明
本物品は、段差のある場所に設置して、歩行を補助するために使用する片側用手すりである。手すりは左右どちらでも取り付けが可能である。本物品は、着脱可能な踏み台を取り付けて使用する。
意匠の説明
意匠ウォッチbot のツイートを見る
この意匠をJ-PlatPat(特許庁公式サイト)で参照する
関連意匠
フランスベッド株式会社
椅子
2日前
フランスベッド株式会社
椅子
4か月前
フランスベッド株式会社
ベッド
1か月前
フランスベッド株式会社
ベッド用ヘッドボード
10か月前
フランスベッド株式会社
ベッド用ヘッドボード
10か月前
フランスベッド株式会社
クッション
5か月前
フランスベッド株式会社
クッション
5か月前
フランスベッド株式会社
段差用手すり
1か月前
フランスベッド株式会社
段差用手すり
1か月前
フランスベッド株式会社
段差用手すり
6か月前
フランスベッド株式会社
屋内据置手すり
2日前
フランスベッド株式会社
歩行補助手すり
1か月前
フランスベッド株式会社
歩行補助手すり
1か月前
フランスベッド株式会社
歩行補助手すり
1か月前
フランスベッド株式会社
歩行補助手すり
1か月前
フランスベッド株式会社
歩行器用買い物カゴずれ止めストッパー
5か月前
株式会社大林組
柵
1か月前
株式会社LIXIL
門
19日前
株式会社LIXIL
門
19日前
株式会社LIXIL
門
19日前
株式会社LIXIL
門
19日前
YKK AP株式会社
門塀
1か月前
YKK AP株式会社
門扉
1か月前
トヨタホーム株式会社
住宅
6か月前
旭化成ホームズ株式会社
住宅
6か月前
野村不動産株式会社
住宅
10か月前
旭化成ホームズ株式会社
住宅
11か月前
石友ホーム株式会社
住宅
11か月前
YKK AP株式会社
門扉
1か月前
旭化成ホームズ株式会社
住宅
1か月前
YKK AP株式会社
門塀
1か月前
個人
住宅
11か月前
旭化成ホームズ株式会社
住宅
10か月前
グローバルホールディングス株式会社
住宅
11か月前
ほそ川建設株式会社
住宅
11か月前
石友ホーム株式会社
住宅
11か月前
続きを見る
他の意匠を見る