TOP特許意匠商標
意匠ウォッチ Twitter
発行日2025-08-26
公報種別意匠公報(S)
登録番号1807073
登録日2025-08-18
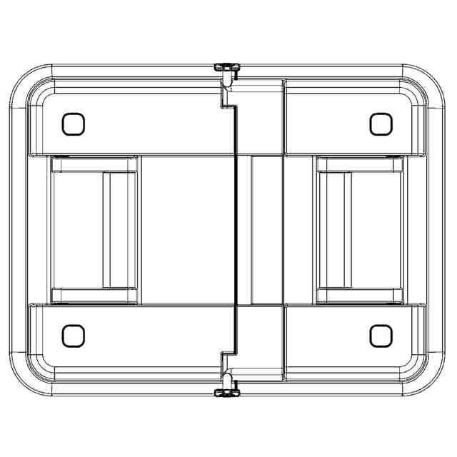
意匠に係る物品Food storage container
意匠分類C5-3200(飲食用容器又は調理用容器)
出願番号2023503228
出願日
意匠権者ESG TECH CO., LTD.,KMF CO., LTD.,Hyunwoo GU
代理人
意匠に係る物品の説明
意匠の説明1. It is a food storage container and consists of a cover and main body. 2. There is a rotational operation member that connects the main body and the cover at the center of the upper surface of the cover. 3. Handles are provided on both sides of the top of the cover. 4. The material is plastic, a composite of plastic and rubber materials. 5. The cover has a structure that can be folded and unfolded at a certain angle based on the center. 1.1)Perspective; 1.2)Front; 1.3)Back; 1.4)Left; 1.5)Right; 1.6)Top; 1.7)Bottom
この意匠をJ-PlatPat(特許庁公式サイト)で参照する

関連意匠

ESG TECH CO., LTD.
Food storage container
3か月前
株式会社LIV PLUS
1か月前
株式会社トヨトミ
7日前
株式会社カインズ
8か月前
株式会社ムロコーポレーション
12か月前
山梨県
6か月前
株式会社トレードワン
11か月前
株式会社LIV PLUS
1か月前
株式会社丸山技研
6か月前
モザンビーク株式会社
3か月前
株式会社 ゼンショーホールディングス
7か月前
株式会社カインズ
7か月前
アルフォーインターナショナル株式会社
21日前
個人
7日前
株式会社カインズ
7か月前
株式会社ジェイエイチキュー
3か月前
個人
10か月前
個人
8か月前
株式会社KY7
容器
10か月前
株式会社キントー
水筒
7か月前
奔邁(上海)国際貿易有限公司
水筒
8か月前
奔邁(上海)国際貿易有限公司
水筒
12か月前
パシフィック マーケット インターナショナル エルエルシー
容器
2か月前
株式会社すすむ商店
急須
10か月前
個人
水筒
6か月前
株式会社KY7
容器
10か月前
スワンソン テクノロジーズ コーポレーション
水筒
6か月前
株式会社ニトリホールディングス
鍋蓋
4か月前
スワンソン テクノロジーズ コーポレーション
水筒
6か月前
株式会社KY7
容器
10か月前
奔邁(上海)国際貿易有限公司
水筒
6か月前
パシフィック マーケット インターナショナル エルエルシー
容器
2か月前
有限会社瀬川興業
重箱
7か月前
池田物産株式会社
急須
7か月前
株式会社AZAYAKA JAPAN
土鍋
3か月前
HARIO株式会社
急須
1か月前
続きを見る