TOP
|
特許
|
意匠
|
商標
意匠ウォッチ
Twitter
他の意匠を見る
発行日
2025-08-22
公報種別
意匠公報(S)
登録番号
1806853
登録日
2025-08-14
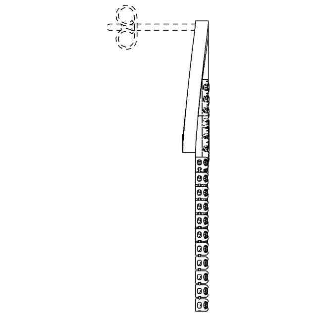
意匠に係る物品
耳飾り
意匠分類
B3
-25(身の回り品)
出願番号
2025005013
出願日
2025-03-13
意匠権者
株式会社アーカー
代理人
弁理士法人三枝国際特許事務所
意匠に係る物品の説明
意匠の説明
実線で表した部分が部分意匠として意匠登録を受けようとする部分である。一点鎖線は意匠登録を受けようとする部分とその他の部分との境界のみを示す線である。
意匠ウォッチbot のツイートを見る
この意匠をJ-PlatPat(特許庁公式サイト)で参照する
関連意匠
株式会社アーカー
耳飾り
2か月前
株式会社アーカー
指輪
2か月前
株式会社アーカー
耳飾り
2か月前
株式会社アーカー
耳飾り
2か月前
株式会社アーカー
耳飾り
2か月前
株式会社アーカー
耳飾り
2か月前
株式会社アーカー
指輪
10か月前
株式会社アーカー
耳飾り
2か月前
株式会社アーカー
首飾り
2か月前
株式会社アーカー
耳飾り
2か月前
株式会社アーカー
指輪
2か月前
株式会社アーカー
耳飾り
2か月前
株式会社アーカー
耳飾り
2か月前
株式会社アーカー
首飾り
2か月前
株式会社アーカー
耳飾り
2か月前
株式会社アーカー
指輪
2か月前
株式会社アーカー
ペンダント
2か月前
株式会社アーカー
ペンダント
2か月前
株式会社アーカー
ブレスレット
2か月前
株式会社アーカー
ブレスレット
11か月前
株式会社フェリシモ
傘
7か月前
シュポーン株式会社
杖
7か月前
シュポーン株式会社
杖
7か月前
クリスチャン ディオール クチュール
指輪
11か月前
ディータ インコーポレイテッド
眼鏡
3か月前
リシュモン アンテルナシオナル ソシエテ アノニム
指輪
11か月前
リシュモン アンテルナシオナル ソシエテ アノニム
指輪
11か月前
株式会社FUJIKON HOLDINGS
眼鏡
3か月前
グラフ ダイアモンズ リミテッド
指輪
6か月前
株式会社FUJIKON HOLDINGS
眼鏡
3か月前
個人
指輪
7か月前
リシュモン アンテルナシオナル ソシエテ アノニム
指輪
11か月前
ディータ インコーポレイテッド
眼鏡
3か月前
ディータ インコーポレイテッド
眼鏡
3か月前
ディータ インコーポレイテッド
眼鏡
3か月前
ディータ インコーポレイテッド
眼鏡
3か月前
続きを見る
他の意匠を見る