TOP
|
特許
|
意匠
|
商標
意匠ウォッチ
Twitter
他の意匠を見る
発行日
2025-08-07
公報種別
意匠公報(S)
登録番号
1805623
登録日
2025-07-30
意匠に係る物品
腰ベルト用金具
意匠分類
K1
-51(利器及び工具)
出願番号
2024018848
出願日
2024-09-12
意匠権者
株式会社エビス
代理人
個人
意匠に係る物品の説明
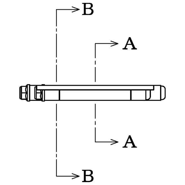
本物品は、参考正面図及び使用状態を示す参考図に図示したように、ベルト通し孔を設けたベルト装着部と、工具差し等を吊り下げ連結する連結杆を設けた連結部とからなる腰ベルト用金具である。本物品の高さは、約27cmであり、ベルト装着部の幅は、約8cmである。本物品は、アルミ製である。
意匠の説明
この意匠をJ-PlatPat(特許庁公式サイト)で参照する
関連意匠
株式会社エビス
腰ベルト用金具
7日前
株式会社エビス
腰ベルト用金具
28日前
株式会社エビス
腰ベルト用金具
28日前
株式会社エビス
腰ベルト用金具
2か月前
株式会社エビス
腰ベルト用金具
2か月前
株式会社エビス
水準器
10か月前
株式会社ヒカリ
鋏
16日前
株式会社ローレル・ジャパン
鋏
4か月前
個人
鏝
2か月前
株式会社ワークス松下
定規
4か月前
キング砥石株式会社
砥石
6か月前
株式会社アマダ
金型
5か月前
株式会社アマダ
金型
5か月前
株式会社彌満和製作所
タップ
10か月前
株式会社彌満和製作所
タップ
10か月前
株式会社オカムラ
作業台
5か月前
上海晨光文具フェン有限公司
はさみ
4か月前
若井ホールディングス株式会社
ドリル
2か月前
株式会社彌満和製作所
タップ
10か月前
上海晨光文具フェン有限公司
はさみ
4か月前
上海晨光文具フェン有限公司
はさみ
4か月前
株式会社オカムラ
作業台
5か月前
株式会社中橋製作所
角のみ
10か月前
株式会社インダストリーコーワ
ブラシ
5か月前
株式会社中橋製作所
角のみ
10か月前
プラス株式会社
はさみ
8か月前
株式会社カインズ
剪定鋏
8か月前
KEN株式会社
やすり
5か月前
深セン市愛倍特電子商務有限公司
砥石台
11か月前
コクヨ株式会社
はさみ
11か月前
コクヨ株式会社
はさみ
11か月前
コクヨ株式会社
はさみ
11か月前
ネグロス電工株式会社
やすり
11か月前
株式会社彌満和製作所
ドリル
11か月前
株式会社バシーン・インターナショナル
ペンチ
2か月前
神沢鉄工株式会社
ナイフ
3か月前
続きを見る
他の意匠を見る