TOP
|
特許
|
意匠
|
商標
意匠ウォッチ
Twitter
他の意匠を見る
発行日
2025-06-17
公報種別
意匠公報(S)
登録番号
1801202
登録日
2025-06-09
意匠に係る物品
圧力炊飯器
意匠分類
C5
-41211(飲食用容器又は調理用容器)
出願番号
2024009768
出願日
2024-05-15
意匠権者
気高電機株式会社
,
タイガー魔法瓶株式会社
代理人
弁理士法人 東和国際特許事務所
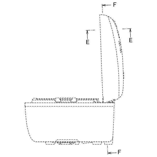
意匠に係る物品の説明
本願意匠に係る物品は、高圧で炊飯調理を行う炊飯器である。意匠登録を受けようとする部分は、蓋体にバネ付勢されて揺動自在に設けられている係止爪の先端部分であって、炊飯器の内部が高圧環境となっている状態で不用意に蓋が開くことを防止するために、閉蓋操作時に揺動する係止爪が本体の係止部に確実に係合するように誘導する機能を備えている。意匠登録を受けようとする部分は、各図に表れている通りの視覚を通じて美感を起こさせる形状により、当該機能を発揮するものである。
意匠の説明
実線で表された部分が、部分意匠として意匠登録を受けようとする部分である。背面図、左側面図、底面図には、意匠登録を受けようとする部分が表れないため、それぞれ省略する。
この意匠をJ-PlatPat(特許庁公式サイト)で参照する
関連意匠
気高電機株式会社
圧力炊飯器
5か月前
個人
杯
3日前
個人
杯
8か月前
株式会社LIV PLUS
鍋
1か月前
モザンビーク株式会社
蓋
3か月前
株式会社ジェイエイチキュー
鍋
3か月前
株式会社トヨトミ
鍋
3日前
山梨県
鍋
6か月前
株式会社丸山技研
鍋
6か月前
株式会社カインズ
皿
7か月前
株式会社LIV PLUS
蓋
26日前
アルフォーインターナショナル株式会社
鍋
17日前
株式会社カインズ
皿
8か月前
株式会社カインズ
皿
7か月前
カノー株式会社
椀
12か月前
株式会社トレードワン
鍋
12か月前
株式会社ムロコーポレーション
鍋
11か月前
個人
膳
10か月前
株式会社トレードワン
鍋
11か月前
株式会社キントー
鍋
12か月前
株式会社 ゼンショーホールディングス
鍋
6か月前
住吉酒販有限会社
酒器
4か月前
株式会社ニトリホールディングス
鍋蓋
4か月前
株式会社AZAYAKA JAPAN
土鍋
3か月前
株式会社すすむ商店
急須
9か月前
株式会社KY7
容器
9か月前
探岩科技有限公司
水筒
3か月前
株式会社KY7
容器
9か月前
パシフィック マーケット インターナショナル エルエルシー
容器
2か月前
パシフィック マーケット インターナショナル エルエルシー
容器
2か月前
パシフィック マーケット インターナショナル エルエルシー
容器
2か月前
株式会社KY7
容器
9か月前
スワンソン テクノロジーズ コーポレーション
水筒
6か月前
個人
水筒
6か月前
スワンソン テクノロジーズ コーポレーション
水筒
6か月前
奔邁(上海)国際貿易有限公司
水筒
6か月前
続きを見る
他の意匠を見る