TOP
|
特許
|
意匠
|
商標
意匠ウォッチ
Twitter
他の意匠を見る
発行日
2025-03-24
公報種別
意匠公報(S)
登録番号
1794106
登録日
2025-03-13
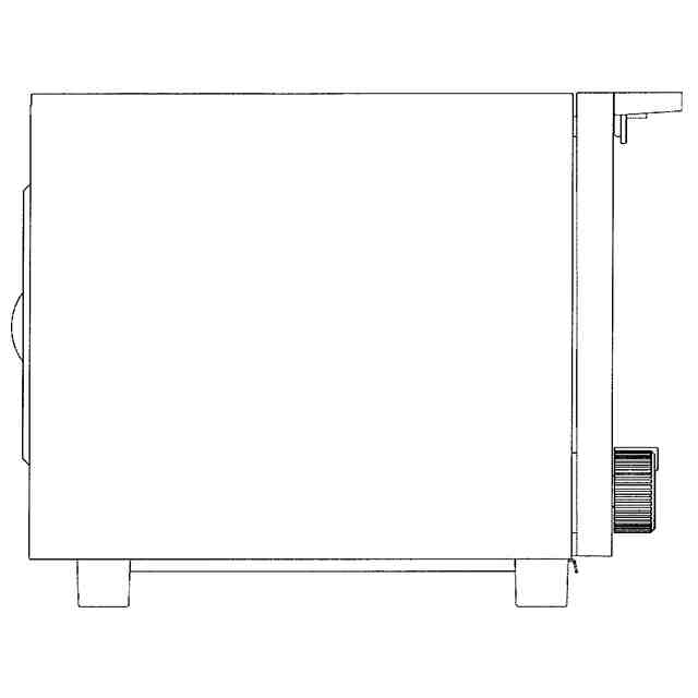
意匠に係る物品
オーブントースター
意匠分類
C6
-43200(飲食用具及び調理用器具)
出願番号
2024012867
出願日
2024-06-07
意匠権者
小泉成器株式会社
代理人
意匠に係る物品の説明
意匠の説明
この意匠をJ-PlatPat(特許庁公式サイト)で参照する
関連意匠
小泉成器株式会社
美顔器
8か月前
小泉成器株式会社
ヘアブラシ
8か月前
小泉成器株式会社
ヘアブラシ
8か月前
小泉成器株式会社
ヘアーコーム
11か月前
小泉成器株式会社
ヘアアイロン
9か月前
小泉成器株式会社
ヘアアイロン
9か月前
小泉成器株式会社
ヘアアイロン
9か月前
小泉成器株式会社
ヘアアイロン
9か月前
小泉成器株式会社
ヘアアイロン
9か月前
小泉成器株式会社
ヘアーコーム
8か月前
小泉成器株式会社
ブラシアイロン
9か月前
小泉成器株式会社
電気かみそり
8か月前
小泉成器株式会社
ブラシアイロン
7か月前
小泉成器株式会社
ヘアドライヤー
9か月前
小泉成器株式会社
ヘアドライヤー
9か月前
小泉成器株式会社
ヘアドライヤー
9か月前
小泉成器株式会社
ヘアドライヤー
9か月前
小泉成器株式会社
ホットプレート
11か月前
小泉成器株式会社
オーブントースター
7か月前
個人
箸
9か月前
個人
箸
8か月前
ユ,ヘ ヨン
箸
1か月前
株式会社グラポート
箸
3か月前
株式会社雪花
箸
8か月前
株式会社龍泉刃物
包丁
6か月前
株式会社CHILL&CRAFT
包丁
7か月前
株式会社トヨトミ
五徳
5か月前
株式会社 ヤクセル
包丁
6か月前
穂岐山刃物株式会社
包丁
4か月前
株式会社大野ナイフ製作所
包丁
7か月前
株式会社大野ナイフ製作所
包丁
7か月前
株式会社佐竹産業
包丁
7か月前
株式会社佐竹産業
包丁
7か月前
個人
はし
5か月前
株式会社コメリ
五徳
2日前
株式会社大野ナイフ製作所
包丁
5か月前
続きを見る
他の意匠を見る