TOP
|
特許
|
意匠
|
商標
意匠ウォッチ
Twitter
他の意匠を見る
発行日
2025-10-24
公報種別
意匠公報(S)
登録番号
1782714
登録日
2024-10-10
意匠に係る物品
紙トレー
意匠分類
F4
-91100(包装紙、包装用容器等)
出願番号
2024004624
出願日
2024-03-06
意匠権者
東洋アルミエコープロダクツ株式会社
代理人
個人
,
個人
,
個人
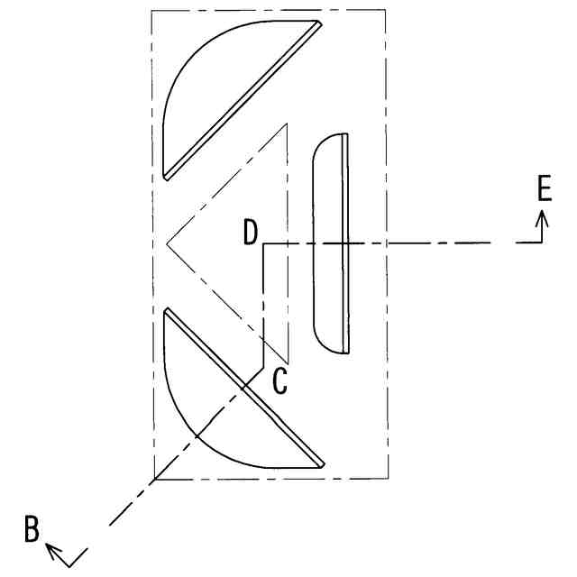
意匠に係る物品の説明
本物品は、使用状態を示す参考図1に示すように、収納対象物(参考図1では固形の食品)を外装のピロー包装内に収納する際に使用するトレーである。本物品は、一枚の板紙ブランクに複数のスリットを形成する等により得られる。使用状態を示す参考図2に示すように、そのスリット部を食品の形状に合わせて当接させることで、包装体内での食品の位置ずれを抑制するとともに電子レンジ等の加熱により食品の下面から生じる蒸気が抜けやすくなる。
意匠の説明
実線で表された部分が、意匠登録を受けようとする部分である。一点鎖線は、意匠登録を受けようとする部分とその他の部分との境界のみを示す線である。本物品は、紙製である。
意匠ウォッチbot のツイートを見る
この意匠をJ-PlatPat(特許庁公式サイト)で参照する
関連意匠
東洋アルミエコープロダクツ株式会社
1か月前
東洋アルミエコープロダクツ株式会社
4か月前
東洋アルミエコープロダクツ株式会社
7か月前
東洋アルミエコープロダクツ株式会社
7か月前
東洋アルミエコープロダクツ株式会社
7か月前
東洋アルミエコープロダクツ株式会社
7か月前
東洋アルミエコープロダクツ株式会社
7か月前
東洋アルミエコープロダクツ株式会社
7か月前
東洋アルミエコープロダクツ株式会社
1か月前
東洋アルミエコープロダクツ株式会社
7か月前
東洋アルミエコープロダクツ株式会社
5か月前
東洋アルミエコープロダクツ株式会社
4か月前
東洋アルミエコープロダクツ株式会社
4か月前
東洋アルミエコープロダクツ株式会社
7か月前
東洋アルミエコープロダクツ株式会社
1か月前
東洋アルミエコープロダクツ株式会社
1か月前
東洋アルミエコープロダクツ株式会社
1か月前
東洋アルミエコープロダクツ株式会社
1か月前
東洋アルミエコープロダクツ株式会社
1か月前
東洋アルミエコープロダクツ株式会社
1か月前
東洋アルミエコープロダクツ株式会社
1か月前
東洋アルミエコープロダクツ株式会社
4か月前
東洋アルミエコープロダクツ株式会社
1か月前
東洋アルミエコープロダクツ株式会社
3か月前
東洋アルミエコープロダクツ株式会社
3か月前
東洋アルミエコープロダクツ株式会社
包装体
11か月前
東洋アルミエコープロダクツ株式会社
包装体
11か月前
東洋アルミエコープロダクツ株式会社
包装体
11か月前
東洋アルミエコープロダクツ株式会社
通気口用フィルター
10か月前
東洋アルミエコープロダクツ株式会社
通気口用フィルター
10か月前
東洋アルミエコープロダクツ株式会社
紙トレー
1か月前
東洋アルミエコープロダクツ株式会社
包装用容器
11か月前
東洋アルミエコープロダクツ株式会社
紙トレー
1か月前
東洋アルミエコープロダクツ株式会社
包装用容器
11か月前
東洋アルミエコープロダクツ株式会社
紙トレー
1か月前
東洋アルミエコープロダクツ株式会社
包装用容器
4か月前
続きを見る
他の意匠を見る