TOP
|
特許
|
意匠
|
商標
意匠ウォッチ
Twitter
他の意匠を見る
発行日
2025-11-05
公報種別
意匠公報(S)
登録番号
1728645
登録日
2022-10-21
意匠に係る物品
管継手
意匠分類
M2
-431(配線・配管用管、管継ぎ手、バルブ等)
出願番号
2021022657
出願日
2021-10-18
意匠権者
株式会社藤井合金製作所
代理人
個人
,
個人
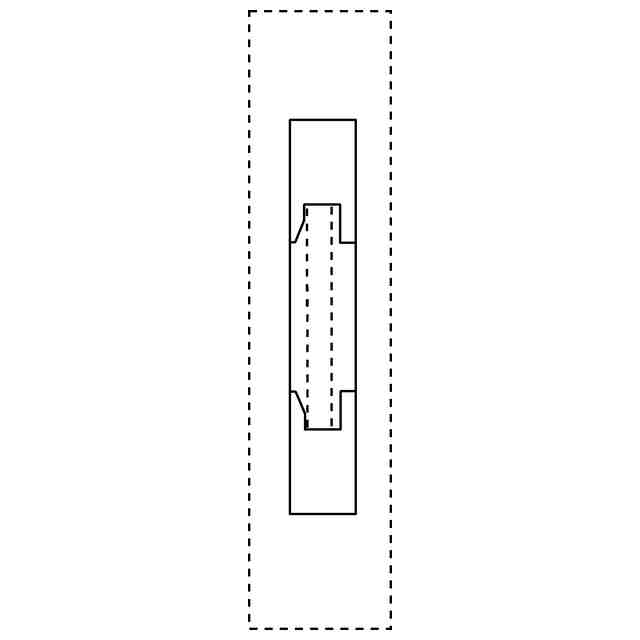
意匠に係る物品の説明
本物品は、継手本体と押ナットとを備える管継手である。本物品の管継手は、継手本体と押ナットとの間に係合するストップリングを外から目視確認可能とするために切り欠きを設けたものである。
意匠の説明
実線で表した部分が、部分意匠として意匠登録を受けようとする部分である。なお、B-B部分拡大図で実線の縦長長方形のなかの、2本の破線部分の左と右の部分は、意匠登録を受けようとする部分以外の部分である。
この意匠をJ-PlatPat(特許庁公式サイト)で参照する
関連意匠
株式会社藤井合金製作所
ガス栓
10か月前
株式会社藤井合金製作所
管継手
6日前
株式会社KVK
水栓
2か月前
株式会社タブチ
水栓
8か月前
株式会社LIXIL
水栓
11か月前
株式会社LIXIL
水栓
11か月前
株式会社KVK
水栓
2か月前
株式会社タブチ
水栓
8か月前
SANEI株式会社
水栓
7か月前
株式会社藤井合金製作所
管継手
6日前
株式会社LIXIL
吐水口
10か月前
株式会社LIXIL
吐水口
10か月前
株式会社タブチ
管継手
7か月前
株式会社不二工機
電動弁
8か月前
TOTO株式会社
給水栓
4か月前
株式会社不二工機
電動弁
8か月前
株式会社タブチ
管継手
3か月前
株式会社タブチ
管継手
7か月前
株式会社テージーケー
電動弁
3か月前
株式会社鷺宮製作所
開閉弁
3か月前
株式会社KVK
給水栓
9か月前
株式会社KVK
給水栓
9か月前
株式会社KVK
給水栓
9か月前
株式会社KVK
給水栓
8か月前
個人
二方弁
8か月前
エスビー工業株式会社
管継手
7か月前
未来工業株式会社
管継手
1か月前
ニプロ株式会社
結束具
1か月前
日鉄パイプライン&エンジニアリング株式会社
管継手
7か月前
株式会社鷺宮製作所
開閉弁
3か月前
株式会社KVK
吐水口
2か月前
株式会社KVK
給水栓
2か月前
株式会社KVK
給水栓
2か月前
ニッタ株式会社
管継手
6日前
株式会社タブチ
管継手
3か月前
旭有機材株式会社
バルブ
3か月前
続きを見る
他の意匠を見る