TOP
|
特許
|
意匠
|
商標
意匠ウォッチ
Twitter
他の意匠を見る
発行日
2025-10-01
公報種別
意匠公報(S)
登録番号
1725484
登録日
2022-09-13
意匠に係る物品
浴室暖房乾燥機
意匠分類
D4
-3130(暖冷房機又は空調換気機器)
出願番号
2022001071
出願日
2022-01-21
意匠権者
パーパス株式会社
代理人
個人
,
個人
,
個人
,
個人
意匠に係る物品の説明
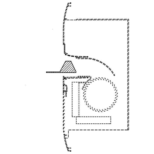
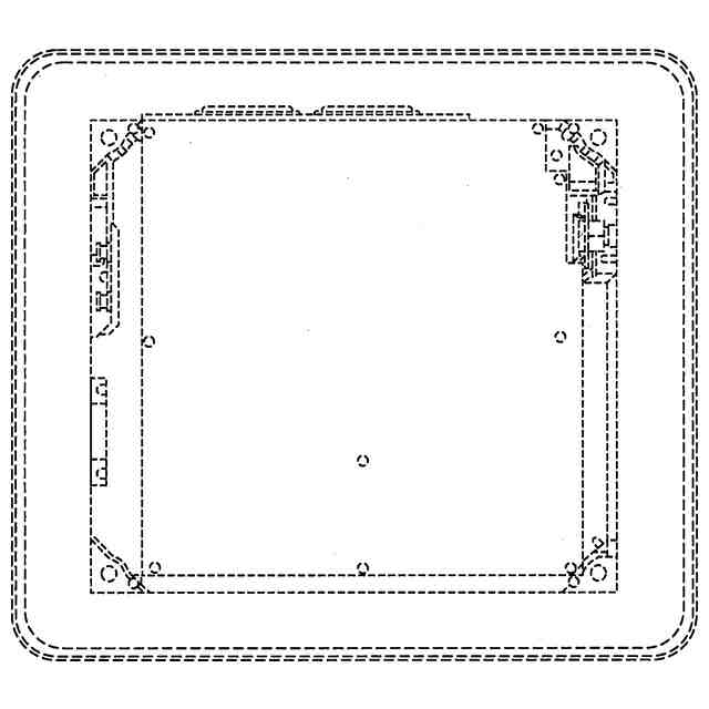
本物品は、主に浴室の天井などの壁面に取付けられ、温風を吹出して浴室内部の空気を温める暖房機能、浴室内の空気を乾燥状態にする機能を備えた装置である。この浴室暖房乾燥機は、[各部名称を示す参考斜視図]に示すように、温風の発生や浴室内の空気を回収する本体部、吹出部や吸入部などを有するパネル部を備える。本体部は浴室外部に配置され、パネル部が浴室内に露出するように配置される。パネル部には、温風吹出口やミストノズルなどを含む吹出部を備えるとともに、開閉可能なルーバーを備える。このルーバーは、浴室暖房乾燥機が運転状態のときに開状態となって浴室内に温風吹出口およびミストノズルを露出させ、運転停止状態のときに閉状態となって温風吹出口およびミストノズルの前面を覆う。またルーバー上には、温風吹出口に対して直進方向および拡開方向に向けて温風を整流する整流フィンを備える。
意匠の説明
実線で表した部分が部分意匠として意匠登録を受けようとする部分である。
この意匠をJ-PlatPat(特許庁公式サイト)で参照する
関連意匠
パーパス株式会社
浴室暖房乾燥機
27日前
パーパス株式会社
給湯器
4か月前
パーパス株式会社
給湯器
4か月前
パーパス株式会社
給湯器
10か月前
パーパス株式会社
給湯器
10か月前
賈維斯知能(深セン)有限公司
扇風機
11か月前
深せん市舞翔電子有限公司
扇風機
2か月前
深セン市同創創精密電子有限公司
扇風機
2か月前
株式会社サンライズエンジニアリング
トング
2か月前
シャープ株式会社
除湿機
6か月前
シャープ株式会社
除湿機
6か月前
アイリスオーヤマ株式会社
加湿器
7か月前
深セン宝霧科技有限公司
加湿器
6か月前
深セン市同創創精密電子有限公司
扇風機
2か月前
深セン首明科技有限公司
加湿器
6か月前
GD Midea Environment Appliances MFG Co., Ltd.
Fan
2か月前
GD Midea Environment Appliances MFG Co., Ltd.
Fan
2か月前
深セン宝霧科技有限公司
加湿器
6か月前
佛山市土撥鼠智能科技有限公司
扇風機
2か月前
バルミューダ株式会社
扇風機
12か月前
広東澳運科技有限公司
扇風機
6か月前
リスカイ株式会社
扇風機
2か月前
リスカイ株式会社
扇風機
2か月前
日翔株式会社
カイロ
7か月前
広東美的環境電器制造有限公司
加熱器
7か月前
個人
ファン
7か月前
アイリスオーヤマ株式会社
扇風機
7か月前
Shenzhen Senhe Plastic Mould Co., Ltd.
Fan
1か月前
アイリスオーヤマ株式会社
扇風機
7か月前
アイリスオーヤマ株式会社
扇風機
7か月前
アイリスオーヤマ株式会社
扇風機
7か月前
アイリスオーヤマ株式会社
扇風機
7か月前
アイリスオーヤマ株式会社
扇風機
7か月前
深セン市同創創精密電子有限公司
扇風機
2か月前
広東澳運科技有限公司
扇風機
6か月前
深セン宝霧科技有限公司
加湿器
8か月前
続きを見る
他の意匠を見る