TOP
|
特許
|
意匠
|
商標
意匠ウォッチ
Twitter
他の意匠を見る
発行日
2025-09-24
公報種別
意匠公報(S)
登録番号
1724730
登録日
2022-09-06
意匠に係る物品
ボトルスタンド
意匠分類
D6
-440(室内整理用家具・用具)
出願番号
2021025731
出願日
2021-11-24
意匠権者
株式会社伊勢藤
,
Iseto Co., Ltd.
代理人
個人
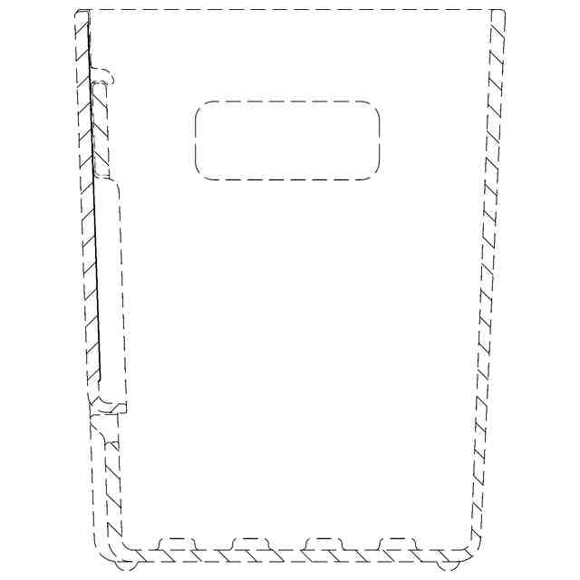
意匠に係る物品の説明
意匠の説明
実線で表された部分が、部分意匠として意匠登録を受けようとする部分である。左側面図は右側面図と対称に表れるので省略する。断面図を含めて部分意匠として意匠登録を受けようとする部分を特定している。
この意匠をJ-PlatPat(特許庁公式サイト)で参照する
関連意匠
株式会社伊勢藤
2か月前
株式会社伊勢藤
2か月前
株式会社伊勢藤
2か月前
株式会社伊勢藤
2か月前
株式会社伊勢藤
2か月前
株式会社伊勢藤
2か月前
株式会社伊勢藤
2か月前
株式会社伊勢藤
6か月前
株式会社伊勢藤
6か月前
株式会社伊勢藤
2か月前
株式会社伊勢藤
ボトルスタンド
2か月前
株式会社伊勢藤
ボトルスタンド
2か月前
株式会社伊勢藤
ボトルスタンド
2か月前
株式会社伊勢藤
水切りかご
6か月前
株式会社伊勢藤
水切りかご
6か月前
株式会社伊勢藤
水切りかご
6か月前
株式会社伊勢藤
水切りかご
6か月前
株式会社伊勢藤
パン用カットガイド
今日
株式会社伊勢藤
パン用カットガイド
今日
株式会社伊勢藤
トレーディングカード用ケース
10か月前
株式会社伊勢藤
管体用防虫キャップ
今日
株式会社カインズ
棚
12か月前
株式会社カインズ
棚
5か月前
株式会社カインズ
棚
7か月前
株式会社カインズ
棚
8か月前
イデア 株式会社
棚
9か月前
株式会社イトーキ
棚
8か月前
株式会社カインズ
棚
12か月前
株式会社カインズ
棚
5か月前
株式会社イクロス
棚
7か月前
株式会社カインズ
棚
12か月前
株式会社カインズ
棚
1か月前
株式会社カインズ
棚
1か月前
株式会社イトーキ
棚
11か月前
株式会社カインズ
棚
5か月前
株式会社カインズ
棚
12か月前
続きを見る
他の意匠を見る