TOP
|
特許
|
意匠
|
商標
意匠ウォッチ
Twitter
他の意匠を見る
発行日
2025-12-09
公報種別
意匠公報(S)
登録番号
1731295
登録日
2022-11-25
意匠に係る物品
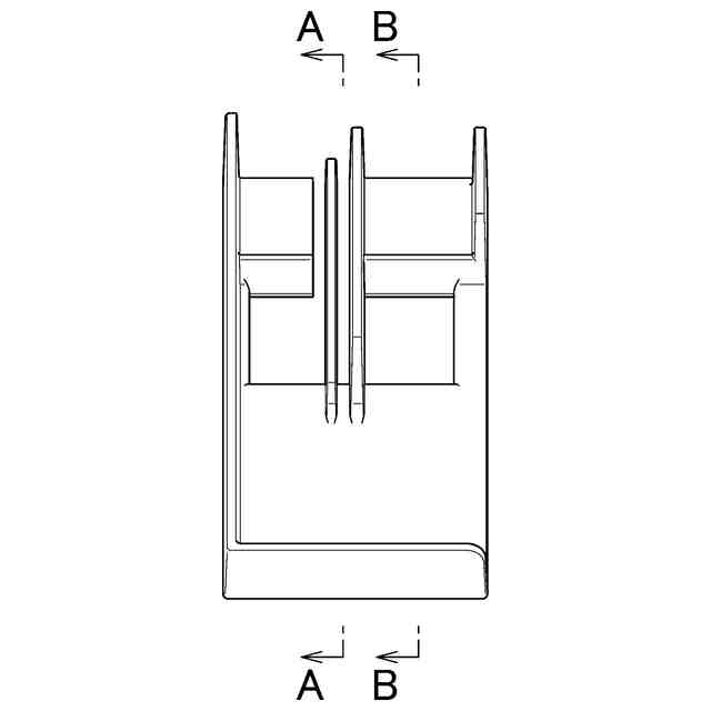
パン用カットガイド
意匠分類
C6
-3100(飲食用具及び調理用器具)
出願番号
2022005303
出願日
2022-03-15
意匠権者
株式会社伊勢藤
,
Iseto Co., Ltd.
代理人
個人
意匠に係る物品の説明
意匠の説明
右側面図は左側面図と対称に表れるので省略する。
この意匠をJ-PlatPat(特許庁公式サイト)で参照する
関連意匠
株式会社伊勢藤
2か月前
株式会社伊勢藤
2か月前
株式会社伊勢藤
2か月前
株式会社伊勢藤
2か月前
株式会社伊勢藤
2か月前
株式会社伊勢藤
2か月前
株式会社伊勢藤
2か月前
株式会社伊勢藤
6か月前
株式会社伊勢藤
6か月前
株式会社伊勢藤
2か月前
株式会社伊勢藤
ボトルスタンド
2か月前
株式会社伊勢藤
ボトルスタンド
2か月前
株式会社伊勢藤
ボトルスタンド
2か月前
株式会社伊勢藤
水切りかご
6か月前
株式会社伊勢藤
水切りかご
6か月前
株式会社伊勢藤
水切りかご
6か月前
株式会社伊勢藤
水切りかご
6か月前
株式会社伊勢藤
パン用カットガイド
1日前
株式会社伊勢藤
パン用カットガイド
1日前
株式会社伊勢藤
トレーディングカード用ケース
10か月前
株式会社伊勢藤
管体用防虫キャップ
1日前
個人
箸
9か月前
個人
箸
10か月前
株式会社雪花
箸
9か月前
ユ,ヘ ヨン
箸
2か月前
株式会社グラポート
箸
4か月前
株式会社龍泉刃物
包丁
7か月前
株式会社コメリ
五徳
1か月前
株式会社トヨトミ
五徳
6か月前
株式会社大野ナイフ製作所
包丁
6か月前
株式会社龍泉刃物
包丁
6か月前
個人
はし
6か月前
穂岐山刃物株式会社
包丁
5か月前
株式会社 ヤクセル
包丁
7か月前
株式会社佐竹産業
包丁
8か月前
株式会社CHILL&CRAFT
包丁
8か月前
続きを見る
他の意匠を見る