TOP
|
特許
|
意匠
|
商標
特許ウォッチ
Twitter
《公報を最速で反映》特許検索
最新の1か月分 15,965件
0.04秒
主分類 絞込み
G(物理学)
4,774
H(電気)
3,098
A(生活必需品)
2,640
B(処理操作;運輸)
2,344
C(化学;冶金)
1,390
さらに表示..
出願人 絞込み
ソフトバンクグループ株式会社
1,285
トヨタ自動車株式会社
551
キヤノン株式会社
462
個人
313
株式会社三共
284
さらに表示..
代理人 絞込み
個人
7,163
弁理士法人太陽国際特許事務所
1,362
なし
1,110
弁理士法人酒井国際特許事務所
638
弁理士法人ITOH
271
さらに表示..
公開日 絞込み
2026-04-24(金)
49
2026-04-23(木)
1,005
2026-04-22(水)
712
2026-04-21(火)
616
2026-04-20(月)
418
さらに表示..
4,177 / 15,965
ミバ・グライトラーガー・オーストリア・ゲゼルシャフト・ミト・ベシュレンクテル・ハフツング
コーティングを含む摺動要素
11日前
ザ・ボーイング・カンパニー
成形シールブーツ、シール構造体、及びシール方法
11日前
アレス マテリアルズ インク.
接着特性が向上した低弾性光学的透明接着剤用樹脂組成物およびその製造方法
11日前
アディダス アーゲー
フットウェア物品
11日前
泉州市三安集成電路有限公司
支持基板、複合基板、電子デバイスおよびモジュール
11日前
ヨースト-ヴェアケ ドイチュラント ゲー・エム・ベー・ハー
牽引車両と被牽引車両とを結合するための組合せ、接続システム及び方法
11日前
ザ・ボーイング・カンパニー
複合材保護のための2層コーティングシステム
11日前
個人
流体発電装置
11日前
楽天グループ株式会社
製品ウェブページ属性値品質判定および予測
11日前
グロウ イノベーションズ スンディリアン ブルハド
汗吸収能を有するパウダーフリー弾性体物品およびその製造方法
11日前
デンツプライ・シロナ・インコーポレイテッド
歯科用ハンドピース
11日前
キヤノンメディカルシステムズ株式会社
X線診断装置
11日前
ザ・スウォッチ・グループ・リサーチ・アンド・ディベロップメント・リミテッド
文字盤の製造方法
11日前
ホロ-ライト・ゲゼルシャフト・ミット・ベシュレンクテル・ハフツング
XR配信方法及びXR投影システム
11日前
サートリウス・リキッド・ハンドリング・オイ
特定の濡れ性特性を有する可塑性実験用消耗品、およびその製造方法
11日前
大阪瓦斯株式会社
電力供給管理サーバ及びコンピュータプログラム
11日前
ウェイモ エルエルシー
車両センサデータを処理するための機械学習モデル
11日前
ウーテーアー・エス・アー・マニファクチュール・オロロジェール・スイス
特に時計用の、熱作動式マイクロメカニカル装置
11日前
ザ・ボーイング・カンパニー
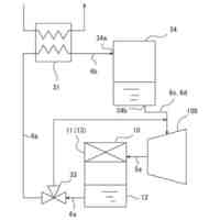
ライダーに基づく航空機のエアデータ測定を補強するように構成された航空機システム
11日前
ブルーレーザーフュージョン インク.
圧電層を有する分布ブラッグ反射器(DBR)ミラーシステムを用いたレーザビーム抽出
11日前
株式会社発明屋
救命システム
11日前
セルティナ・エスアー
耐衝撃性文字盤を備えた時計
11日前
シーメンス メディカル ソリューションズ ユーエスエー インコーポレイテッド
超音波医用イメージングによる組織非線形性応答からの脂肪分率推定
11日前
ザ・ボーイング・カンパニー
シンタクチックフォーム部品及びその関連製造方法
11日前
JUNS株式会社
ポーカーゲーム管理装置、ポーカーゲーム管理システム及びそのプログラム
11日前
ルネサス デザイン (ユーケー) リミテッド
多相式スイッチング変換器のためのコントローラ
11日前
上海天馬微電子有限公司
導光板、バックライト装置及び液晶表示装置
11日前
インターナショナル・ビジネス・マシーンズ・コーポレーション
コンピュータ実装方法、コンピュータシステム、及び、コンピュータプログラム(大規模言語モデルに基づくアセット分析を用いた自然言語クエリ処理)
11日前
ヤンマーホールディングス株式会社
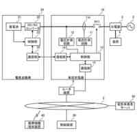
作業車両の制御方法、作業車両用制御プログラム、作業車両用制御システム及び作業システム
11日前
株式会社落雷抑制システムズ
基礎部
11日前
日東電工株式会社
アクリル系粘着剤、アクリル系粘着シート、およびフレキシブルデバイス
11日前
築野グループ株式会社
組成物
11日前
築野グループ株式会社
組成物
11日前
学校法人日本医科大学
内視鏡手術用処置具
11日前
株式会社ロゴスコーポレーション
脚部構造及び立体構造物
11日前
株式会社H&F
処理装置、処理プログラム及び処理方法
11日前
個人
発電デバイス
11日前
個人
袋の開け口
11日前
PayPay株式会社
情報処理装置、情報処理方法、及び情報処理プログラム
11日前
ツー-シックス デラウェア インコーポレイテッド
電解質組成物
11日前
個人
穴埋めツールミニ
11日前
個人
引き出し付きゴミ箱
11日前
個人
ボタンの留め外し及びファスナーの開閉具
11日前
個人
クリップ
11日前
個人
段ボール箱 手掛け孔カッター
11日前
株式会社TSUKASA
バッテリー内蔵型エッジライティング消火器サインシステム
11日前
デクセリアルズ株式会社
ステッピングモータの制御装置及び制御方法
11日前
株式会社大一商会
遊技機
11日前
続きを見る
前へ
83
84
85
86
87
88
89
90
91
92
93
次へ