TOP
|
特許
|
意匠
|
商標
特許ウォッチ
Twitter
《公報を最速で反映》特許検索
【本日更新】
最新の12か月分 189,883件
0.875秒
主分類 絞込み
G(物理学)
56,677
H(電気)
36,529
A(生活必需品)
31,282
B(処理操作;運輸)
28,580
C(化学;冶金)
17,615
さらに表示..
出願人 絞込み
ソフトバンクグループ株式会社
14,108
トヨタ自動車株式会社
6,470
キヤノン株式会社
5,475
個人
3,737
株式会社三共
2,656
さらに表示..
代理人 絞込み
個人
89,820
なし
12,265
弁理士法人酒井国際特許事務所
11,823
弁理士法人太陽国際特許事務所
10,752
弁理士法人ITOH
2,149
さらに表示..
公開日 絞込み
2026-04-22(水)
712
2026-04-21(火)
616
2026-04-20(月)
418
2026-04-17(金)
578
2026-04-16(木)
657
さらに表示..
22,369 / 189,883
日本ピーマック株式会社
外気処理空調機
1か月前
朝日インテック株式会社
カテーテル
1か月前
三浦工業株式会社
燃焼装置
1か月前
フリード株式会社
新規な装着手段を備えたウィッグ
1か月前
株式会社ダイヘン
電源装置、および、電源装置の製造方法
1か月前
株式会社コーアツ
ガス系消火設備
1か月前
日東工器株式会社
管継手着脱工具
1か月前
マツダ株式会社
車両用ボンネットステー取付け構造
1か月前
株式会社明電舎
回転電機
1か月前
株式会社荏原製作所
複数の基板が接合された積層基板の作成方法
1か月前
株式会社不二越
ロボットシステム
1か月前
国立大学法人東海国立大学機構
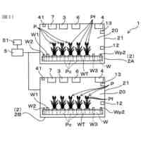
人工気象装置及びイネ科植物の栽培方法
1か月前
パイオニア株式会社
情報処理装置、情報処理方法、プログラム及び記憶媒体
1か月前
トヨタ紡織株式会社
燃料電池セル
1か月前
株式会社ディスコ
被加工物の研磨方法及び被加工物の研磨装置
1か月前
株式会社Cygames
情報処理プログラム、情報処理方法および情報処理システム
1か月前
キヤノン株式会社
処理装置、処理システム、処理方法、及びプログラム
1か月前
愛三工業株式会社
燃料電池システム
1か月前
1FINITY株式会社
故障予測装置、無線通信システム、および故障予測プログラム
1か月前
トヨタ自動車株式会社
劣化検出方法、劣化検出装置及び劣化検出プログラム
1か月前
公益財団法人鉄道総合技術研究所
輸送計画作成支援装置及び輸送計画作成支援方法
1か月前
ヤンマーホールディングス株式会社
作業情報管理方法、作業情報管理システム、及び作業情報管理プログラム
1か月前
キヤノン株式会社
画像処理装置、制御方法、及びプログラム
1か月前
個人
法面補強治具及びその法面補強治具を用いた法面補強工法
1か月前
セイコーエプソン株式会社
液体吐出装置、及び、液体吐出ヘッド
1か月前
アイクリスタル株式会社
情報処理システム、情報処理方法及びプログラム
1か月前
ブラザー工業株式会社
ドラムユニット
1か月前
カシオ計算機株式会社
減音器具
1か月前
カシオ計算機株式会社
鍵盤楽器及び鍵の製造方法
1か月前
カシオ計算機株式会社
消音器具及び消音マスク
1か月前
カシオ計算機株式会社
時計用部品、時計、時計の制御方法及びプログラム
1か月前
シャープ株式会社
保持枠、フィルタユニット及び加湿装置
1か月前
カシオ計算機株式会社
ペダル装置、演奏システム、方法およびプログラム
1か月前
カシオ計算機株式会社
情報処理装置、電子楽器、方法およびプログラム
1か月前
株式会社クイック
求人情報提供装置、求人情報提供装置用プログラム、記憶媒体及び求人情報提供方法
1か月前
個人
情報処理装置、情報処理方法、コンピュータプログラムおよび非一時的コンピュータ可読媒体
1か月前
個人
連歯下駄型フェンス部材
1か月前
WhiteLab株式会社
小型生体情報計測デバイス
1か月前
個人
AI(人工知能)を使用してコミュニケーションを促進する方法、またはプログラム、またはサーバー、コンピューター
1か月前
有限会社 佐々木食品
フライヤー
1か月前
株式会社IVRy
キーワード出力システム、キーワード出力方法及びプログラム
1か月前
ワコー株式会社
清掃具
1か月前
日本放送協会
無線伝送装置
1か月前
株式会社JWR
複合避難施設
1か月前
輝創株式会社
接合剤およびこれを用いた接合方法
1か月前
ガデリウス・メディカル株式会社
ステントデリバリーシステム
1か月前
ガデリウス・メディカル株式会社
ステントデリバリーシステム
1か月前
多摩川精機株式会社
大型金属製品、およびその製造方法
1か月前
続きを見る
前へ
462
463
464
465
466
467
468
469
470
471
472
次へ