TOP
|
特許
|
意匠
|
商標
特許ウォッチ
Twitter
他の特許を見る
10個以上の画像は省略されています。
公開番号
2025178042
公報種別
公開特許公報(A)
公開日
2025-12-05
出願番号
2024146384
出願日
2024-08-28
発明の名称
テスト装置及びテストシステム
出願人
コウ康科技股フン有限公司
代理人
個人
,
個人
主分類
G01R
31/28 20060101AFI20251128BHJP(測定;試験)
要約
【課題】回路メイン基板を含むテスト装置、及びテストシステムを開示する。
【解決手段】回路メイン基板の一方側に、複数のチップキャリアベース体、電源コネクタ及び信号出力コネクタが設けられ、テスト対象ウェハーはチップキャリア基板に固定され、チップキャリア基板は、チップキャリアベース体に取外し可能に設置される。外部電源は、電源コネクタ及び回路メイン基板を通じて、チップキャリアベース体に設置されたテスト対象ウェハーに電力を供給できる。回路メイン基板の他方側に、複数のキャリアコネクタが設置され、各信号キャリア基板は、キャリアコネクタを通じて、回路メイン基板に取り外し可能に設置され、各信号キャリア基板には信号入力線の一端が挿着するための信号入力コネクタが設けられ、外部信号入力装置は、信号入力線、信号入力コネクタ、信号キャリア基板及び回路メイン基板を通じて、テスト対象ウェハーにテスト信号を入力できる。
【選択図】図4
特許請求の範囲
【請求項1】
互いに反対側の両側がそれぞれ第1の側面及び第2の側面として定義され、前記第1の側面に複数の電源コネクタが設置されている回路メイン基板と、
前記第1の側面に設置されており、一側にテスト対象ウェハーが固定設置されているチップキャリア基板をそれぞれが支持するために用いられる、複数のチップキャリアベース体と、
前記回路メイン基板に設置されており、それぞれが外部信号リーダー装置と接続するために用いられる複数の信号出力コネクタと、
前記回路メイン基板の前記第2の側面に設置されている複数のキャリアコネクタと、
複数の前記キャリアコネクタを介して前記回路メイン基板の前記第2の側面に着脱可能にそれぞれが設置されており、前記キャリアコネクタ及び前記回路メイン基板を介して前記第1の側面に設置された前記チップキャリアベース体における前記テスト対象ウェハーとそれぞれ電気的に接続される複数の信号キャリア基板と、
各前記信号キャリア基板に少なくとも1つが設置されており、信号入力線の一端のコネクタを挿着するために用いられる複数の信号入力コネクタと、
を備え、
前記テスト対象ウェハーは前記チップキャリア基板及び前記回路メイン基板によって対応する前記電源コネクタから外部電源が提供する電力を取得し、且つ前記テスト対象ウェハーは前記チップキャリア基板、前記回路メイン基板、前記信号キャリア基板及び前記信号入力コネクタを通じて、前記信号入力線を通じて伝送されるテスト信号を取得し、前記テスト対象ウェハーは前記チップキャリア基板、前記回路メイン基板及び前記信号出力コネクタを通じて信号を外部信号リーダー装置に伝送する、
ことを特徴とするテスト装置。
続きを表示(約 2,300 文字)
【請求項2】
前記チップキャリアベース体は本体を含み、前記本体は複数のピン穿孔及び収容スロットを含み、各前記ピン穿孔は前記本体を貫通して設置され、前記チップキャリア基板の一側には複数のピンが設置されており、前記テスト対象ウェハー及び複数の前記ピンは前記チップキャリア基板の同一側または異なる側に設置され、前記チップキャリア基板が前記チップキャリアベース体に設置されるとき、複数の前記ピンは対応する複数の前記ピン穿孔を貫通して設置され、前記収容スロットは前記チップキャリアベース体に設置された前記チップキャリア基板における前記テスト対象ウェハーを収容するために用いられる、請求項1に記載のテスト装置。
【請求項3】
前記信号キャリア基板に、前記信号入力コネクタに接続するための各信号配線の両側にはそれぞれグランド配線が設置されており、各前記信号配線は2本の前記グランド配線の間に位置する、請求項2に記載のテスト装置。
【請求項4】
前記回路メイン基板に複数の電源切替モジュールが設置されており、各前記電源切替モジュールは少なくとも1つの前記電源コネクタと少なくとも1つの前記チップキャリアベース体の回路との間に設置されている、請求項1に記載のテスト装置。
【請求項5】
前記信号キャリア基板は回避孔を有し、前記回避孔は前記信号キャリア基板を貫通しており、前記信号入力コネクタは信号入力線の一端のコネクタを挿着するために用いられ、前記回避孔は前記信号入力線のコネクタを収容するために用いられる、請求項1に記載のテスト装置。
【請求項6】
テスト装置及び温度制御デバイスを具備するテストシステムであって、
前記テスト装置は、
互いに反対側の両側がそれぞれ第1の側面及び第2の側面として定義され、前記第1の側面に複数の電源コネクタが設置されている回路メイン基板と、
前記第1の側面に設置されており、一側にテスト対象ウェハーが固定設置されているチップキャリア基板をそれぞれが支持するために用いられる、複数のチップキャリアベース体と、
前記回路メイン基板に設置されており、それぞれが外部信号リーダー装置と接続するために用いられる複数の信号出力コネクタと、
前記回路メイン基板の前記第2の側面に設置されている複数のキャリアコネクタと、
複数の前記キャリアコネクタを介して前記回路メイン基板の前記第2の側面に着脱可能にそれぞれが設置されており、前記キャリアコネクタ及び前記回路メイン基板を介して前記第1の側面に設置された前記チップキャリアベース体における前記テスト対象ウェハーとそれぞれ電気的に接続される複数の信号キャリア基板と、
各前記信号キャリア基板に少なくとも1つが設置されており、信号入力線の一端のコネクタを挿着するために用いられる複数の信号入力コネクタと、
を備え、
前記テスト対象ウェハーは前記チップキャリア基板及び前記回路メイン基板によって対応する前記電源コネクタから外部電源が提供する電力を取得し、且つ前記テスト対象ウェハーは前記チップキャリア基板、前記回路メイン基板、前記信号キャリア基板及び前記信号入力コネクタを通じて、前記信号入力線を通じて伝送されるテスト信号を取得し、前記テスト対象ウェハーは前記チップキャリア基板、前記回路メイン基板及び前記信号出力コネクタを通じて信号を外部信号リーダー装置に伝送し、
前記温度制御デバイスは、可動ドア、少なくとも1つのチャンバー及び少なくとも1つの温度制御装置を含み、前記可動ドアは前記チャンバーを密閉するために操作可能であり、前記温度制御装置は前記チャンバー内の温度を所定温度に維持するために用いられ、前記チャンバーは少なくとも1つの前記テスト装置を収容することによって、前記テスト装置が前記所定温度下でテストを行うことができる、
ことを特徴とするテストシステム。
【請求項7】
前記チップキャリアベース体は本体を含み、前記本体は複数のピン穿孔及び収容スロットを含み、各前記ピン穿孔は前記本体を貫通して設置され、前記チップキャリア基板の一側には複数のピンが設置されており、前記テスト対象ウェハー及び複数の前記ピンは前記チップキャリア基板の同一側または異なる側に設置され、前記チップキャリア基板が前記チップキャリアベース体に設置されるとき、複数の前記ピンは対応する複数の前記ピン穿孔を貫通して設置され、前記収容スロットは前記チップキャリアベース体に設置された前記チップキャリア基板における前記テスト対象ウェハーを収容するために用いられる、請求項6に記載のテストシステム。
【請求項8】
前記信号キャリア基板に、前記信号入力コネクタに接続するための各信号配線の両側にはそれぞれグランド配線が設置されており、各前記信号配線は2本の前記グランド配線の間に位置する、請求項7に記載のテストシステム。
【請求項9】
前記回路メイン基板に複数の電源切替モジュールが設置されており、各前記電源切替モジュールは少なくとも1つの前記電源コネクタと少なくとも1つの前記チップキャリアベース体の回路との間に設置されている、請求項6に記載のテストシステム。
【請求項10】
前記信号キャリア基板は回避孔を有し、前記回避孔は前記信号キャリア基板を貫通しており、前記信号入力コネクタは信号入力線の一端のコネクタを挿着するために用いられ、前記回避孔は前記信号入力線のコネクタを収容するために用いられる、請求項6に記載のテストシステム。
発明の詳細な説明
【技術分野】
【0001】
本発明は、テスト装置及びテストシステムに関し、特にテスト装置及びテストシステムに関する。
続きを表示(約 3,500 文字)
【背景技術】
【0002】
既存の技術において、MIPIテスト実験を行うために特別に設計された装置やシステムは存在せず、関連する技術者がMIPIテスト実験を行う際には、通常、手元にある材料を利用したり、各実験室の経験に基づいて、試験を実施するためのプラットフォームを構築したりすることが一般的である。このため、関連する技術者がテスト試験を行うたびに、対応するプラットフォームを再構築する必要があり、これが技術者のテスト実験上の困難をもたらし、さまざまな実験者が構築するプラットフォームによって、テスト結果に誤差が生じる可能性がある。このため、実験室にとっては大きな問題が存在する。
【発明の概要】
【発明が解決しようとする課題】
【0003】
本発明は、テスト装置及びテストシステムを公開し、既存の技術において、関連する実験者がMIPIテスト実験を容易に実施できるようなテスト装置やシステムが存在しない問題を改善することを主目的とする。
【課題を解決するための手段】
【0004】
本発明に開示された1つの実施形態は、回路メイン基板、複数のチップキャリアベース体、複数の信号出力コネクタ、複数のキャリアコネクタ、複数の信号キャリア基板及び複数の信号入力コネクタを備える、テスト装置を公開する。回路メイン基板における互いに反対側にある両側がそれぞれ第1の側面及び第2の側面として定義される。回路メイン基板は、第1の側面に複数の電源コネクタが設置されている。複数のチップキャリアベース体は第1の側面に設置され、各チップキャリアベース体はチップキャリア基板をキャリアするために用いられ、チップキャリア基板の一方側はテスト対象ウェハーを固定して設置するために用いられる。複数の信号出力コネクタは回路メイン基板に設置され、各信号出力コネクタは外部信号リーダー装置と接続するために用いられる。複数のキャリアコネクタは、回路メイン基板の第2の側面に設置される。各信号キャリア基板は、複数のキャリアコネクタを通じて、回路メイン基板の第2の側面に取り外し可能に設置され、各信号キャリア基板はキャリアコネクタ及び回路メイン基板を介して、第1の側面のチップキャリアベース体に配置されたテスト対象ウェハーと電気的に接続される。各信号キャリア基板には少なくとも1つの信号入力コネクタが設置され、信号入力コネクタは信号入力線の一端のコネクタを挿着するために用いられる。ここで、テスト対象ウェハーは、チップキャリア基板及び回路メイン基板を通じて、対応する電源コネクタから外部電源が提供する電力を取得し、テスト対象ウェハーは、チップキャリア基板、回路メイン基板、信号キャリア基板及び信号入力コネクタを介して、信号入力線から伝送されたテスト信号を取得し、テスト対象ウェハーは、チップキャリア基板、回路メイン基板及び信号出力コネクタを通じて、信号を外部信号リーダー装置に伝送する。
【0005】
本発明の1つの実施形態は、テスト装置及び温度制御デバイスを具備するテストシステムを公開する。テスト装置は、回路メイン基板、複数のチップキャリアベース体、複数の信号出力コネクタ、複数のキャリアコネクタ、複数の信号キャリア基板及び複数の信号入力コネクタを含む。回路メイン基板における互いに反対側にある両側がそれぞれ第1の側面及び第2の側面として定義される。回路メイン基板は、第1の側面に複数の電源コネクタが設置されている。複数のチップキャリアベース体が第1の側面に設置され、各チップキャリアベース体はチップキャリア基板をキャリアし、チップキャリア基板の一方側はテスト対象ウェハーを固定して設置するために用いられる。複数の信号出力コネクタは回路メイン基板に設置され、各信号出力コネクタは外部信号リーダー装置と接続するために用いられる。複数のキャリアコネクタは、回路メイン基板の第2の側面に設置される。各信号キャリア基板は、複数のキャリアコネクタを通じて、回路メイン基板の第2の側面に取り外し可能に設置され、各信号キャリア基板はキャリアコネクタ及び回路メイン基板を介して、第1の側面のチップキャリアベース体に配置されたテスト対象ウェハーと電気的に接続される。各信号キャリア基板には少なくとも1つの信号入力コネクタが設置され、信号入力コネクタは信号入力線の一端のコネクタを挿着するために用いられる。ここで、テスト対象ウェハーは、チップキャリア基板及び回路メイン基板を通じて、対応する電源コネクタから外部電源が提供する電力を取得し、テスト対象ウェハーは、チップキャリア基板、回路メイン基板、信号キャリア基板及び信号入力コネクタを介して、信号入力線から伝送されたテスト信号を取得し、テスト対象ウェハーは、チップキャリア基板、回路メイン基板及び信号出力コネクタを通じて、信号を外部信号リーダー装置に伝送する。温度制御デバイスは、可動ドア、少なくとも1つのチャンバー及び少なくとも1つの温度制御装置を含み、可動ドアはチャンバーを密閉するために操作可能であり、温度制御装置はチャンバー内の温度を所定温度に保持するために使用され、チャンバーは少なくとも1つのテスト装置を収容可能で、それによって、収容されたテスト装置は所定温度でテストを行うことが可能である。
【0006】
総合すると、本発明のテスト装置及びテストシステムは、チップキャリア基板を取り外し可能に回路メイン基板の一方側に設置されたチップキャリアベース体に固定する設計と、信号キャリア基板を回路メイン基板の他方側に取り外し可能に固定し設置する他方の設計とを組み合わせることで、テスト担当者がテスト対象ウェハーのテスト要求に基づいて、チップキャリア基板や信号キャリア基板を変更または交換することにより、MIPIテスト要求に適合する条件でテストを行うことができるようにするものである。
【0007】
発明の特徴及び技術内容がより一層分かるように、以下本発明に関する詳細な説明と添付図面を参照する。しかし、提供される添付図面は参考と説明のために提供するものに過ぎず、本発明の特許請求の範囲を制限するためのものではない。
【図面の簡単な説明】
【0008】
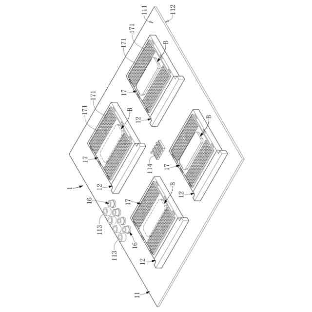
本発明のテスト装置にチップキャリア基板が設けられた状態を示す模式図である。
本発明のテスト装置にチップキャリア基板が設けられた状態を示す別の視角の模式図である。
本発明のテスト装置の回路メイン基板とチップキャリア基板を示す分解模式図である。
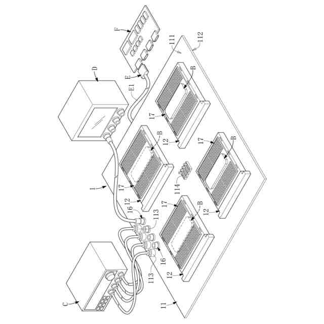
本発明のテスト装置が外部電源、外部信号リーダー装置及び外部信号入力装置に接続される模式図である。
本発明のテスト装置の回路メイン基板と信号キャリア基板を示す分解模式図である。
本発明のテスト装置における回路メイン基板に設置された信号キャリア基板を示す模式図である。
図6における断面線VII-VIIに沿った断面模式図である。
信号キャリア基板の平面図である。
図8の部分拡大模式図である。
本発明のテストシステムを示す模式図である。
【発明を実施するための形態】
【0009】
以下の説明において、特定の図面を参照する、あるいは特定の図面のように示される場合、それは後述の説明で触れられる内容が主にその特定の図面に示されていることを強調するためであり、後述の説明がその特定の図面にのみ依存しているわけではない。また、本発明の構成要素を明確に示すために、各図面における構成要素のサイズは参考のために示されており、実際のサイズに基づいて描かれているわけではないことを明記するものである。
【0010】
図1から図5を参照されたい。図1及び図2は、本発明のテスト装置にチップキャリア基板が設置されていることを異なる視角で示す模式図である。図3は本発明のテスト装置の回路メイン基板とチップキャリア基板を示す分解模式図であり、図4は本発明のテスト装置が外部電源、外部信号リーダー装置及び外部信号入力装置に接続されていることを示す模式図である。図5は本発明のテスト装置の回路メイン基板と信号キャリア基板を示す分解模式図である。
(【0011】以降は省略されています)
この特許をJ-PlatPat(特許庁公式サイト)で参照する
関連特許
コウ康科技股フン有限公司
強誘電体メモリ構造体
1か月前
コウ康科技股フン有限公司
テスト装置及びテストシステム
1日前
他の特許を見る