TOP
|
特許
|
意匠
|
商標
特許ウォッチ
Twitter
他の特許を見る
公開番号
2025177564
公報種別
公開特許公報(A)
公開日
2025-12-05
出願番号
2024084518
出願日
2024-05-24
発明の名称
おにぎりの具材欠品検査装置
出願人
ニッカ電測株式会社
代理人
個人
,
個人
主分類
G01N
21/95 20060101AFI20251128BHJP(測定;試験)
要約
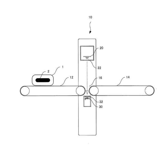
【課題】検査精度が高く、装置構成が廉価なおにぎりの具材欠品検査装置を提供する。
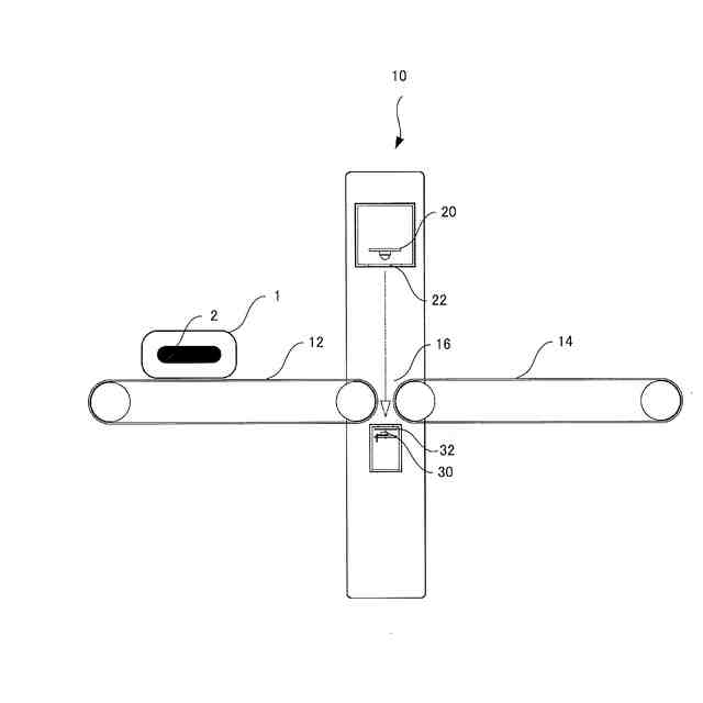
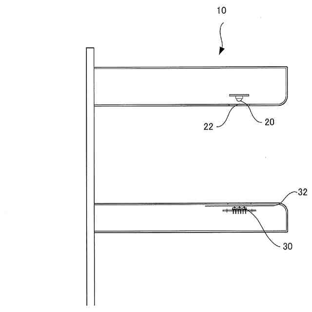
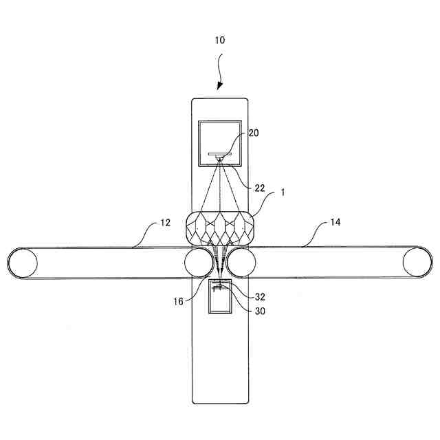
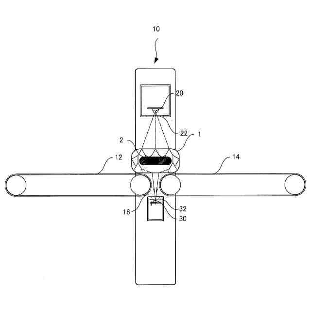
【解決手段】本発明のおにぎりの具材欠品検査装置10は、成形して個包装する前のおにぎり1を搬送するコンベアを分割した上流側コンベア12と下流側コンベア14の間に隙間16を設け、前記隙間16の上下に前記隙間16を通過する前記おにぎり1へ可視光のうちいずれか1つの狭帯域な単色光を照射する発光部20と、前記おにぎり1の内部で散乱して裏面から放出された検査光の光量を測定する光センサー30を対向配置し、前記検査光の光量に基づいて前記おにぎり1の具材の有無を判定する判定部40を備えたことを特徴としている。
【選択図】 図1
特許請求の範囲
【請求項1】
成形して個包装する前のおにぎりを搬送するコンベアを分割した上流側コンベアと下流側コンベアの間に隙間を設け、前記隙間の上下に前記隙間を通過する前記おにぎりへ可視光のうちいずれか1つの狭帯域な単色光を照射する発光部と、前記おにぎりの内部で散乱して裏面から放出された検査光の光量を測定する光センサーを対向配置し、前記検査光の光量に基づいて前記おにぎりの具材の有無を判定する判定部を備えたことを特徴とするおにぎりの具材欠品検査装置。
続きを表示(約 610 文字)
【請求項2】
請求項1に記載されたおにぎりの具材欠品検査装置であって、
前記発光部は、波長525nm又は波長625nmのLED素子であることを特徴とするおにぎりの具材欠品検査装置。
【請求項3】
請求項1に記載されたおにぎりの具材欠品検査装置であって、
前記光センサーは、センサー表面に前記発光部が照射する単色光又は前記おにぎりの具材の色と同色の光学フィルターを配置することを特徴とするおにぎりの具材欠品検査装置。
【請求項4】
請求項1ないし請求項3のいずれか1項に記載されたおにぎりの具材欠品検査装置であって、
前記光センサーは前記隙間に1つ配置、又は複数個を前記隙間に沿って並列配置することを特徴とするおにぎりの具材欠品検査装置。
【請求項5】
請求項4に記載されたおにぎりの具材欠品検査装置であって、
前記発光部は単色光を点滅で照射し、前記光センサーは、前記発光部の点滅と同期させた光量を測定することを特徴とするおにぎりの具材欠品検査装置。
【請求項6】
請求項4に記載されたおにぎりの具材欠品検査装置であって、
前記発光部は、単色光を疑似ランダムパルスの点滅で照射し、前記光センサーは、前記発光部の疑似ランダムパルスの点滅に同期させた光量を測定することを特徴とするおにぎりの具材欠品検査装置。
発明の詳細な説明
【技術分野】
【0001】
本発明は、おにぎりの製造ラインで具材が内包されずに成形されてしまった具材無しの欠品不良を非破壊検査するおにぎりの具材欠品検査装置に関する。
続きを表示(約 2,500 文字)
【背景技術】
【0002】
市販のおにぎりは、製造ラインにおいて、成形機で所定量のご飯に具材を入れて成形されている。そして個包装機でおにぎりを1個ずつフィルムで包装する。最後に金属探知機で異物混入のチェックを行うなどの工程で製造されている。このとき成形機で成形されたおにぎりを個包装機で包装する前に具材が内包されているかを検品する工程がある。個包装してから具材の欠陥が見つかるとフィルムが無駄になるためである。製造ライン上のおにぎり内部の具材を目視で検査することは不可能なため従来はX線検査装置が利用されている。X線検査装置は、食品製造ライン上で製品を通過させることで、製品の内部構造を可視化し、異物や欠陥の有無を検出する非破壊検査装置である。X線検査装置は高精度で信頼性が高く、製品の品質管理や食品安全の向上に大きく貢献しているが、装置が大型で設置場所が限定されることがあった。この他にも作業者への放射線被曝の不安、装置の高額化などの問題があった。
【0003】
その他、物品の検査装置として特許文献1のような光照射して検査する装置がある。この装置は、広帯域の光を照射する光照射部を有し、検査位置において広帯域の光の照射による物品の透過光の分光特性を測定する測定部を備えている。しかしながら広帯域の光は広範囲な波長に光のエネルギーが分散してしまい、検査を行う上で有利な波長域の光量の確保が難しくなる。
【0004】
また特許文献2に開示の検査装置は、検査対象物に近赤外線を照射する透過照明手段と、検査対象物の透過光信号を検出する透過光信号検出手段を備えている。しかし近赤外線は波長が長く物品に対して透過できる厚みが限定されていた。またおにぎりのような所定の水分を含む検査対象物は、近赤外線を吸収してしまい、20mm~50mmの厚みのあるおにぎりの具材の有無を検査することは難しかった。
【先行技術文献】
【特許文献】
【0005】
特許第7325390号公報
特開2004-333177号公報
【発明の概要】
【発明が解決しようとする課題】
【0006】
本発明が解決しようとする課題は、上記従来技術の問題点に鑑み、検査精度が高く、装置構成が廉価なおにぎりの具材欠品検査装置を提供することにある。
【課題を解決するための手段】
【0007】
本発明は、上記課題を解決するための第1の手段として、成形して個包装する前のおにぎりを搬送するコンベアを分割した上流側コンベアと下流側コンベアの間に隙間を設け、前記隙間の上下に前記隙間を通過する前記おにぎりへ可視光のうちいずれか1つの狭帯域な単色光を照射する発光部と、前記おにぎりの内部で散乱して裏面から放出された検査光の光量を測定する光センサーを対向配置し、前記検査光の光量に基づいて前記おにぎりの具材の有無を判定する判定部を備えたことを特徴とするおにぎりの具材欠品検査装置を提供することにある。
上記第1の手段によれば、廉価な光センサーであっても光量を測定でき、従来のカメラを用いた画像処理方式と比べて、装置全体として廉価となり、またおにぎりの具材の有無を高速搬送中であっても判定することができる。低出力の発光部であっても、単色光にすることで狭帯域に集中した充分な検査光量を廉価かつ小型な装置構成で測定することができ、おにぎりに対して照射した照射光の散乱と、散乱光全体での透過率を効率良く測定できる。
【0008】
本発明は、上記課題を解決するための第2の手段として、第1の手段において、前記発光部は、波長525nm又は波長625nmのLED素子であることを特徴とするおにぎりの具材欠品検査装置を提供することにある。
上記第2の手段によれば、良品(具材有り)に対する不良品(具材無し)の光センサーの出力電流比を比較したところ、525nm(緑色)では12倍であり、625nm(赤色)では5倍となり、電流値の差が大きく、精度良く判定することができる。
【0009】
本発明は、上記課題を解決するための第3の手段として、第1の手段において、前記光センサーは、センサー表面に前記発光部が照射する単色光又は前記おにぎりの具材の色と同色の光学フィルターを配置することを特徴とするおにぎりの具材欠品検査装置を提供することにある。
上記第3の手段によれば、検査光を通しやすく、外来光の雑多な波長成分の影響を防いで光センサーによる光量の測定精度を高めることができる。
【0010】
本発明は、上記課題を解決するための第4の手段として、第1ないし第3のいずれか1の手段において、前記光センサーは1つ配置、又は複数個の光センサーを隙間に沿って並列配置することを特徴とするおにぎりの具材欠品検査装置を提供することにある。
上記第4の手段によれば、光センサーの指向特性データから、相対感度が半減する角度は±20度の範囲となっており、おにぎりと光センサーの距離は概ね30mmとなる事から光センサーがおにぎりから再放射された検査光を受け取れるおにぎりの表面の有効範囲は直径22mmの円形となる。このときの製造工程上のおにぎりの搬送位置のズレによる光センサーの有効範囲の逸脱への余裕を±10mm考慮すると、22+10+10=42mmとなり、概ね40mmの直径までの小さいおにぎりについては1つの光センサーで検査をする必要がある。おにぎりが40mmを超える大きい場合には、おにぎりの搬送位置が±10mm程度ずれても確実に遮光出来る範囲が直径22mmの範囲を十分に超えるので、コンベアの隙間に沿って光センサーを複数配置しておにぎり内部を散乱して透過した光を効率的に捉えて合算することにより測定する光量の精度を上げて、小さい光量であっても測定することができる。
(【0011】以降は省略されています)
この特許をJ-PlatPat(特許庁公式サイト)で参照する
関連特許
ニッカ電測株式会社
おにぎりの具材欠品検査装置
1日前
他の特許を見る