TOP
|
特許
|
意匠
|
商標
特許ウォッチ
Twitter
他の特許を見る
10個以上の画像は省略されています。
公開番号
2025169989
公報種別
公開特許公報(A)
公開日
2025-11-14
出願番号
2025140456,2024006715
出願日
2025-08-26,2021-04-13
発明の名称
遊技機
出願人
株式会社三洋物産
代理人
個人
主分類
A63F
7/02 20060101AFI20251107BHJP(スポーツ;ゲーム;娯楽)
要約
【課題】遊技進行に関する所定の切り替えを好適に行うことが可能な遊技機を提供すること。
【解決手段】スルーゲート64を遊技球が通過すると、サポート抽選が実行されて普図遊技回が実行される。また、サポート抽選でサポート当選結果になると、それに基づき、普図遊技回の終了後、普電役物による役物開閉遊技が実行される。遊技状態として通常遊技状態よりも有利な時短遊技状態を有しており、予め定められたが成立すると、サポートフラグがセットされて時短遊技状態に対応した内部状態に移行する。サポート抽選の実行から所定開閉遊技の実行までの間における所定期間にて上記内部状態への変化が生じた場合に、その役物開閉遊技を時短遊技状態に対応した態様で実行することが可能となっている。
【選択図】 図4
特許請求の範囲
【請求項1】
遊技状態として、所定遊技状態と、前記所定遊技状態より遊技者にとって有利な特定遊技状態とを含む複数の遊技状態を有しており、
所定の状況で第1所定条件が成立した場合に、前記特定遊技状態への移行が後に実行され得ることとなる特定状態となるようにする第1手段と、
前記特定状態とされた後に第2所定条件が成立した場合に、前記特定状態とされた前記特定遊技状態への移行が実行されるようにする第2手段と、
を備えていることを特徴とする遊技機。
発明の詳細な説明
【技術分野】
【0001】
本発明は、遊技機に関するものである。
続きを表示(約 4,200 文字)
【背景技術】
【0002】
例えばパチンコ機等の遊技機においては、通常遊技状態と、それよりも遊技者にとって有利な遊技状態とを有し、所定条件の成立に基づいて遊技状態を切り替えるなどの制御を行い、遊技進行に関する各種切り替えを行うものが知られている(例えば特許文献1参照)。
【先行技術文献】
【特許文献】
【0003】
特開2004-81853号公報
【発明の概要】
【発明が解決しようとする課題】
【0004】
ここで、上記例示したような遊技機等においては遊技進行に関する所定の切り替えを行う上で未だ改善の余地がある。
【0005】
本発明は、上記例示した事情等に鑑みてなされたものであり、遊技進行に関する所定の切り替えを好適に行うことが可能な遊技機を提供することを目的とするものである。
【課題を解決するための手段】
【0006】
本発明は、
遊技状態として、所定遊技状態と、前記所定遊技状態より遊技者にとって有利な特定遊技状態とを含む複数の遊技状態を有しており、
所定の状況で第1所定条件が成立した場合に、前記特定遊技状態への移行が後に実行され得ることとなる特定状態となるようにする第1手段と、
前記特定状態とされた後に第2所定条件が成立した場合に、前記特定状態とされた前記特定遊技状態への移行が実行されるようにする第2手段と、
を備えていることを特徴とする。
【発明の効果】
【0007】
本発明によれば、遊技進行に関する所定の切り替えを好適に行うことが可能となる。
【図面の簡単な説明】
【0008】
一実施の形態におけるパチンコ機を示す正面図である。
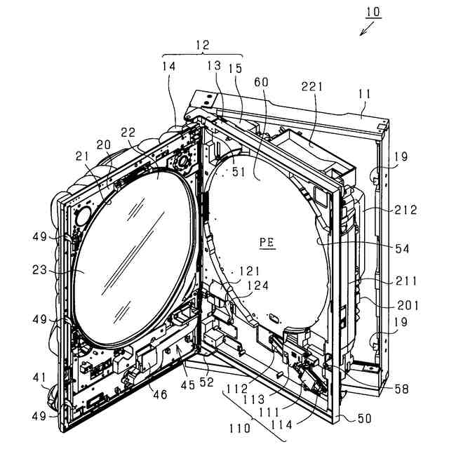
パチンコ機の主要な構成を展開して示す斜視図である。
パチンコ機の主要な構成を展開して示す斜視図である。
遊技盤の構成を示す正面図である。
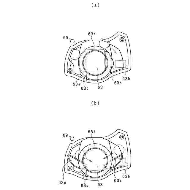
(a)は閉鎖状態である場合の第2作動口の概略図、(b)は開放状態である場合の第2作動口の概略図である。
(a)は閉鎖状態である場合の可変入賞装置の断面図、(b)は開放状態である場合の第1可変入賞装置の断面図である。
パチンコ機の電気的構成を示すブロック図である。
図柄表示装置の表示画面における表示内容を説明するための図である。
図柄表示装置の表示画面における表示内容を説明するための図である。
図柄表示装置の表示画面における表示内容を説明するための図である。
当否抽選などに用いられる各種カウンタの内容を説明するための説明図である。
当否テーブルの一例を示す図である。
(a)は第1特図用の大当たり種別テーブルの一例を示す図、(b)は第2特図用の大当たり種別テーブルの一例を示す図である。
(a)は大当たり用の変動表示時間テーブルの一例を示す図、(b)は外れ用の変動表示時間テーブルの一例を示す図である。
主制御装置のMPUにおけるNMI割込処理を示すフローチャートである。
タイマ割込み処理を示すフローチャートである。
作動口用の入賞処理を示すフローチャートである。
情報取得処理を示すフローチャートである。
メイン処理を示すフローチャートである。
通常処理を示すフローチャートである。
遊技回制御処理を示すフローチャートである。
データ設定処理を示すフローチャートである。
変動開始処理を示すフローチャートである。
変動表示時間の設定処理を示すフローチャートである。
遊技状態移行処理を示すフローチャートである。
大入賞口開閉処理を示すフローチャートである。
開閉実行モード終了時の移行処理を示すフローチャートである。
保留先読み処理を示すフローチャートである。
演出制御装置及びその周辺機器の電気的構成を示すブロック図である。
演出制御装置のMPUにおける演出設定処理を示すフローチャートである。
保留コマンド対応処理を示すフローチャートである。
保留用記憶エリアの構成を示す図である。
(a)保留予告演出を説明するための説明図、(b)は遊技回中の保留変化ポイントを説明するための説明図である。
保留予告用の設定処理を示すフローチャートである。
演出モードを説明するための説明図である。
最終表示態様抽選テーブルの一例を示す図である。
演出シナリオ抽選テーブルの一例を示す図である。
(a)は保留予告の第1実行用処理を示すフローチャート、(b)は表示態様記憶エリアの構成を示す図である。
変化示唆演出を説明するための図である。
(a)はシフト時コマンド対応処理を示すフローチャート、(b)は保留用画像のシフト処理を説明するための図である。
特図変動表示用処理を示すフローチャートである。
演出モード切替用処理を示すフローチャートである。
予告復帰用の設定処理を示すフローチャートである。
保留予告の第2実行用処理を示すフローチャートである。
保留予告の第3実行用処理を示すフローチャートである。
保留予告の昇格用処理を示すフローチャートである。
昇格判定用テーブルの一例を示す図である。
保留用画像の表示例を示す図である。
保留用画像の表示例を示す図である。
保留用画像の表示例を示す図である。
第2の実施の形態に係る保留コマンド対応処理を示すフローチャートである。
演出モード切替用処理を示すフローチャートである。
保留予告用の第2設定処理を示すフローチャートである。
特図変動表示用処理を示すフローチャートである。
保留用画像の表示例を示す図である。
第3の実施の形態に係る演出モード切替用処理を示すフローチャートである。
復帰判定用テーブルの一例を示す図である。
保留用画像の表示例を示す図である。
第4の実施の形態に係る変動表示時間テーブルの一例を示す図である。
保留予告用の設定処理を示すフローチャートである。
最終表示態様抽選テーブルの一例を示す図である。
最終表示態様抽選テーブルの一例を示す図である。
開閉実行モード用処理を示すフローチャートである。
予告復帰用の設定処理を示すフローチャートである。
復帰判定用テーブルの一例を示す図である。
保留用画像の表示例を示す図である。
保留用画像の表示例を示す図である。
(a)は第5の実施の形態に係る情報取得処理を示すフローチャート、(b)は保留コマンドの設定処理を示すフローチャートである。
保留コマンド対応処理を示すフローチャートである。
第1保留先読み処理を示すフローチャートである。
開閉実行モード用処理を示すフローチャートである。
第2保留先読み処理を示すフローチャートである。
予告復帰用の設定処理を示すフローチャートである。
上限表示態様テーブルの一例を示す図である。
保留用画像の表示例を示す図である。
保留用画像の表示例を示す図である。
第6の実施の形態に係る電気的構成を示すブロック図である。
演出制御装置のMPUにおけるメイン処理を示すフローチャートである。
通常処理を示すフローチャートである。
保留予告の復帰用処理を示すフローチャートである。
表示態様の設定処理を示すフローチャートである。
特図変動表示用処理を示すフローチャートである。
保留予告の第4実行用処理を示すフローチャートである。
保留予告の昇格用処理を示すフローチャートである。
保留用画像の表示例を示す図である。
保留用画像の表示例を示す図である。
(a)は第7の実施の形態に係るメイン処理を示すフローチャート、(b)は通常処理を示すフローチャートである。
演出設定処理を示すフローチャートである。
表示態様の設定処理を示すフローチャートである。
保留用画像の表示例を示す図である。
保留用画像の表示例を示す図である。
第8の実施の形態に係る演出モード切替用処理を示すフローチャートである。
モード切替用判定処理を示すフローチャートである。
演出モードの切替制限の態様を示す図である。
第9の実施の形態に係る演出モードの切替態様を示す図である。
演出モード切替用処理を示すフローチャートである。
保留コマンド対応処理を示すフローチャートである。
保留予告用の第2設定処理を示すフローチャートである。
保留用画像の表示例を示す図である。
第2の実施の形態に係る当否抽選などに用いられる各種カウンタの内容を説明するための説明図である。
【発明を実施するための形態】
【0009】
<第1の実施の形態>
以下、遊技機の一種であるパチンコ遊技機(以下、「パチンコ機」という)の第1の実施の形態を、図面に基づいて詳細に説明する。図1はパチンコ機10を正面側から見た斜視図、図2及び図3はパチンコ機10の主要な構成を展開して示す斜視図である。なお、図2では便宜上パチンコ機10の遊技領域PE内の構成を省略している。
【0010】
図1に示すように、パチンコ機10は、当該パチンコ機10の外殻を形成する外枠11と、この外枠11に取り付けられた遊技機本体12とを有している。
(【0011】以降は省略されています)
この特許をJ-PlatPat(特許庁公式サイト)で参照する
関連特許
株式会社三洋物産
遊技機
2か月前
株式会社三洋物産
遊技機
1か月前
株式会社三洋物産
遊技機
1か月前
株式会社三洋物産
遊技機
1か月前
株式会社三洋物産
遊技機
1か月前
株式会社三洋物産
遊技機
1か月前
株式会社三洋物産
遊技機
1か月前
株式会社三洋物産
遊技機
1か月前
株式会社三洋物産
遊技機
1か月前
株式会社三洋物産
遊技機
1か月前
株式会社三洋物産
遊技機
1か月前
株式会社三洋物産
遊技機
1か月前
株式会社三洋物産
遊技機
1か月前
株式会社三洋物産
遊技機
1か月前
株式会社三洋物産
遊技機
1か月前
株式会社三洋物産
遊技機
1か月前
株式会社三洋物産
遊技機
1か月前
株式会社三洋物産
遊技機
1か月前
株式会社三洋物産
遊技機
1か月前
株式会社三洋物産
遊技機
1か月前
株式会社三洋物産
遊技機
1か月前
株式会社三洋物産
遊技機
1か月前
株式会社三洋物産
遊技機
1か月前
株式会社三洋物産
遊技機
1か月前
株式会社三洋物産
遊技機
1か月前
株式会社三洋物産
遊技機
1か月前
株式会社三洋物産
遊技機
1か月前
株式会社三洋物産
遊技機
1か月前
株式会社三洋物産
遊技機
1か月前
株式会社三洋物産
遊技機
1か月前
株式会社三洋物産
遊技機
1か月前
株式会社三洋物産
遊技機
1か月前
株式会社三洋物産
遊技機
1か月前
株式会社三洋物産
遊技機
1か月前
株式会社三洋物産
遊技機
1か月前
株式会社三洋物産
遊技機
1か月前
続きを見る
他の特許を見る