TOP
|
特許
|
意匠
|
商標
特許ウォッチ
Twitter
他の特許を見る
10個以上の画像は省略されています。
公開番号
2025169988
公報種別
公開特許公報(A)
公開日
2025-11-14
出願番号
2025140455,2023087395
出願日
2025-08-26,2023-05-29
発明の名称
遊技機
出願人
株式会社三洋物産
代理人
個人
主分類
A63F
7/02 20060101AFI20251107BHJP(スポーツ;ゲーム;娯楽)
要約
【課題】好適な制御を行うことが可能な遊技機を提供する。
【解決手段】各入球部61~63,65,66,68,70への入球履歴を収集するとともに、収集した入球履歴に基づいて差球数や、停止用球数までの残り球数を導出し、その導出した残り球数が0個以下となることに基づいて遊技停止状態に移行させる。大当たり遊技中に残り球数が0個以下となった場合は大当たり遊技が終了してから遊技停止状態への移行が行われる。当たり保留が取得された場合、その先読み結果に基づいて当たり種別が特定されるとともに、その特定された当たり種別に対応する大当たり遊技が実行されたときの残り球数が予測される。その予測された残り球数が予告制限数以下である場合は、当該当たり保留を契機とする保留予告演出の実行が制限される。
【選択図】 図463
特許請求の範囲
【請求項1】
所定事象の発生に基づいて所定の遊技価値を付与可能な遊技機であって、
取得条件の成立に基づいて特別情報を取得する情報取得手段と、
前記情報取得手段により取得された特別情報を所定数を上限として記憶する取得情報記憶手段と、
前記取得情報記憶手段に記憶された特別情報に基づいて特定判定を実行する手段と、
遊技球が入球可能又は入球しやすい第1態様と、遊技球が入球不可又は前記第1態様よりも入球しにくい第2態様とに切り替わり可能な可変入球手段と、
前記特定判定の結果に基づいて、前記可変入球手段を前記第2態様から前記第1態様とし、その後、前記第2態様とする切替制御が少なくとも1回実行され得る特定状態に移行させることが可能な手段と、
を備え、
前記所定事象は、前記可変入球手段への遊技球の入球を含み、
所定契機の成立に基づいて所定情報を更新する更新手段と、
前記所定情報の更新結果が特定結果となった場合に特定制御を実行することが可能な特定制御実行手段と、
を備え、
前記所定契機として、前記所定事象の発生と前記所定の遊技価値の付与との少なくとも一方を有しており、
前記情報取得手段により取得された所定の特別情報について当該所定の特別情報が前記特定判定の対象となった場合における判定結果に対応する情報を、その特別情報が前記特定判定の対象となるより前のタイミングにおいて特定する先特定手段と、
前記所定情報の更新結果が前記特定結果となるより前の所定状況において、先特定手段の特定結果に基づいて遊技演出に関する所定制限が行われることを可能とする所定手段を備えていることを特徴とする遊技機。
発明の詳細な説明
【技術分野】
【0001】
本発明は、遊技機に関するものである。
続きを表示(約 4,900 文字)
【背景技術】
【0002】
遊技機としてパチンコ遊技機やスロットマシンなどが知られている。例えば、パチンコ遊技機では、遊技者の発射操作に応じて遊技領域に向けて遊技球が発射され、例えば遊技領域に設けられた入球部に遊技球が入球した場合に賞球等の遊技価値の付与が行われる(例えば特許文献1参照)。
【先行技術文献】
【特許文献】
【0003】
特開2004-81853号公報
【発明の概要】
【発明が解決しようとする課題】
【0004】
ここで、上記例示したような遊技機等においては好適な制御が望まれている。
【0005】
本発明は、上記例示した事情等に鑑みてなされたものであり、好適な制御を行うことが可能な遊技機を提供することを目的とするものである。
【課題を解決するための手段】
【0006】
本発明は、
所定事象の発生に基づいて所定の遊技価値を付与可能な遊技機であって、
取得条件の成立に基づいて特別情報を取得する情報取得手段と、
前記情報取得手段により取得された特別情報を所定数を上限として記憶する取得情報記憶手段と、
前記取得情報記憶手段に記憶された特別情報に基づいて特定判定を実行する手段と、
遊技球が入球可能又は入球しやすい第1態様と、遊技球が入球不可又は前記第1態様よりも入球しにくい第2態様とに切り替わり可能な可変入球手段と、
前記特定判定の結果に基づいて、前記可変入球手段を前記第2態様から前記第1態様とし、その後、前記第2態様とする切替制御が少なくとも1回実行され得る特定状態に移行させることが可能な手段と、
を備え、
前記所定事象は、前記可変入球手段への遊技球の入球を含み、
所定契機の成立に基づいて所定情報を更新する更新手段と、
前記所定情報の更新結果が特定結果となった場合に特定制御を実行することが可能な特定制御実行手段と、
を備え、
前記所定契機として、前記所定事象の発生と前記所定の遊技価値の付与との少なくとも一方を有しており、
前記情報取得手段により取得された所定の特別情報について当該所定の特別情報が前記特定判定の対象となった場合における判定結果に対応する情報を、その特別情報が前記特定判定の対象となるより前のタイミングにおいて特定する先特定手段と、
前記所定情報の更新結果が前記特定結果となるより前の所定状況において、先特定手段の特定結果に基づいて遊技演出に関する所定制限が行われることを可能とする所定手段を備えていることを特徴とする。
【発明の効果】
【0007】
本発明によれば、好適な制御を行うことが可能となる。
【図面の簡単な説明】
【0008】
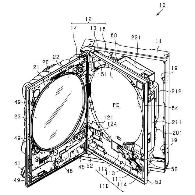
第1の実施の形態におけるパチンコ機を示す正面図である。
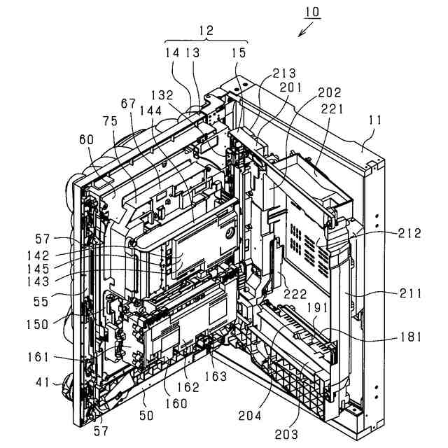
パチンコ機の主要な構成を展開して示す斜視図である。
パチンコ機の主要な構成を展開して示す斜視図である。
遊技盤の構成を示す正面図である。
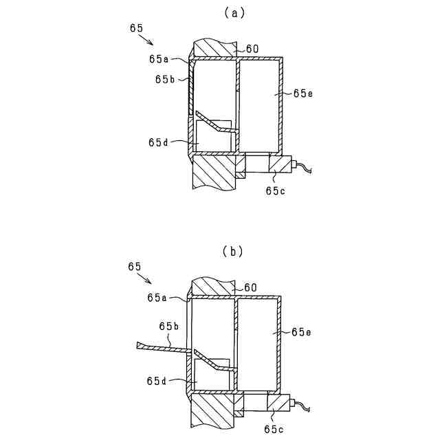
(a)は閉鎖状態である場合の第2作動口の概略図、(b)は開放状態である場合の第2作動口の概略図である。
(a)は閉鎖状態である場合の可変入賞装置の断面図、(b)は開放状態である場合の可変入賞装置の断面図である。
パチンコ機の電気的構成を示すブロック図である。
図柄表示装置の表示画面における表示内容を説明するための図である。
図柄表示装置の表示画面における表示内容を説明するための図である。
図柄表示装置の表示画面における表示内容を説明するための図である。
特図用表示部の構成を示す図である。
当否抽選などに用いられる各種カウンタの内容を説明するための説明図である。
(a)は低確率モード用の当否テーブルの一例を示す図、(b)は高確率モード用の当否テーブルの一例を示す図である。
(a)は第1特図用の大当たり種別テーブルの一例を示す図、(b)は第2特図用の大当たり種別テーブルの一例を示す図である。
(a)は特殊外れ結果の種別の一例を示す図、(b)は突然時短遊技状態の一例を示す図、(c)は天井時短遊技状態の一例を示す図である。
サポート抽選テーブルの一例を示す図である。
主制御装置のMPUにおけるタイマ割込み処理を示すフローチャートである。
作動口用の入賞処理を示すフローチャートである。
情報取得処理を示すフローチャートである。
通常処理を示すフローチャートである。
特図遊技回制御処理を示すフローチャートである。
データ設定処理を示すフローチャートである。
変動開始処理を示すフローチャートである。
第2特図に対応した大当たり用の停止結果テーブルの一例を示す図である。
(a)は第1特図に対応した大当たり用の停止結果テーブルの一例を示す図、(b)は特殊外れ用の停止結果テーブルの一例を示す図である。
(a)は第2特図に対応した通常外れ用の停止結果テーブルの一例を示す図、(b)は第1特図に対応した通常外れ用の停止結果テーブルの一例を示す図である。
遊技状態移行処理を示すフローチャートである。
大入賞口開閉処理を示すフローチャートである。
開閉実行モード終了時の移行処理を示すフローチャートである。
高頻度サポートモード更新用処理を示すフローチャートである。
天井時短遊技状態の移行判定用処理を示すフローチャートである。
優先用処理を示すフローチャートである。
突然時短遊技状態の移行判定用処理を示すフローチャートである。
変動表示時間の設定処理を示すフローチャートである。
変動表示時間テーブルの一例を示す図である。
図柄表示装置の表示例を示す図である。
変動表示時間テーブルの一例を示す図である。
変動表示時間テーブルの一例を示す図である。
高頻度サポートモード終了用処理を示すフローチャートである。
時短遊技状態の移行用処理を示すフローチャートである。
普図遊技回制御処理を示すフローチャートである。
(a)は普図変動開始処理を示すフローチャート、(b)は普図変動表示時間の一例を示す図である。
役物開閉遊技の一例を示す図である。
電役サポート用処理を示すフローチャートである。
役物開閉処理を示すフローチャートである。
演出制御装置及びその周辺機器の電気的構成を示すブロック図である。
演出制御装置のMPUにおける演出設定処理を示すフローチャートである。
第1移行用演出設定処理を示すフローチャートである。
図柄表示装置の表示例を示す図である。
残り回数用処理を示すフローチャートである。
特図変動表示用処理を示すフローチャートである。
変動開始用処理を示すフローチャートである。
遊技回用演出の第1設定処理を示すフローチャートである。
図柄表示装置の表示例を示す図である。
遊技回用演出の第2設定処理を示すフローチャートである。
遊技回用演出の第3設定処理を示すフローチャートである。
遊技回用演出の第4設定処理を示すフローチャートである。
図柄表示装置の表示例を示す図である。
外れ回数表示の更新用処理を示すフローチャートである。
(a)は第2移行用演出設定処理を示すフローチャート、(b)は図柄表示装置の表示例を示す図である。
(a)は第3移行用演出設定処理を示すフローチャート、(b)は終了用演出設定処理を示すフローチャートである。
時短遊技状態中の遊技の流れを説明するための説明図である。
時短遊技状態中の遊技の流れを説明するための説明図である。
時短遊技状態中の遊技の流れを説明するための説明図である。
図柄表示装置の表示例を示す図である。
第1の実施の形態の変形例1に係る図柄表示装置の表示例を示す図である。
図柄表示装置の表示例を示す図である。
図柄表示装置の表示例を示す図である。
第1の実施の形態の変形例2に係る変動開始処理を示すフローチャートである。
特殊外れ用の停止結果設定処理を示すフローチャートである。
停止結果テーブルの一例を示す図である。
変動表示時間テーブルの一例を示す図である。
時短遊技状態中の遊技の流れを説明するための説明図である。
特図用表示部の別例を示す図である。
図柄表示装置の表示例を示す図である。
第2の実施の形態に係る遊技領域を流下した遊技球の排出に関する構成を説明するための説明図である。
主制御装置の正面図である。
パチンコ機の電気的構成を示すブロック図である。
図柄表示装置の表示画面における表示内容を説明するための図である。
図柄表示装置の表示画面における表示内容を説明するための図である。
図柄表示装置の表示画面における表示内容を説明するための図である。
当否抽選などに用いられる各種カウンタの内容を説明するための説明図である。
主側ROMに記憶されている各種テーブルを説明するための説明図である。
報知用表示装置の表示内容を説明するための説明図である。
主側ROMのプログラム及びデータの設定態様を説明するための説明図である。
主側RAMにおける各エリアの設定態様を説明するための説明図である。
主制御装置のMPUにおけるメイン処理を示すフローチャートである。
設定値更新処理を示すフローチャートである。
設定確認用処理を示すフローチャートである。
タイマ割込み処理を示すフローチャートである。
特図特電制御処理を示すフローチャートである。
特図変動開始処理を示すフローチャートである。
入球検知センサの検知結果が入力されるようにする構成を説明するための説明図である。
入球検知処理を示すフローチャートである。
払出制御装置及び当該払出制御装置との間で通信を行う各種装置の電気的構成を説明するためのブロック図である。
払出制御装置のMPUにおけるタイマ割込み処理を示すフローチャートである。
ベース値及び差球数処理を示すフローチャートである。
ベース値及び差球数用実行処理を示すフローチャートである。
ベース値算出処理を示すフローチャートである。
非特定制御用のワークエリアにおける各エリアの設定態様を説明するための説明図である。
【発明を実施するための形態】
【0009】
<第1の実施の形態>
以下、遊技機の一種であるパチンコ遊技機(以下、「パチンコ機」という)の第1の実施の形態を、図面に基づいて詳細に説明する。図1はパチンコ機10を正面側から見た斜視図、図2及び図3はパチンコ機10の主要な構成を展開して示す斜視図である。なお、図2では便宜上パチンコ機10の遊技領域PE内の構成を省略している。
【0010】
図1に示すように、パチンコ機10は、当該パチンコ機10の外殻を形成する外枠11と、この外枠11に取り付けられた遊技機本体12とを有している。
(【0011】以降は省略されています)
この特許をJ-PlatPat(特許庁公式サイト)で参照する
関連特許
株式会社三洋物産
遊技機
1か月前
株式会社三洋物産
遊技機
2か月前
株式会社三洋物産
遊技機
1か月前
株式会社三洋物産
遊技機
1か月前
株式会社三洋物産
遊技機
1か月前
株式会社三洋物産
遊技機
1か月前
株式会社三洋物産
遊技機
1か月前
株式会社三洋物産
遊技機
1か月前
株式会社三洋物産
遊技機
1か月前
株式会社三洋物産
遊技機
1か月前
株式会社三洋物産
遊技機
1か月前
株式会社三洋物産
遊技機
1か月前
株式会社三洋物産
遊技機
1か月前
株式会社三洋物産
遊技機
1か月前
株式会社三洋物産
遊技機
1か月前
株式会社三洋物産
遊技機
1か月前
株式会社三洋物産
遊技機
1か月前
株式会社三洋物産
遊技機
1か月前
株式会社三洋物産
遊技機
1か月前
株式会社三洋物産
遊技機
1か月前
株式会社三洋物産
遊技機
1か月前
株式会社三洋物産
遊技機
1か月前
株式会社三洋物産
遊技機
1か月前
株式会社三洋物産
遊技機
1か月前
株式会社三洋物産
遊技機
2か月前
株式会社三洋物産
遊技機
24日前
株式会社三洋物産
遊技機
24日前
株式会社三洋物産
遊技機
24日前
株式会社三洋物産
遊技機
24日前
株式会社三洋物産
遊技機
1か月前
株式会社三洋物産
遊技機
2か月前
株式会社三洋物産
遊技機
2か月前
株式会社三洋物産
遊技機
2か月前
株式会社三洋物産
遊技機
2か月前
株式会社三洋物産
遊技機
1か月前
株式会社三洋物産
遊技機
2か月前
続きを見る
他の特許を見る