TOP
|
特許
|
意匠
|
商標
特許ウォッチ
Twitter
他の特許を見る
10個以上の画像は省略されています。
公開番号
2025166957
公報種別
公開特許公報(A)
公開日
2025-11-07
出願番号
2024071170
出願日
2024-04-25
発明の名称
遊技機
出願人
株式会社大一商会
代理人
主分類
A63F
7/02 20060101AFI20251030BHJP(スポーツ;ゲーム;娯楽)
要約
【課題】視覚ハンデを有する作業者による遊技機の製造過程における作業性を向上させることが可能な遊技機を提供する。
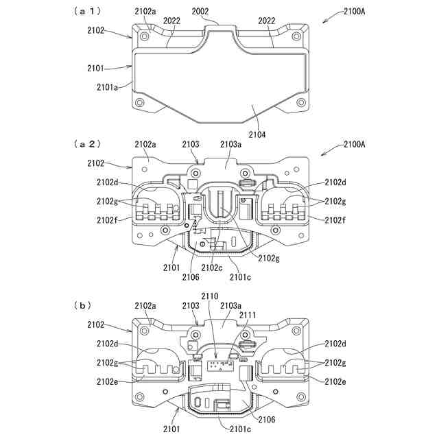
【解決手段】遊技球が流下可能な流下領域を有する遊技盤を備えたパチンコ機において、遊技球の流路として遊技盤内に設けられる中流路部2102の所定位置には、凹凸形状で表記された凹凸表記部2111が設けられており、凹凸表記部2111による文字情報は指先で指触可能に設けられているものであり、中流路部2102は、遊技盤内の所定位置に設けられる球経路ユニット2100Aに取付けられるように構成した上で、球経路ユニット2100Aに対して正しく取付けられている場合には、直接視認する場合よりも凹凸表記部2111が外部から視認し難くなり、間違えて取付けられている場合には、球経路ユニット2100Aに正しく取付けられている場合よりも凹凸表記部2111が外部から視認し易くなるようにする。
【選択図】図160
特許請求の範囲
【請求項1】
遊技球が流下可能な流下領域を有する遊技盤を備えた遊技機において、
遊技球の流路として前記遊技盤内に設けられる所定流路部があり、
該所定流路部の所定位置には、凹凸形状で表記された凹凸表記部が設けられており、
該凹凸表記部は、前記所定流路部に関する文字情報であって、該文字情報は指先で指触可能に設けられているものであり、
前記所定流路部は、前記遊技盤内の所定位置に設けられる所定ユニットに取付けられるように構成されており、
前記所定流路部は、前記所定ユニットに対して正しく取付けられている場合には、直接視認する場合よりも前記凹凸表記部が外部から視認し難くなり、前記所定ユニットに対して間違えて取付けられている場合には、前記所定流路部に正しく取付けられている場合よりも前記凹凸表記部が外部から視認し易くなっており、
前記凹凸表記部は、点字表記であり、
前記所定流路部は、前記所定ユニットに対し嵌合するように取付けされており、
さらに当該遊技機は、前記凹凸表記部が設けられない特定流路部を有している
ことを特徴とする遊技機。
発明の詳細な説明
【技術分野】
【0001】
本発明は、ぱちんこ遊技機(一般的に「パチンコ機」とも称する)のような遊技機に関するものである。
続きを表示(約 2,100 文字)
【背景技術】
【0002】
パチンコ機のような遊技機として、前面の所定位置に、遊技者が触ることが可能な点字表示部を設けたものが提案されている(例えば、特許文献1)。この特許文献1の技術では、点字表示部には、収容部から突出している突出位置と、収容部に収容されている非突出位置との間で移動可能な複数の接触部材が設けられている。これら複数の接触部材は、所定の配列で設けられており、突出位置へ移動させる接触部材の組合せによって所望の点字を表示することができる。これにより、点字表示部において遊技状態を認識させる内容の点字を表示させることにより、視覚障碍者や視弱者のような視覚にハンデ(視覚ハンデ)を有する遊技者でも、遊技を楽しませることができる。
【0003】
一方、遊技機の製造過程では、視覚ハンデを有する作業者への配慮が十分になされていないため、当該作業者が部品の取出作業や組立作業等を行うことが困難であったり、作業性が悪かったりする問題があった。
【先行技術文献】
【特許文献】
【0004】
特開2006-254947号公報
【発明の概要】
【発明が解決しようとする課題】
【0005】
そこで、本発明は、上記の実情に鑑み、視覚ハンデを有する作業者による遊技機の製造過程における作業性を向上させることが可能な遊技機の提供を課題とするものである。
【課題を解決するための手段】
【0006】
上記した目的を達成するために、請求項1に係る発明においては、
遊技球が流下可能な流下領域を有する遊技盤を備えた遊技機において、
遊技球の流路として前記遊技盤内に設けられる所定流路部があり、
該所定流路部の所定位置には、凹凸形状で表記された凹凸表記部が設けられており、
該凹凸表記部は、前記所定流路部に関する文字情報であって、該文字情報は指先で指触可能に設けられているものであり、
前記所定流路部は、前記遊技盤内の所定位置に設けられる所定ユニットに取付けられるように構成されており、
前記所定流路部は、前記所定ユニットに対して正しく取付けられている場合には、直接視認する場合よりも前記凹凸表記部が外部から視認し難くなり、前記所定ユニットに対して間違えて取付けられている場合には、前記所定流路部に正しく取付けられている場合よりも前記凹凸表記部が外部から視認し易くなっており、
前記凹凸表記部は、点字表記であり、
前記所定流路部は、前記所定ユニットに対し嵌合するように取付けされており、
さらに当該遊技機は、前記凹凸表記部が設けられない特定流路部を有している
ことを特徴とする。
また、本願発明とは別の発明として、以下の手段を例示する。
手段1:遊技機において、
「遊技球が流下可能な流下領域を有する遊技盤を備えた遊技機において、
遊技球の流路として前記遊技盤内に設けられる所定流路部があり、
該所定流路部の所定位置には、凹凸形状で表記された凹凸表記部が設けられており、
該凹凸表記部は、前記所定流路部に関する文字情報であって、該文字情報は指先で指触可能に設けられているものであり、
前記所定流路部は、前記遊技盤内の所定位置に設けられる所定ユニットに取付けられるように構成されており、
前記所定流路部は、前記所定ユニットに対して正しく取付けられている場合には、直接視認する場合よりも前記凹凸表記部が外部から視認し難くなり、前記所定ユニットに対して間違えて取付けられている場合には、前記所定流路部に正しく取付けられている場合よりも前記凹凸表記部が外部から視認し易くなる」
ことを特徴とする。
【0007】
ここで、「所定流路部」としては、遊技球が流通する孔や通路(流路)を有している構成部品であっても良いし、複数の構成部品からなる組立部品(所定ユニットとは異なるユニット)であっても良い。また、「所定流路部」としては、所定ユニットの構成部品とは異なるものであっても良いし、所定ユニットの構成部品であっても良い。
【0008】
また、「所定ユニット」としては、「始動口ユニット」、「サイドユニット(フリックユニット)」、「アタッカユニット」、「センター役物」、「球振分ユニット」、「役物入賞口ユニット」、のような前方に遊技領域が設けられる平板状の遊技パネルの前面側に設けられるユニットであっても良いし、「裏球経路ユニット」、「球排出ユニット」、のような遊技パネルの後方に設けられるユニットであっても良い。
【0009】
また、「凹凸表記部」としては、「点字」、「記号」、「アルファベット」、「数字」、「漢字」、「平仮名」、「片仮名」、等が挙げられる。
【0010】
更に、「文字情報」としては、取付方向、取付位置(取付場所)、部品名、取付対象の部品名、等が挙げられる。
(【0011】以降は省略されています)
この特許をJ-PlatPat(特許庁公式サイト)で参照する
関連特許
株式会社大一商会
遊技機
16日前
株式会社大一商会
遊技機
17日前
株式会社大一商会
遊技機
17日前
株式会社大一商会
遊技機
17日前
株式会社大一商会
遊技機
17日前
株式会社大一商会
遊技機
17日前
株式会社大一商会
遊技機
17日前
株式会社大一商会
遊技機
17日前
株式会社大一商会
遊技機
17日前
株式会社大一商会
遊技機
17日前
株式会社大一商会
遊技機
17日前
株式会社大一商会
遊技機
17日前
株式会社大一商会
遊技機
17日前
株式会社大一商会
遊技機
17日前
株式会社大一商会
遊技機
17日前
株式会社大一商会
遊技機
17日前
株式会社大一商会
遊技機
17日前
株式会社大一商会
遊技機
17日前
株式会社大一商会
遊技機
17日前
株式会社大一商会
遊技機
17日前
株式会社大一商会
遊技機
17日前
株式会社大一商会
遊技機
17日前
株式会社大一商会
遊技機
17日前
株式会社大一商会
遊技機
17日前
株式会社大一商会
遊技機
17日前
株式会社大一商会
遊技機
17日前
株式会社大一商会
遊技機
17日前
株式会社大一商会
遊技機
17日前
株式会社大一商会
遊技機
17日前
株式会社大一商会
遊技機
16日前
株式会社大一商会
遊技機
16日前
株式会社大一商会
遊技機
16日前
株式会社大一商会
遊技機
16日前
株式会社大一商会
遊技機
16日前
株式会社大一商会
遊技機
16日前
株式会社大一商会
遊技機
16日前
続きを見る
他の特許を見る