TOP
|
特許
|
意匠
|
商標
特許ウォッチ
Twitter
他の特許を見る
10個以上の画像は省略されています。
公開番号
2025166474
公報種別
公開特許公報(A)
公開日
2025-11-06
出願番号
2024070545
出願日
2024-04-24
発明の名称
遊技機
出願人
株式会社大一商会
代理人
主分類
A63F
7/02 20060101AFI20251029BHJP(スポーツ;ゲーム;娯楽)
要約
【課題】新規な演出を実行することが可能な遊技機を提供すること。
【解決手段】遊技領域内の入球領域へ遊技球が入球したことに基づき遊技球を付与可能な遊技機において、特定領域へ遊技球が入球した場合にカウント値を更新可能な複数のカウント値更新手段と前記カウント値に基づいたカウント表示を表示可能なカウント表示制御手段とカウント表示が表示開始される際にカウント表示関連音を出力させ得る音出力手段とを備え、カウント表示として所定カウント表示と特定カウント表示があり、カウント表示関連音を伴って表示される特定カウント表示は、特定領域へ遊技球が入球することによって、前回表示されていた値から更新された値が特定期間中に表示され得るものであり、カウント表示関連音を伴って表示される特定カウント表示にて前回表示されていた値と同じ値が特定期間中に再び表示されることはない。
【選択図】図489
特許請求の範囲
【請求項1】
遊技機において、
当該遊技機に設けられる入球領域のうち、少なくとも特定領域へ遊技球が入球した場合にカウント値を更新可能な複数のカウント値更新手段と、
前記カウント値に基づいたカウント表示を表示可能なカウント表示制御手段と、
前記カウント表示が表示開始される際にカウント表示関連音を出力させ得る音出力手段と、を備え、
前記カウント表示としては少なくとも、前記複数のカウント値更新手段のうち所定カウント値更新手段にて更新され得る所定カウント値に基づいた所定カウント表示があり、
また、前記所定カウント表示とは別に、前記所定カウント値更新手段とは別のカウント値更新手段にて更新され得るカウント値に基づいた特定カウント表示があり、
前記特定カウント表示が、前記カウント表示関連音を伴って表示される場合、該カウント表示関連音を伴って表示される特定カウント表示は、前記特定領域へ遊技球が入球することによって、該カウント表示関連音を伴って表示される特定カウント表示にて前回表示されていた値から更新された値が特定期間中に表示され得るものであり、
前記カウント表示関連音を伴って表示される特定カウント表示にて前回表示されていた値と同じ値が前記特定期間中に再び表示されることはないものであり、
前記カウント表示関連音の音量を調整可能な調整手段を有し、
前記所定カウント表示は、所定の表示装置に表示可能である
ことを特徴とする遊技機。
発明の詳細な説明
【技術分野】
【0001】
本発明は、弾球遊技機(一般的に「パチンコ機」とも称する。)や回胴式遊技機(一般的に「パチスロ機」とも称する。)等の遊技機に関するものである。
続きを表示(約 5,500 文字)
【背景技術】
【0002】
演出を実行することが可能な遊技機が従来知られている(例えば、特許文献1)。
【先行技術文献】
【特許文献】
【0003】
特開2001-137471号公報
【発明の概要】
【発明が解決しようとする課題】
【0004】
しかしながら、演出にはさらなる工夫の余地がある。
【0005】
本発明は、そのような実情に鑑み、工夫が施された演出を実行可能な遊技機を提供することを目的とする。
【課題を解決するための手段】
【0006】
本発明は、
遊技機において、
当該遊技機に設けられる入球領域のうち、少なくとも特定領域へ遊技球が入球した場合にカウント値を更新可能な複数のカウント値更新手段と、
前記カウント値に基づいたカウント表示を表示可能なカウント表示制御手段と、
前記カウント表示が表示開始される際にカウント表示関連音を出力させ得る音出力手段と、を備え、
前記カウント表示としては少なくとも、前記複数のカウント値更新手段のうち所定カウント値更新手段にて更新され得る所定カウント値に基づいた所定カウント表示があり、
また、前記所定カウント表示とは別に、前記所定カウント値更新手段とは別のカウント値更新手段にて更新され得るカウント値に基づいた特定カウント表示があり、
前記特定カウント表示が、前記カウント表示関連音を伴って表示される場合、該カウント表示関連音を伴って表示される特定カウント表示は、前記特定領域へ遊技球が入球することによって、該カウント表示関連音を伴って表示される特定カウント表示にて前回表示されていた値から更新された値が特定期間中に表示され得るものであり、
前記カウント表示関連音を伴って表示される特定カウント表示にて前回表示されていた値と同じ値が前記特定期間中に再び表示されることはないものであり、
前記カウント表示関連音の音量を調整可能な調整手段を有し、
前記所定カウント表示は、所定の表示装置に表示可能である
ことを特徴とする。
【発明の効果】
【0007】
本発明によれば、工夫が施された演出を実行可能な遊技機を提供することができる
【図面の簡単な説明】
【0008】
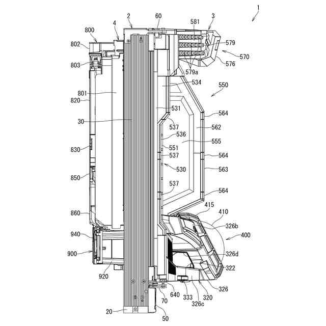
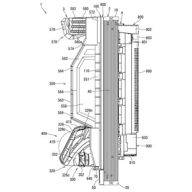
本発明の一実施形態であるパチンコ機の正面図である。
パチンコ機の右側面図である。
パチンコ機の左側面図である。
パチンコ機の背面図である。
パチンコ機を右前から見た斜視図である。
パチンコ機を左前から見た斜視図である。
パチンコ機を後ろから見た斜視図である。
本体枠から扉枠を開放させると共に、外枠から本体枠を開放させた状態で前から見たパチンコ機の斜視図である。
パチンコ機を扉枠、遊技盤、本体枠、及び外枠に分解して前から見た分解斜視図である。
パチンコ機を扉枠、遊技盤、本体枠、及び外枠に分解して後ろから見た分解斜視図である。
パチンコ機における外枠の正面図である。
外枠の右側面図である。
外枠を前から見た斜視図である。
外枠を後ろから見た斜視図である。
外枠を分解して前から見た分解斜視図である。
(a)は外枠における外枠側上ヒンジ部材の部位を、左枠部材を省略して下側から見た斜視図であり、(b)は(a)を分解して示す分解斜視図である。
(a)は外枠の外枠側上ヒンジ部材に対して本体枠の本体枠側上ヒンジ部材が取外されている状態を拡大して示す斜視図であり、(b)は外側上ヒンジ部材に本体側上ヒンジ部材が取付けられている状態を拡大して示す斜視図である。
外枠におけるロック部材の作用を示す説明図である。
パチンコ機における扉枠の正面図である。
扉枠の右側面図である。
扉枠の左側面図である。
扉枠の背面図である。
扉枠を右前から見た斜視図である。
扉枠を左前から見た斜視図である。
扉枠を後ろから見た斜視図である。
図19におけるA-A線で切断した断面図である。
図19におけるB-B線で切断した断面図である。
図19におけるC-C線で切断した断面図である。
扉枠を主な部材毎に分解して前から見た分解斜視図である。
扉枠を主な部材毎に分解して後ろから見た分解斜視図である。
(a)は扉枠における扉枠ベースユニットを前から見た斜視図であり、(b)は扉枠ベースユニットを後ろから見た斜視図である。
扉枠ベースユニットを主な部材毎に分解して前から見た分解斜視図である。
扉枠ベースユニットを主な部材毎に分解して後ろから見た分解斜視図である。
(a)は扉枠における演出操作ユニットの正面図であり、(b)は演出操作ユニットの右側面図である。
(a)は演出操作ユニットを前から見た斜視図であり、(b)は演出操作ユニットを後ろから見た斜視図である。
演出操作ユニットを、操作ボタンの中心軸の延びている方向から見た説明図である。
図34(a)におけるD-D線で切断した断面図である。
図34(b)におけるE-E線で切断した断面図である。
(a)は図34(b)におけるF-F線で切断した断面図であり、(b)は(a)におけるA部の拡大図である。
演出操作ユニットを主な部材毎に分解して前から見た分解斜視図である。
演出操作ユニットを主な部材毎に分解して後ろから見た分解斜視図である。
(a)は操作ボタンを分解して前から見た分解斜視図であり、(b)は操作ボタンを分解して後ろから見た分解斜視図である。
演出操作ユニットの装飾基板ユニットを分解して前から見た分解斜視図である。
図37の演出操作ユニットの断面図において操作ボタンを押圧した状態を示す説明図である。
(a)は演出操作ユニットを操作ボタンの中心軸の延びている方向から見た図において操作ボタンの一部を切欠いて操作ボタンの第一ボタン装飾部やボタンフレーム等によって隠そうとしている部位を示す説明図であり、(b)は演出操作ユニットの断面図において操作ボタンの第一ボタン装飾部やボタンフレーム等によって隠そうとしている部位を示す説明図である。
(a)は演出操作ユニットの外観を前から見た斜視図で示す説明図であり、(b)は演出操作ユニットの外観を操作ボタンの中心軸の延びている方向から見た説明図である。
(a)は扉枠における扉枠左サイドユニットの正面図であり、(b)は扉枠左サイドユニットを前から見た斜視図であり、(c)は扉枠左サイドユニットを後ろから見た斜視図である。
扉枠左サイドユニットを分解して前から見た分解斜視図である。
扉枠左サイドユニットを分解して後ろから見た分解斜視図である。
図47(a)におけるL-L線で切断した断面図である。
(a)は扉枠における扉枠右サイドユニットの正面図であり、(b)は扉枠右サイドユニットを前から見た斜視図であり、(c)は扉枠右サイドユニットを後ろから見た斜視図である。
扉枠右サイドユニットを分解して前から見た分解斜視図である。
扉枠右サイドユニットを分解して後ろから見た分解斜視図である。
図51(a)におけるM-M線で切断した断面図である。
(a)は図51(a)におけるN-N線で切断した断面図であり、(b)は図51(a)におけるO-O線で切断した断面図である。
(a)は扉枠における扉枠トップユニットの正面図であり、(b)は扉枠トップユニットを前から見た斜視図であり、(c)は扉枠トップユニットを後ろから見た斜視図である。
扉枠トップユニットを分解して前から見た分解斜視図である。
扉枠トップユニットを分解して後ろから見た分解斜視図である。
図56におけるP-P線で切断した断面図である。
遊技盤の正面図である。
遊技盤を主な構成毎に分解して前から見た分解斜視図である。
遊技盤を主な構成毎に分解して後ろから見た分解斜視図である。
表ユニットと裏ユニットを除いた遊技盤の正面図である。
図63の遊技盤を分解して前から見た分解斜視図である。
図63の遊技盤を分解して後ろから見た分解斜視図である。
遊技盤をパチンコ機に取付けた状態で機能表示ユニットの部位を正面から拡大して示す説明図である。
図63とは異なる形態の遊技パネルを、前構成部材、基板ホルダ、及び主制御ユニットと共に前から見た分解斜視図である。
図67を後ろから見た分解斜視図である。
主制御基板、払出制御基板及び周辺制御基板のブロック図である。
図69のつづきを示すブロック図である。
主基板を構成する払出制御基板とCRユニット及び度数表示板との電気的な接続を中継する遊技球等貸出装置接続端子板に入出力される各種検出信号の概略図である。
図69のつづきを示すブロック図である。
周辺制御MPUの概略を示すブロック図である。
液晶及び音制御部における音源内蔵VDP周辺のブロック図である。
パチンコ機の電源システムを示すブロック図である。
図75のつづきを示すブロック図である。
主制御基板の回路を示す回路図である。
停電監視回路を示す回路図である。
主制御基板と周辺制御基板との基板間の通信用インターフェース回路を示す回路図である。
払出制御部の回路等を示す回路図である。
払出制御入力回路を示す回路図である。
図81の続きを示す回路図である。
払出モータ駆動回路を示す回路図である。
CRユニット入出力回路を示す回路図である。
主制御基板との各種入出力信号、及び外部端子板への各種出力信号を示す入出力図である。
外部端子板の出力端子の配列を示す図である。
扉枠側液晶表示装置の表示領域の描画を行う液晶モジュール回路を示す回路図である。
主制御基板から払出制御基板へ送信される各種コマンドの一例を示すテーブルである。
主制御基板から周辺制御基板へ送信される各種コマンドの一例を示すテーブルである。
図89の主制御基板から周辺制御基板へ送信される各種コマンドのつづきを示すテーブルである。
主制御基板が受信する払出制御基板からの各種コマンドの一例を示すテーブルである。
主制御側電源投入時処理の一例を示すフローチャートである。
図92の主制御側電源投入時処理のつづきを示すフローチャートである。
主制御側タイマ割り込み処理の一例を示すフローチャートである。
周辺制御部電源投入時処理の一例を示すフローチャートである。
周辺制御部Vブランク割り込み処理の一例を示すフローチャートである。
周辺制御部1msタイマ割り込み処理の一例を示すフローチャートである。
周辺制御部コマンド受信割り込み処理の一例を示すフローチャートである。
周辺制御部停電予告信号割り込み処理の一例を示すフローチャートである。
LOCKN信号履歴作成処理の一例を示すフローチャートである。
【発明を実施するための形態】
【0009】
[1.パチンコ機の全体構造]
本発明の一実施形態であるパチンコ機1について、図面を参照して詳細に説明する。まず、図1乃至図10を参照して本実施形態のパチンコ機1の全体構成について説明する。図1は本発明の一実施形態であるパチンコ機の正面図である。図2はパチンコ機の右側面図であり、図3はパチンコ機の左側面図であり、図4はパチンコ機の背面図である。図5はパチンコ機を右前から見た斜視図であり、図6はパチンコ機を左前から見た斜視図であり、図7はパチンコ機を後ろから見た斜視図である。また、図8は本体枠から扉枠を開放させると共に、外枠から本体枠を開放させた状態で前から見たパチンコ機の斜視図である。図9はパチンコ機を扉枠、遊技盤、本体枠、及び外枠に分解して前から見た分解斜視図であり、図10はパチンコ機を扉枠、遊技盤、本体枠、及び外枠に分解して後ろから見た分解斜視図である。
【0010】
本実施形態のパチンコ機1は、遊技店の島設備(図示しない)に設置される枠状の外枠2と、外枠2の前面を開閉可能に閉鎖する扉枠3と、扉枠3を開閉可能に支持していると共に外枠2に開閉可能に取付けられている本体枠4と、本体枠4に前側から着脱可能に取付けられると共に扉枠3を通して遊技者側から視認可能とされ遊技者によって遊技球が打込まれる遊技領域5aを有した遊技盤5と、を備えている。
(【0011】以降は省略されています)
この特許をJ-PlatPat(特許庁公式サイト)で参照する
関連特許
株式会社大一商会
遊技機
13日前
株式会社大一商会
遊技機
13日前
株式会社大一商会
遊技機
13日前
株式会社大一商会
遊技機
13日前
株式会社大一商会
遊技機
13日前
株式会社大一商会
遊技機
13日前
株式会社大一商会
遊技機
13日前
株式会社大一商会
遊技機
13日前
株式会社大一商会
遊技機
13日前
株式会社大一商会
遊技機
13日前
株式会社大一商会
遊技機
13日前
株式会社大一商会
遊技機
13日前
株式会社大一商会
遊技機
13日前
株式会社大一商会
遊技機
13日前
株式会社大一商会
遊技機
13日前
株式会社大一商会
遊技機
13日前
株式会社大一商会
遊技機
13日前
株式会社大一商会
遊技機
13日前
株式会社大一商会
遊技機
13日前
株式会社大一商会
遊技機
13日前
株式会社大一商会
遊技機
13日前
株式会社大一商会
遊技機
25日前
株式会社大一商会
遊技機
25日前
株式会社大一商会
遊技機
2か月前
株式会社大一商会
遊技機
2か月前
株式会社大一商会
遊技機
2か月前
株式会社大一商会
遊技機
1か月前
株式会社大一商会
遊技機
13日前
株式会社大一商会
遊技機
13日前
株式会社大一商会
遊技機
1か月前
株式会社大一商会
遊技機
13日前
株式会社大一商会
遊技機
12日前
株式会社大一商会
遊技機
12日前
株式会社大一商会
遊技機
12日前
株式会社大一商会
遊技機
12日前
株式会社大一商会
遊技機
13日前
続きを見る
他の特許を見る