TOP
|
特許
|
意匠
|
商標
特許ウォッチ
Twitter
他の特許を見る
10個以上の画像は省略されています。
公開番号
2025165037
公報種別
公開特許公報(A)
公開日
2025-11-04
出願番号
2024068876
出願日
2024-04-22
発明の名称
遊技機
出願人
株式会社三洋物産
代理人
個人
主分類
A63F
7/02 20060101AFI20251027BHJP(スポーツ;ゲーム;娯楽)
要約
【課題】 遊技の進行に伴う演出を好適に実行可能とした遊技機を提供する。
【解決手段】 大当り抽選又は復活抽選に当選した遊技回を含む復活チャンス演出が実行される場合において、確認可能期間が設定される場合があり、確認可能期間中においては、可動表示装置480に表示される魚778A,778Bの表示態様として2種類の魚が同数となる態様をとることで当選確定情報の出力中となり、当選確定情報が確認可能に表示される。遊技者は当選確定情報を確認しようと意図したタイミングで、当選確定情報を確認するために魚キャラ告知を構成する表示対象を注視させる一定以上の時間を必要とすることができ、遊技情報を能動的に確認するために一定の領域を注視する行為を必要とする遊技性を提供することができる。
【選択図】 図167
特許請求の範囲
【請求項1】
所定の取得契機の成立に基づいて特別情報を取得する特別情報取得手段と、
前記特別情報取得手段により取得された特別情報を複数記憶可能な取得情報記憶手段と、
前記取得情報記憶手段に記憶されている特別情報が所定の判定情報と対応しているか否かの判定を順次行う判定手段と、
前記判定手段により前記判定が行われることに先立って又は前記判定手段により前記判定が行われたことに基づいて遊技回用動作が開始され、前記判定の結果に対応した報知結果が報知されることで前記遊技回用動作が終了されることを遊技回の1回として、前記取得情報記憶手段に記憶されている特別情報に応じて各遊技回の前記遊技回用動作が行われるように報知手段を制御する遊技回制御手段と、
前記判定手段による判定結果が前記所定の判定情報に対応した判定結果となり、前記遊技回制御手段による前記遊技回用動作が終了したことに基づいて遊技状態を通常遊技状態よりも遊技者に有利な特別遊技状態に移行させる特別遊技状態移行手段と、
表示部を有し、当該表示部における所定の表示領域にて絵柄の可変表示を含む遊技演出を実行可能な表示手段と、
前記判定手段により前記判定が行われることに先立って又は前記判定手段により前記判定が行われたことに基づいて前記表示手段において絵柄の可変表示の開始を含む遊技演出を開始させ、前記判定手段による判定結果に対応した絵柄の停止表示をすることで遊技演出を終了させる遊技演出制御手段と、
遊技者が操作可能な操作手段と、
前記操作手段が操作されることに基づいて前記遊技演出に関する設定を可変させることが可能な演出設定手段とを備え、
前記表示手段によって所定の遊技演出が実行される場合に、当該所定の遊技演出の開始より前から又は当該所定の遊技演出の開始以降において設定される確認可能期間中において、遊技者に対して所定の遊技情報を確認可能に出力する遊技情報出力手段が設けられ、
前記遊技情報出力手段として、
複数種類の表示態様をとる表示対象が所定の表示領域内における複数の位置に設けられ、当該表示対象の表示態様が前記所定の遊技情報として設定された表示態様をとることで前記所定の遊技情報を確認可能に出力する遊技情報出力手段が設けられることを特徴とする遊技機。
発明の詳細な説明
【技術分野】
【0001】
本発明は、弾球遊技機に代表される遊技機に関する。
続きを表示(約 6,800 文字)
【背景技術】
【0002】
従来の遊技機として、遊技領域に設けられた始動口に入球した場合に、その入球に応じて演出を実行可能な遊技機が知られている(例えば、特許文献1参照)。
【先行技術文献】
【特許文献】
【0003】
特開2002-78904号公報
【発明の概要】
【発明が解決しようとする課題】
【0004】
しかしながら、始動口への入球により取得した情報に基づく演出を実行可能な構成について、未だ改良の余地がある可能性がある。
【0005】
本発明は、遊技の進行に伴う演出を好適に実行可能とした遊技機を提供することを目的としている。
【課題を解決するための手段】
【0006】
本発明に係る遊技機は、上記の課題を解決するために、
所定の取得契機の成立に基づいて特別情報を取得する特別情報取得手段と、
前記特別情報取得手段により取得された特別情報を複数記憶可能な取得情報記憶手段と、
前記取得情報記憶手段に記憶されている特別情報が所定の判定情報と対応しているか否かの判定を順次行う判定手段と、
前記判定手段により前記判定が行われることに先立って又は前記判定手段により前記判定が行われたことに基づいて遊技回用動作が開始され、前記判定の結果に対応した報知結果が報知されることで前記遊技回用動作が終了されることを遊技回の1回として、前記取得情報記憶手段に記憶されている特別情報に応じて各遊技回の前記遊技回用動作が行われるように報知手段を制御する遊技回制御手段と、
前記判定手段による判定結果が前記所定の判定情報に対応した判定結果となり、前記遊技回制御手段による前記遊技回用動作が終了したことに基づいて遊技状態を通常遊技状態よりも遊技者に有利な特別遊技状態に移行させる特別遊技状態移行手段と、
表示部を有し、当該表示部における所定の表示領域にて絵柄の可変表示を含む遊技演出を実行可能な表示手段と、
前記判定手段により前記判定が行われることに先立って又は前記判定手段により前記判定が行われたことに基づいて前記表示手段において絵柄の可変表示の開始を含む遊技演出を開始させ、前記判定手段による判定結果に対応した絵柄の停止表示をすることで遊技演出を終了させる遊技演出制御手段と、
遊技者が操作可能な操作手段と、
前記操作手段が操作されることに基づいて前記遊技演出に関する設定を可変させることが可能な演出設定手段とを備え、
前記表示手段によって所定の遊技演出が実行される場合に、当該所定の遊技演出の開始より前から又は当該所定の遊技演出の開始以降において設定される確認可能期間中において、遊技者に対して所定の遊技情報を確認可能に出力する遊技情報出力手段が設けられ、
前記遊技情報出力手段として、
複数種類の表示態様をとる表示対象が所定の表示領域内における複数の位置に設けられ、当該表示対象の表示態様が前記所定の遊技情報として設定された表示態様をとることで前記所定の遊技情報を確認可能に出力する遊技情報出力手段が設けられることを特徴としている。
【発明の効果】
【0007】
本発明は、遊技の進行に伴う演出を好適に実行可能とした遊技機を提供することができる。
【図面の簡単な説明】
【0008】
遊技機の一例としてのパチンコ機の正面側斜視図
パチンコ機を開放状態で示す斜視図
パチンコ機を他の開放状態で示す斜視図
パチンコ機を更に他の開放状態で示す斜視図
パチンコ機の正面図
パチンコ機の前ブロックを取り外した状態を示す正面図
遊技盤の正面図
パチンコ機の背面側斜視図
パチンコ機の背面図
パチンコ機の電気的な構成を示すブロック図
主制御メイン処理の一例を示すフローチャート
主制御割込み処理の一例を示すフローチャート
左可動部材と右可動部材との作動状態を示す遊技盤の正面図
遊技盤の斜視図
図7のXM-XM線を含む切断面による複数の装飾部の近傍を示す部分切断斜視図及び断面図
図7のXD-XD線を含む切断面による複数の装飾部の近傍を示す部分切断斜視図及び断面図
図7のXU-XU線を含む切断面による複数の装飾部の近傍を示す部分切断斜視図及び断面図
反射装飾部を設けた遊技盤の正面図
反射装飾部による演出に関与する主要部の相対位置を示す遊技盤の正面図
図18のY1-Y1を含む切断面による反射装飾体の近傍を示す斜視断面図
環状配置光源からの光が反射装飾部に照射される形態を説明するために、図18のY1-Y1を含む切断面による反射装飾体の近傍を模式的に示す断面図
中央装飾体の発光に用いられる光源からの光が反射装飾体に照射される形態を説明するために、図18のY1-Y1を含む切断面による反射装飾体の近傍を模式的に示す断面図
特典領域に遊技球が進入可能なラウンドにおける上進入規制機構及び振分機構の動作制御を模式的に示すタイミングチャート
図7のY2-Y2線を含む切断面による断面により、上進入規制機構及び振分機構の動作形態を示す断面図
特典領域へ遊技球が進入可能となるラウンドにおける演出の制御を示すタイミングチャート
特典領域へ遊技球が進入可能となるラウンドにおける演出の推移を模式的に示す説明図
図5のX1-X1を含む切断面により入力操作装置の配置、構造及び動作を模式的に示す説明図
確変予定の特別遊技状態における片手参加型の演出の制御であって、当該演出に遊技者が参加する場合の制御を示すタイミングチャート
片手参加型の演出の推移を模式的に示す説明図
時短予定の特別遊技状態における片手参加型の演出の制御であって、当該演出に遊技者が参加する場合の制御を示すタイミングチャート
確変予定の特別遊技状態における片手参加型の演出の制御であって、当該演出に遊技者が参加しない場合の制御を示すタイミングチャート
図5のX1-X1を含む切断面により右入力操作装置及び左入力操作装置の配置、構造及び動作を模式的に示す説明図
確変予定の特別遊技状態における両手参加型の演出の制御であって、当該演出に遊技者が参加する場合の制御を示すタイミングチャート
確変予定の特別遊技状態における両手参加型の演出の推移であって、当該演出に遊技者が参加する場合の推移を模式的に示す説明図
時短予定の特別遊技状態における両手参加型の演出の制御であって、当該演出に遊技者が参加する場合の制御を示すタイミングチャート
確変予定の特別遊技状態における両手参加型の演出の制御であって、当該演出に遊技者が参加しない場合の制御を示すタイミングチャート
確変予定の特別遊技状態の両手参加型の演出に遊技者が参加する場合以外における両手参加型の演出の推移を模式的に示す説明図
図5のX1-X1を含む切断面により左入力レバー及び右入力レバーの前後方向の動作を模式的に示す説明図
確変予定の特別遊技状態における両手参加型の演出の図33に示す場合とは別の制御であって、当該演出に遊技者が参加する場合の制御を示すタイミングチャート
左入力レバーや右入力レバーが回転移動する場合の動作制御を示す説明図
確変予定の特別遊技状態における両手参加型の演出の図34に示す場合とは別の推移であって、当該演出に遊技者が参加する場合の推移を模式的に示す説明図
時短予定の特別遊技状態における両手参加型の演出の図35に示す場合とは別の制御であって、当該演出に遊技者が参加する場合の制御を示すタイミングチャート
確変予定の特別遊技状態における両手参加型の演出の図36に示す場合とは別の制御であって、当該演出に遊技者が参加しない場合の制御を示すタイミングチャート
V入賞演出で動作する複数の可動部を備えた遊技盤の正面図
V入賞演出で動作する複数の可動部とそれらの動作に関連する構成を示す斜視図
V入賞演出で動作する右前可動部の動作形態を模式的に示す説明図
V入賞演出において複数の可動部が通常配置から出現配置に移動する推移を模式的に示す説明図
V入賞演出において複数の可動部が出現配置から通常配置に戻るまでの推移を模式的に示す説明図
進展情報付き発展型演出における進展情報の表示場所を示す説明図
進展情報付き発展型演出における進展情報の表示形態の概要を模式的に示す説明図
進展情報付き発展型演出であって演出の発展先を遊技者によって選択可能な演出の推移を示す説明図
進展情報付き発展型演出であって演出の発展先を遊技者の操作によって変化可能な演出の推移を示す説明図
進展情報付き発展型演出であって所定の条件の成立に応じて進行する演出の推移を示す説明図
進展情報付き発展型演出であって演出の発展先を遊技者の操作に依らずに選択する演出の推移を示す説明図
進展情報付き発展型演出であって始動条件の成立に基づく保留の先読みで発生する保留先読み発展型演出に対する前兆演出の推移を示す説明図
保留先読み発展型演出の推移を示す説明図
保留先読み発展型演出の継続時間に応じて変化する進展情報を示す説明図
保留先読み発展型演出の継続時間の延長に伴う進展情報の変化を示す説明図
保留先読み発展型演出の継続時間の延長に伴う進展情報の他の変化を示す説明図
保留された変動表示における演出の変更方法を示す表
特別遊技状態中における特殊表示演出及びその実行の示唆表示の推移を模式的に示す説明図
特別遊技状態から移行した特定遊技状態中における特殊表示演出及び示唆表示の推移を模式的に示す説明図
特殊表示演出の実行中における特別遊技状態に移行する遊技回での特殊表示演出及び示唆表示の推移を説明する説明図
遊技制限機能付きパチンコ機の電気的な構成を示すブロック図
遊技制限機能を説明するための主制御基板のタイマ割込み処理を示すフローチャート
遊技制限機能付きパチンコ機における差球情報を表示可能な遊技盤の正面図
主制御基板からの受信コマンドと差球表示装置及び装飾図柄表示装置における差球情報表示との対応を表にして示す説明図
電源の供給の開始に伴う差球情報表示の指示制御を説明するための主制御基板のメイン処理を示すフローチャート
遊技制限機能の発動前後における遊技進行の推移を説明するためのタイミングチャート
差球情報表示の変更制御を示す説明図
電源の供給開始時における差球情報の表示制御を説明するための説明図
制限数到達後の遊技継続状態中に対応した復電処理であることの判別に用いられるコマンドの構成を示す説明図
装飾図柄表示装置及び可動表示装置における表示演出を含む表示内容の制限数到達に基づく変化を示す説明図
特別遊技状態における遊技者による操作が可能な演出の実行中での制限数到達(図73(A)に示す制限数到達A)に基づく表示内容の変化を示す説明図
特別遊技継続状態において操作対象の作動が終了した場合の表示内容を示す説明図
特別遊技継続状態において各種の大入賞装置の作動が完了した場合の表示内容を示す説明図
特別遊技継続状態後の打止め状態における表示内容を示す説明図
特別遊技状態における主人公キャラクタの動作が他のキャラクタからの作用に基づき変化可能な演出の実行中での制限数到達(図73(A)に示す制限数到達B)に基づく表示内容の変化を示す説明図
特別遊技状態における主人公キャラクタの動作が他のキャラクタからの作用に基づき変化可能な演出の実行中での制限数到達(図73(D)に示す制限数到達C)に基づく表示内容の変化を示す説明図
特別遊技状態における特殊表示演出の実行中での制限数到達に基づく表示内容の変化を示す説明図
制限数到達Dに基づく特別遊技継続状態で大入賞装置の作動が完了した場合の表示内容を示す説明図
特殊表示演出の実行中の小当りでの制限数到達(図73(D)に示す制限数到達E)に基づく表示内容の変化を示す説明図
制限数到達Eに基づく小当り遊技継続状態で大入賞装置の作動が完了した場合の表示内容を示す説明図
装飾図柄の変動表示中での制限数到達に基づく装飾図柄による図柄表示の推移の一例を模式的に示す説明図
装飾図柄の変動表示中での制限数到達に基づく装飾図柄による図柄表示の推移の他の一例を模式的に示す説明図
差球に応じた始動口動作装置の動作制御の別例を説明するフローチャート
制限数到達に伴って普通図柄に係る遊技継続状態が発生する場合と発生しない場合とを示す説明図
特別図柄に係る遊技継続状態の後に普通図柄に係る遊技継続状態が発生する場合と発生しない場合とを示す説明図
可動表示装置における差球情報表示が開始される場合に実行される可動表示装置での表示の推移例を示す説明図
可動表示装置における差球情報表示の表示態様を変更する場合に実行される可動表示装置での表示の推移例を示す説明図
可動表示装置における差球情報表示を継続する場合に実行される可動表示装置での表示の推移例を示す説明図
可動表示装置における差球情報表示中に制限数到達となる場合に実行される可動表示装置での表示の推移例を示す説明図
可動表示装置における差球情報表示が終了する場合に実行される可動表示装置での表示の推移例を示す説明図
封入式パチンコ機の構成例を模式的に示す説明図
封入式パチンコ機の電気的な構成例を示すブロック図
封入式パチンコ機における遊技モードでの動作制御と検査モードでの動作制御との選択的な実行を説明するために、主制御基板のメイン処理の一例を示すフローチャート
検査モード処理の一例を示すフローチャート
上大入賞装置及びそれに関連して動作する装置の動作の一例を説明するためのタイミングチャート
検査モード中における検査対象及びその報知を説明するために、遊技盤を模式的に示す説明図
複数種類の演出仕様変更の契機を示す説明図
【発明を実施するための形態】
【0009】
本発明に係る遊技機の実施形態について、図1から図395を参照して、遊技機の一種である弾球遊技機の一例としてのパチンコ機の構成、作用効果、変形例、他の遊技機等について説明する。実施形態においては、 図1から図173までの一群の説明を前半部分として説明し、図174から図395までの後半部分の説明は前半部分とは別の一群の説明であって用語の定義が異なり、符号の説明が異なる場合を含む。まず、図1から図173を参照して、前半部分としてのパチンコ機の実施形態について説明する。
【0010】
<構造的な構成>
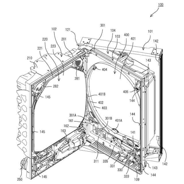
まず、図1から図9を主に参照して、パチンコ機100の構造部分の構成について説明する。図1~図4は、パチンコ機100の各種状態を示す斜視図であり、図1はパチンコ機100の閉鎖状態を示し、図2は外枠101に対して前ブロック102及び中間ブロック103が一体的に開放されている状態を示し、図3は中間ブロック103に対して前ブロック102が開放されている状態を示し、図4は中間ブロック103に対して後ブロック104が開放されている状態を示している。また、図5は、パチンコ機100の正面図であり、図6は、図5の状態からパチンコ機100の前ブロック102を取り外した状態を示している。なお、各図において各種の配線は省略されており、また、図3及び図6において遊技盤400の構成の一部は省略されている。
(【0011】以降は省略されています)
この特許をJ-PlatPat(特許庁公式サイト)で参照する
関連特許
株式会社三洋物産
遊技機
1か月前
株式会社三洋物産
遊技機
1か月前
株式会社三洋物産
遊技機
1か月前
株式会社三洋物産
遊技機
1か月前
株式会社三洋物産
遊技機
1か月前
株式会社三洋物産
遊技機
1か月前
株式会社三洋物産
遊技機
1か月前
株式会社三洋物産
遊技機
1か月前
株式会社三洋物産
遊技機
1か月前
株式会社三洋物産
遊技機
1か月前
株式会社三洋物産
遊技機
1か月前
株式会社三洋物産
遊技機
1か月前
株式会社三洋物産
遊技機
1か月前
株式会社三洋物産
遊技機
1か月前
株式会社三洋物産
遊技機
1か月前
株式会社三洋物産
遊技機
1か月前
株式会社三洋物産
遊技機
1か月前
株式会社三洋物産
遊技機
1か月前
株式会社三洋物産
遊技機
1か月前
株式会社三洋物産
遊技機
1か月前
株式会社三洋物産
遊技機
1か月前
株式会社三洋物産
遊技機
1か月前
株式会社三洋物産
遊技機
1か月前
株式会社三洋物産
遊技機
1か月前
株式会社三洋物産
遊技機
1か月前
株式会社三洋物産
遊技機
1か月前
株式会社三洋物産
遊技機
1か月前
株式会社三洋物産
遊技機
1か月前
株式会社三洋物産
遊技機
1か月前
株式会社三洋物産
遊技機
1か月前
株式会社三洋物産
遊技機
1か月前
株式会社三洋物産
遊技機
1か月前
株式会社三洋物産
遊技機
1か月前
株式会社三洋物産
遊技機
1か月前
株式会社三洋物産
遊技機
1か月前
株式会社三洋物産
遊技機
1か月前
続きを見る
他の特許を見る