TOP
|
特許
|
意匠
|
商標
特許ウォッチ
Twitter
他の特許を見る
10個以上の画像は省略されています。
公開番号
2025163774
公報種別
公開特許公報(A)
公開日
2025-10-30
出願番号
2024067286
出願日
2024-04-18
発明の名称
遊技機
出願人
株式会社三洋物産
代理人
個人
主分類
A63F
5/04 20060101AFI20251023BHJP(スポーツ;ゲーム;娯楽)
要約
【課題】遊技興趣の向上を図ることが可能な遊技機を提供する。
【解決手段】遊技区間としては、通常区間と、有利区間と、がある。有利区間は、チャンスモードと、ラッシュ確定CZモードと、ラッシュG数決定モードと、通常ボーナスモードと、ラッシュモードと、エンディングモードと、により構成されている。ラッシュ確定CZモードには、確定CZ抽選に当選した場合に移行し、ラッシュ確定CZモードに移行した場合には、ラッシュモードへの移行が確定する。ここで、確定CZ抽選に当選した場合には、通常区間を経てラッシュ確定CZモードに移行することがあり、かかる通常区間では、有利区間への移行抽選に当選したゲームでラッシュ確定CZモードにおける遊技モード処理を行う。通常区間からラッシュ確定CZモードには、内部中である場合に移行する。
【選択図】 図574
特許請求の範囲
【請求項1】
遊技価値を用いることで遊技が可能となり、遊技結果が付与条件を満たしたものとなった場合に前記遊技価値を付与する遊技機において、
遊技状態として、役の抽選結果が特定結果となった場合に特定入賞を成立させることが可能な特定操作方法が報知され得る特定遊技状態と、前記役の抽選結果が前記特定結果となった場合に前記特定操作方法が報知されない非特定遊技状態と、を有し、
前記特定遊技状態は、1遊技回あたりの遊技価値付与数の期待値が1回の遊技に必要な遊技価値数よりも少ない所定遊技モードと、1遊技回あたりの遊技価値付与数の期待値が1回の遊技に必要な遊技価値数よりも多い特定遊技モードと、を備え、
遊技回が開始された場合に起動される遊技回開始時処理は、
今遊技回の遊技状態を判定する遊技状態判定処理と、
前記遊技状態判定処理において前記非特定遊技状態であると判定した場合に起動され、少なくとも前記特定遊技状態に移行させるか否かを判定する状態移行判定処理を行う非特定遊技状態処理と、
前記遊技状態判定処理において前記特定遊技状態であると判定した場合に起動され、少なくとも今遊技回の遊技モードに応じた遊技モード処理を行う特定遊技状態処理と
を備え、
前記状態移行判定処理において前記特定遊技状態に移行させると判定した場合、前記非特定遊技状態処理が終了した後に前記特定遊技状態処理が起動される構成としたことを特徴とする遊技機。
続きを表示(約 950 文字)
【請求項2】
前記遊技状態を示す状態情報を記憶する記憶手段として、第1状態情報記憶手段と、第2状態情報記憶手段と、を備え、前記非特定遊技状態処理は、前記状態移行判定処理において前記特定遊技状態に移行させると判定した場合、前記第2状態情報記憶手段に前記特定遊技状態であることを示す特定状態情報を記憶させる第1設定処理を備え、前記遊技回開始時処理は、前記第2状態情報記憶手段に記憶された状態情報を前記第1状態情報記憶手段に記憶させる第2設定処理を備え、前記遊技状態判定処理を、前記第2設定処理において前記第1状態情報記憶手段に記憶される状態情報に基づいて、今遊技回の遊技状態を判定する構成としたことを特徴とする請求項1に記載の遊技機。
【請求項3】
遊技モードを示すモード情報を記憶する記憶手段として、第1モード情報記憶手段と、第2モード情報記憶手段と、を備え、前記非特定遊技状態処理は、前記状態移行判定処理において前記特定遊技状態に移行させると判定した場合、移行先の遊技モードを示すモード情報を前記第2モード情報記憶手段に記憶させる第3設定処理を備え、前記特定遊技状態処理は、前記第2モード情報記憶手段に記憶されたモード情報を前記第1モード情報記憶手段に記憶させる第4設定処理を備え、前記第4設定処理において前記第1モード情報記憶手段に記憶されるモード情報に応じた遊技モード処理を行うことを特徴とする請求項2に記載の遊技機。
【請求項4】
前記遊技モード処理は、他の遊技モードへ移行させるか否かを判定するモード移行判定処理と、前記モード移行判定処理において他の遊技モードへ移行させると判定した場合、移行先の遊技モードを示すモード情報を前記第2モード情報記憶手段に記憶させる第5設定処理と、を少なくとも備えることを特徴とする請求項3に記載の遊技機。
【請求項5】
前記状態移行判定処理を、役の抽選結果が所定結果であるか否かを判定し、前記役の抽選結果が前記所定結果であれば前記特定遊技状態に移行させる判定となり、前記役の抽選結果が前記所定結果でなければ前記特定遊技状態に移行させない判定となる構成としたことを特徴とする請求項4に記載の遊技機。
発明の詳細な説明
【技術分野】
【0001】
本発明は、スロットマシン等の遊技機に関するものである。
続きを表示(約 4,300 文字)
【背景技術】
【0002】
複数のリールを回転させたあとに停止させる遊技機としては、例えばスロットマシンがある。スロットマシンでは、各リールの外周部に複数の図柄が付与されており、表示窓を通じて各リールに付与された図柄の一部が視認可能な構成となっている。そして、遊技者がメダルを投入することで有効ラインが設定され、その後、遊技者がスタートレバーを操作することでスロットマシンの内部にてビッグボーナス(以下、「BB」という)役や小役、再遊技といった役の抽選が行われるとともに各リールが回転を開始し、各リールが回転を開始した後にストップスイッチを操作することで各リールが順次停止して1回のゲームが終了する。そして、全てのリールが回転を停止した際に有効ライン上に当選した役と対応する図柄の組合せが停止すると入賞となり、メダルが払い出される特典や遊技状態が移行される特典等が遊技者に付与される(例えば特許文献1参照)。
【0003】
近年では、遊技者に有利な遊技状態として、BB入賞が成立すると移行するBB状態の他に、所定の役に当選した場合に所定の入賞を成立させるためのストップスイッチの操作順序を報知するアシストタイム(以下、「AT」という)状態を備えたものもある。
【先行技術文献】
【特許文献】
【0004】
特開2002-355364号公報
【発明の概要】
【発明が解決しようとする課題】
【0005】
上記例示したような遊技機においては、さらなる遊技興趣の向上が求められている。
【0006】
なお、以上の問題は、上記例示したようなスロットマシンに限らず、複数種の絵柄を循環表示させ、その後の停止操作手段の操作に基づいて循環表示を終了させる他の遊技機にも該当する問題である。
【0007】
本発明は上記事情に鑑みてなされたものであり、遊技興趣の向上を図ることが可能な遊技機を提供することを目的とするものである。
【課題を解決するための手段】
【0008】
請求項1に記載の発明では、遊技価値を用いることで遊技が可能となり、遊技結果が付与条件を満たしたものとなった場合に前記遊技価値を付与する遊技機において、遊技状態として、役の抽選結果が特定結果となった場合に特定入賞を成立させることが可能な特定操作方法が報知され得る特定遊技状態と、前記役の抽選結果が前記特定結果となった場合に前記特定操作方法が報知されない非特定遊技状態と、を有し、前記特定遊技状態は、1遊技回あたりの遊技価値付与数の期待値が1回の遊技に必要な遊技価値数よりも少ない所定遊技モードと、1遊技回あたりの遊技価値付与数の期待値が1回の遊技に必要な遊技価値数よりも多い特定遊技モードと、を備え、遊技回が開始された場合に起動される遊技回開始時処理は、今遊技回の遊技状態を判定する遊技状態判定処理と、前記遊技状態判定処理において前記非特定遊技状態であると判定した場合に起動され、少なくとも前記特定遊技状態に移行させるか否かを判定する状態移行判定処理を行う非特定遊技状態処理と、前記遊技状態判定処理において前記特定遊技状態であると判定した場合に起動され、少なくとも今遊技回の遊技モードに応じた遊技モード処理を行う特定遊技状態処理とを備え、前記状態移行判定処理において前記特定遊技状態に移行させると判定した場合、前記非特定遊技状態処理が終了した後に前記特定遊技状態処理が起動される構成としたことを特徴とする。
【発明の効果】
【0009】
遊技興趣の向上を図ることが可能となる。
【図面の簡単な説明】
【0010】
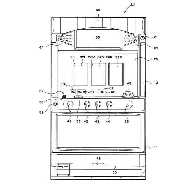
一実施の形態におけるスロットマシンの正面図。
前面扉を閉じた状態を示すスロットマシンの斜視図。
前面扉を開いた状態を示すスロットマシンの斜視図。
前面扉の背面図。
筐体の正面図。
各リールの図柄配列を示す図。
表示窓から視認可能となる図柄と組合せラインとの関係を示す説明図。
入賞態様と付与される特典との関係を示す説明図。
スロットマシンのブロック図。
タイマ割込み処理を示すフローチャート。
通常処理を示すフローチャート。
抽選処理を示すフローチャート。
3枚遊技における抽選テーブルの一例を示す図。
2枚遊技における抽選テーブルの一例を示す図。
リール制御処理を示すフローチャート。
疑似遊技判定処理を示すフローチャート。
回転開始処理を示すフローチャート。
コマンド送信処理1を示すフローチャート。
指示モニタ表示処理を示すフローチャート。
コマンド送信処理2を示すフローチャート。
停止制御処理を示すフローチャート。
停止位置決定処理を示すフローチャート。
移行準備処理を示すフローチャート。
遊技区間の移行を説明するための説明図。
通常区間における区間抽選処理を示すフローチャート。
通常区間における遊技区間処理を示すフローチャート。
チャンスモードにおける区間抽選処理を示すフローチャート。
チャンスモードにおける遊技区間処理を示すフローチャート。
終了判定処理を示すフローチャート。
報知モードにおける区間抽選処理を示すフローチャート。
疑似遊技における回転態様及び表示態様の一例を示す図。
疑似遊技における回転態様及び表示態様の一例を示す図。
疑似遊技にて用いられるスベリテーブルを示す図。
疑似遊技にて用いられるスベリテーブルを示す図。
疑似遊技における回転態様及び表示態様の一例を示す図。
報知モードにおける遊技区間処理を示すフローチャート。
第2の実施の形態におけるリール制御処理を示すフローチャート。
指示モニタ表示処理を示すフローチャート。
停止制御処理を示すフローチャート。
停止位置決定処理を示すフローチャート。
表示制御装置における演出決定処理を示すフローチャート。
表示制御装置における演出実行処理を示すフローチャート。
表示制御装置における上乗せ報知処理を示すフローチャート。
(a)第3の実施の形態における疑似遊技フラグ格納エリアの構成を示す図、(b)ヘッダの構成を示す図。
コマンド送信処理1を示すフローチャート。
コマンド送信処理2を示すフローチャート。
停止位置決定処理を示すフローチャート。
コマンド送信処理3を示すフローチャート。
第4の実施の形態における前面扉を閉じた状態を示すスロットマシンの斜視図。
表示制御装置に関するブロック図。
リール制御処理を示すフローチャート。
指示モニタ表示処理を示すフローチャート。
停止制御処理を示すフローチャート。
停止位置決定処理を示すフローチャート。
操作終了コマンド処理を示すフローチャート。
開始待ち処理を示すフローチャート。
メニュー処理を示すフローチャート。
待ち受け処理を示すフローチャート。
開始指令待ち処理を示すフローチャート。
演出決定処理を示すフローチャート。
押下演出処理を示すフローチャート。
結果表示処理を示すフローチャート。
第5の実施の形態におけるチャンスモードにおける遊技区間処理を示すフローチャート。
報知モードにおける区間抽選処理を示すフローチャート。
報知モードにおける遊技区間処理を示すフローチャート。
報知モードにおける区間コマンド処理を示すフローチャート。
報知モードにおける開始コマンド処理を示すフローチャート。
通常区間及びチャンスモードにおける区間コマンド処理を示すフローチャート。
通常区間における開始コマンド処理を示すフローチャート。
通常区間における抽選結果コマンド処理を示すフローチャート。
通常区間における全リール停止完了コマンド処理を示すフローチャート。
チャンスモードにおける開始コマンド処理を示すフローチャート。
補助表示部に表示される表示態様の一例を示す図。
第6の実施の形態における各リールの図柄配列を示す図。
表示窓から視認可能となる図柄と組合せラインとの関係を示す説明図。
入賞態様と付与される特典との関係を示す説明図。
入賞態様と付与される特典との関係を示す説明図。
入賞態様と付与される特典との関係を示す説明図。
抽選テーブルの一例を示す図。
通常区間における区間抽選処理を示すフローチャート。
通常区間における遊技区間処理を示すフローチャート。
チャンスモードにおける区間抽選処理を示すフローチャート。
チャンスモードにおける遊技区間処理を示すフローチャート。
報知モードにおける区間抽選処理を示すフローチャート。
当選役とナビ率との関係を示す説明図。
当選役情報作成処理を示すフローチャート。
操作ナビ処理を示すフローチャート。
昇格判定処理を示すフローチャート。
報知モードにおける遊技区間処理を示すフローチャート。
抽選テーブルの一例を示す図。
第7の実施の形態におけるチャンスモードにおける区間抽選処理を示すフローチャート。
チャンスモードにおける遊技区間処理を示すフローチャート。
チャンスモードにおける対決コマンド処理を示すフローチャート。
チャンスモードにおける抽選結果コマンド処理を示すフローチャート。
対決演出処理を示すフローチャート。
演出判定処理を示すフローチャート。
報知モードにおける区間抽選処理を示すフローチャート。
第1演出決定処理を示すフローチャート。
第2演出決定処理を示すフローチャート。
疑似遊技判定処理を示すフローチャート。
【発明を実施するための形態】
(【0011】以降は省略されています)
この特許をJ-PlatPat(特許庁公式サイト)で参照する
関連特許
株式会社三洋物産
遊技機
1か月前
株式会社三洋物産
遊技機
1か月前
株式会社三洋物産
遊技機
1か月前
株式会社三洋物産
遊技機
1か月前
株式会社三洋物産
遊技機
1か月前
株式会社三洋物産
遊技機
1か月前
株式会社三洋物産
遊技機
1か月前
株式会社三洋物産
遊技機
1か月前
株式会社三洋物産
遊技機
1か月前
株式会社三洋物産
遊技機
1か月前
株式会社三洋物産
遊技機
1か月前
株式会社三洋物産
遊技機
1か月前
株式会社三洋物産
遊技機
1か月前
株式会社三洋物産
遊技機
1か月前
株式会社三洋物産
遊技機
1か月前
株式会社三洋物産
遊技機
1か月前
株式会社三洋物産
遊技機
1か月前
株式会社三洋物産
遊技機
1か月前
株式会社三洋物産
遊技機
1か月前
株式会社三洋物産
遊技機
26日前
株式会社三洋物産
遊技機
1か月前
株式会社三洋物産
遊技機
1か月前
株式会社三洋物産
遊技機
1か月前
株式会社三洋物産
遊技機
23日前
株式会社三洋物産
遊技機
23日前
株式会社三洋物産
遊技機
23日前
株式会社三洋物産
遊技機
1か月前
株式会社三洋物産
遊技機
1か月前
株式会社三洋物産
遊技機
1か月前
株式会社三洋物産
遊技機
26日前
株式会社三洋物産
遊技機
26日前
株式会社三洋物産
遊技機
26日前
株式会社三洋物産
遊技機
26日前
株式会社三洋物産
遊技機
26日前
株式会社三洋物産
遊技機
26日前
株式会社三洋物産
遊技機
26日前
続きを見る
他の特許を見る