TOP
|
特許
|
意匠
|
商標
特許ウォッチ
Twitter
他の特許を見る
10個以上の画像は省略されています。
公開番号
2025170808
公報種別
公開特許公報(A)
公開日
2025-11-20
出願番号
2024075558
出願日
2024-05-08
発明の名称
遊技機
出願人
株式会社三洋物産
代理人
個人
主分類
A63F
5/04 20060101AFI20251113BHJP(スポーツ;ゲーム;娯楽)
要約
【課題】操作に対応する処理を好適に実行することが可能な遊技機を提供すること。
【解決手段】価値数側MPUは、計数ボタンの第1操作が行われたことに基づいて計数状態カウンタ474vに「1」をセットする処理を実行する。また、価値数側MPUは、計数状態カウンタ474vに「1」がセットされている状態において計数通知の送信タイミングとなったことに基づいて、計数対象数として「1」が設定されている計数通知をカードユニットに送信する処理を実行する。計数通知の送信タイミングとなってから当該計数通知の次の計数通知の送信タイミングとなるまでの所定期間に計数ボタンの第1操作が複数回行われた場合、当該次の計数通知の送信タイミングでは、当該複数回行われた第1操作のうち一の第1操作に対応する計数対象数が設定されている計数通知が送信される。
【選択図】 図214
特許請求の範囲
【請求項1】
所定操作が行われたことに基づいて所定操作情報を設定する所定操作情報設定処理を実行する所定操作情報設定手段と、
前記所定操作情報が設定されている状態において所定契機が発生したことに基づいて、所定対応処理を実行する所定対応処理実行手段と、
を備え、
前記所定契機である第1所定契機が発生してから当該第1所定契機の次の前記所定契機である第2所定契機が発生するまでの所定期間に前記所定操作が複数回行われた場合、前記第2所定契機が発生したタイミングにおいて、当該複数回行われた前記所定操作のうち一の前記所定操作に対応する前記所定対応処理が前記所定対応処理実行手段により実行されることを特徴とする遊技機。
発明の詳細な説明
【技術分野】
【0001】
本発明は、遊技機に関するものである。
続きを表示(約 6,500 文字)
【背景技術】
【0002】
遊技機としてパチンコ遊技機やスロットマシンが知られている。例えば、パチンコ遊技機では、遊技球を貯留する貯留部を備えており、当該貯留部に貯留された遊技球が遊技球発射装置に案内されて、遊技者の発射操作に応じて遊技領域に向けて発射される。そして、例えば遊技領域に設けられた入球部に遊技球が入球した場合に、例えば抽選処理が実行されたり、例えば遊技者が使用可能な遊技球の数を増加させるための処理が実行される。
【0003】
スロットマシンでは、メダルや仮想メダルなどの遊技価値がベットされている状況でスタートレバーが操作されて新たなゲームが開始される場合に制御手段にて抽選処理が実行される。また、抽選処理が実行された場合には制御手段にて回転開始制御が実行されることによりリールの回転が開始され、当該リールの回転中にストップボタンが操作された場合には制御手段にて回転停止制御が実行されることによりリールの回転が停止される。そして、リールの回転停止後の停止結果が抽選処理の当選役に対応したものである場合には、当該当選役に対応した特典が遊技者に付与される(例えば特許文献1参照)。
【先行技術文献】
【特許文献】
【0004】
特開2020-044062号公報
【発明の概要】
【発明が解決しようとする課題】
【0005】
ここで、上記例示等のような遊技機においては操作に対応する処理が好適に実行される必要があり、この点について未だ改良の余地がある。
【0006】
なお、以上の問題は、上記例示したような遊技機に限らず、他の遊技機にも該当する問題である。
【0007】
本発明は、上記例示した事情等に鑑みてなされたものであり、操作に対応する処理を好適に実行することが可能な遊技機を提供することを目的とするものである。
【課題を解決するための手段】
【0008】
上記課題を解決すべく請求項1記載の発明は、所定操作が行われたことに基づいて所定操作情報を設定する所定操作情報設定処理を実行する所定操作情報設定手段と、
前記所定操作情報が設定されている状態において所定契機が発生したことに基づいて、所定対応処理を実行する所定対応処理実行手段と、
を備え、
前記所定契機である第1所定契機が発生してから当該第1所定契機の次の前記所定契機である第2所定契機が発生するまでの所定期間に前記所定操作が複数回行われた場合、前記第2所定契機が発生したタイミングにおいて、当該複数回行われた前記所定操作のうち一の前記所定操作に対応する前記所定対応処理が前記所定対応処理実行手段により実行されることを特徴とする。
【発明の効果】
【0009】
本発明によれば、操作に対応する処理を好適に実行することが可能となる。
【図面の簡単な説明】
【0010】
第1の実施形態におけるスロットマシンの正面図である。
前面扉を開いた状態を示すスロットマシンの斜視図である。
筐体の正面図である。
各リールの図柄配列を示す図である。
表示窓部から視認可能となる図柄と組合せラインとの関係を示す説明図である。
入賞態様と付与される特典との関係を示す説明図である。
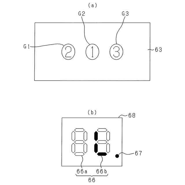
(a)共通表示領域の正面図であり、(b)兼用表示部にて表示される停止順序に対応する情報の内容を説明するための説明図である。
(a),(b)画像表示装置における停止順序の報知内容と兼用表示部における停止順序の表示内容との関係を説明するための説明図である。
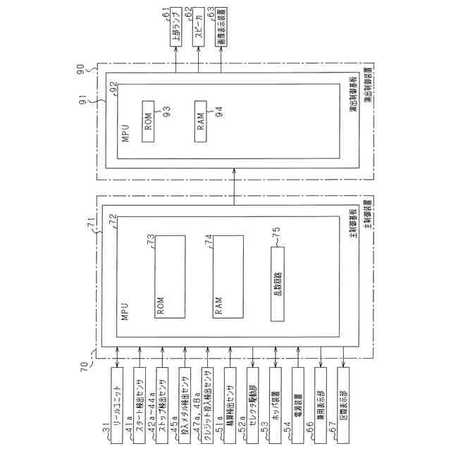
スロットマシンの電気的構成図である。
主側ROMにおけるプログラム及びデータの設定態様を説明するための説明図である。
主側RAMにおける各エリアの設定態様を説明するための説明図である。
領域内処理用のワークエリアに設けられた各種記憶エリア及び領域外処理用のワークエリアに設けられた各種記憶エリアを説明するための説明図である。
主側MPUにて実行されるメイン処理を示すフローチャートである。
主側MPUにて実行されるタイマ割込み処理を示すフローチャートである。
主側MPUにて実行される通常処理を示すフローチャートである。
主側MPUにて実行される役の抽選処理を示すフローチャートである。
3枚ベット時の役抽選テーブルを説明するための説明図である。
2枚ベット時の役抽選テーブルを説明するための説明図である。
リールの停止順序と成立する入賞態様との関係を説明するための説明図である。
遊技状態及び遊技区間を説明するための説明図である。
主側MPUにて実行される遊技開始時処理を示すフローチャートである。
主側MPUにて実行されるリール制御処理を示すフローチャートである。
主側MPUにて実行される遊技終了時の対応処理を示すフローチャートである。
主側MPUにて実行される通常開始時処理を示すフローチャートである。
主側MPUにて実行される通常用処理を示すフローチャートである。
主側MPUにて実行されるベースAT開始時処理を示すフローチャートである。
主側MPUにて実行されるベースAT用処理を示すフローチャートである。
主側MPUにて実行される遊技区間制御処理を示すフローチャートである。
(a)主側MPUと演出側MPUとの通信に関する電気的構成を説明するための説明図であり、(b)主側MPUから演出側MPUに送信されるコマンドを説明するための説明図である。
(a)回転受付コマンドAに含まれている情報を説明するための説明図であり、(b)回転受付コマンドBに含まれている情報を説明するための説明図である。
(a)ゲーム終了コマンドAに含まれている情報を説明するための説明図であり、(b)ゲーム終了コマンドBに含まれている情報を説明するための説明図である。
主側MPUにて実行されるコマンド設定処理を示すフローチャートである。
(a)~(d)AT状態への移行が待機されている状況で画像表示装置にて実行される表示演出の内容を説明するための説明図である。
演出側MPUにて実行される通常演出制御処理を示すフローチャートである。
演出側MPUにて実行される演出調整処理を示すフローチャートである。
(a)~(c)ベースAT状態への移行が待機されている状況における連続表示演出のオープニング区分が開始された後に信号経路群の異常が生じ、対決結果区分が開始される場合に当該信号経路群の異常が解消される場合における連続表示演出の実行内容を説明するための説明図である。
(a),(b)ベースAT状態への移行が待機されている状況における連続表示演出のオープニング区分が開始された後に信号経路群の異常が生じ、当該待機されている状況における最後のゲームの終了直前に当該信号経路群の異常が解消される場合における連続表示演出の実行内容を説明するための説明図である。
(a),(b)ベースAT状態への移行が待機されている状況における連続表示演出のオープニング区分が開始された後に信号経路群の異常が生じ、主側MPUにて当該待機されている状況の制御が終了してベースAT状態の制御が開始されたゲームよりも後のゲームにおいて当該信号経路群の異常が解消される場合における連続表示演出の実行内容を説明するための説明図である。
(a)~(i)画像表示装置にて連続表示演出が実行されている状況において一時的に信号経路群の異常が発生する場合における表示演出の進行の様子を示すタイムチャートである。
(a)ベースAT状態における画像表示装置の表示内容を説明するための説明図であり、(b)エンディングAT状態における画像表示装置の表示内容を説明するための説明図である。
ベースAT状態及びエンディングAT状態において各種画像を表示するための情報を記憶するための演出側RAMの記憶エリアの内容を説明するための説明図である。
演出側MPUにて実行されるAT演出制御処理を示すフローチャートである。
演出側MPUにて実行される残数カウンタの調整処理を示すフローチャートである。
(a)ベースAT状態においてリールの停止順序が画像表示装置に表示される様子を示す説明図であり、(b)ベースAT状態においてリールの停止順序が不一致となった場合における画像表示装置の表示内容を説明するための説明図であり、(c)ベースAT状態においてリールの停止順序が正解となった場合における画像表示装置の表示内容を説明するための説明図である。
(a)~(g)リールの停止順序が報知されている状況において一時的に信号経路群の異常が発生する場合における表示演出の進行の様子を示すタイムチャートである。
(a)~(e)ベースAT状態において遊技媒体の残りの付与数が上乗せされることに合わせて画像表示装置における残り付与数画像に表示されている遊技媒体の残りの付与数が正確な付与数の表示に修正される様子を示すタイムチャートである。
(a)~(c)画像表示装置にて付与数の上乗せ演出が実行される様子を説明するための説明図である。
主側MPUにて実行される領域外用の第1初期化処理を示すフローチャートである。
主側MPUにて実行される領域外用の第2初期化処理を示すフローチャートである。
主側MPUにて実行される終了監視処理を示すフローチャートである。
主側MPUにて実行される監視実行処理を示すフローチャートである。
主側MPUにて実行される終了設定処理を示すフローチャートである。
(a)エンディングAT状態においてエンディング条件の成立が近付いていることを報知する画像の内容を説明するための説明図であり、(b)エンディング条件が成立してエンディングAT状態が終了したことを報知する画像の内容を説明するための説明図であり、(c)遊技の強制終了が近付いていることを報知する画像の内容を説明するための説明図であり、(d)遊技が強制終了されたことを報知する画像の内容を説明するための説明図である。
演出側MPUにて実行される終了前報知用処理を示すフローチャートである。
第2の実施形態における主側MPUにて実行される監視実行処理を示すフローチャートである。
主側MPUにて実行される終了設定処理を示すフローチャートである。
第3の実施形態における演出側MPUにて実行される終了前報知用処理を示すフローチャートである。
(a)第4の実施形態における演出側MPUにて実行される基準到達制御処理を示すフローチャートであり、(b)基準到達画像の内容を説明するための説明図である。
第5の実施形態における各リールの配列を示す図である。
入賞態様と付与される特典との関係を示す説明図である。
主側MPUの構成を説明するための説明図である。
主側MPUにて実行される役の抽選処理を示すフローチャートである。
(a)非内部用役抽選テーブルを説明するための説明図であり、(b)内部用役抽選テーブルを説明するための説明図である。
リールの停止順序と成立する入賞態様との関係を説明するための説明図である。
遊技状態及び遊技区間を説明するための説明図である。
主側MPUにて実行される遊技終了時の対応処理を示すフローチャートである。
主側MPUにて実行されるボーナス用処理を示すフローチャートである。
(a),(b)AT移行抽選演出の内容を説明するための説明図である。
主側MPUにて実行されるゲーム開始時の有利抽選処理を示すフローチャートである。
(a)非BB時のAT移行抽選においてAT移行当選が発生する確率を説明するための説明図であり、(b)主側MPUにて実行される非BB時のAT移行抽選用処理を示すフローチャートである。
(a)非BB時の上乗せ抽選において上乗せ当選が発生する確率を説明するための説明図であり、(b)主側MPUにて実行される非BB時の上乗せ抽選用処理を示すフローチャートである。
演出側MPUにて実行されるAT用演出の制御処理を示すフローチャートである。
(a),(b)停止操作報知及び上乗せ挑戦演出が行われる様子を説明するための説明図である。
主側MPUにて実行される停止操作報知制御処理を示すフローチャートである。
演出側MPUにて実行される停止操作報知用処理を示すフローチャートである。
主側MPUにて実行される通常用処理を示すフローチャートである。
主側MPUにて実行されるボーナス終了時処理を示すフローチャートである。
主側MPUにて実行されるAT用処理を示すフローチャートである。
主側MPUにて実行される達成対応処理を示すフローチャートである。
主側MPUにて実行される達成後上乗せ用処理を示すフローチャートである。
演出側MPUにて実行される上乗せ挑戦演出用処理を示すフローチャートである。
第6の実施形態における各リールの配列を示す図である。
入賞態様と付与される特典との関係を示す説明図である。
(a)非内部用役抽選テーブルを説明するための説明図であり、(b)内部用役抽選テーブルを説明するための説明図である。
リールの停止順序と成立する入賞態様との関係を説明するための説明図である。
(a),(b)停止操作報知及び上乗せ挑戦演出が行われる様子を説明するための説明図であり、(c)主側RAMの構成を説明するための説明図である。
主側MPUにて実行される達成対応処理を示すフローチャートである。
主側MPUにて実行される達成後上乗せ用処理を示すフローチャートである。
(a)第7の実施形態における主側ROMの構成を説明するための説明図であり、(b)主側MPUにて実行される役の抽選処理を示すフローチャートである。
(a)~(d)第8の実施形態における画像表示装置における強制終了前報知の表示内容を説明するための説明図である。
演出側MPUにて実行される終了前報知用処理を示すフローチャートである。
演出側MPUにて実行される終了前制御用処理を示すフローチャートである。
演出側MPUにて実行されるデモ演出制御処理を示すフローチャートである。
第9の実施形態における主側MPUにて実行される通常処理を示すフローチャートである。
主側MPUにて実行される遊技終了時の対応処理を示すフローチャートである。
主側MPUにて実行されるベースAT用処理を示すフローチャートである。
主側MPUにて実行されるBB制御用処理を示すフローチャートである。
主側MPUにて実行されるフリーズ設定処理を示すフローチャートである。
主側MPUにて実行される外部出力設定処理を示すフローチャートである。
第10の実施形態における主側MPUにて実行される役の抽選処理を示すフローチャートである。
【発明を実施するための形態】
(【0011】以降は省略されています)
この特許をJ-PlatPat(特許庁公式サイト)で参照する
関連特許
株式会社三洋物産
遊技機
1か月前
株式会社三洋物産
遊技機
1か月前
株式会社三洋物産
遊技機
1か月前
株式会社三洋物産
遊技機
1か月前
株式会社三洋物産
遊技機
2か月前
株式会社三洋物産
遊技機
1か月前
株式会社三洋物産
遊技機
1か月前
株式会社三洋物産
遊技機
1か月前
株式会社三洋物産
遊技機
1か月前
株式会社三洋物産
遊技機
1か月前
株式会社三洋物産
遊技機
1か月前
株式会社三洋物産
遊技機
1か月前
株式会社三洋物産
遊技機
1か月前
株式会社三洋物産
遊技機
1か月前
株式会社三洋物産
遊技機
1か月前
株式会社三洋物産
遊技機
1か月前
株式会社三洋物産
遊技機
1か月前
株式会社三洋物産
遊技機
1か月前
株式会社三洋物産
遊技機
1か月前
株式会社三洋物産
遊技機
1か月前
株式会社三洋物産
遊技機
1か月前
株式会社三洋物産
遊技機
2か月前
株式会社三洋物産
遊技機
2か月前
株式会社三洋物産
遊技機
2か月前
株式会社三洋物産
遊技機
2か月前
株式会社三洋物産
遊技機
1か月前
株式会社三洋物産
遊技機
1か月前
株式会社三洋物産
遊技機
1か月前
株式会社三洋物産
遊技機
1か月前
株式会社三洋物産
遊技機
2か月前
株式会社三洋物産
遊技機
1か月前
株式会社三洋物産
遊技機
1か月前
株式会社三洋物産
遊技機
1か月前
株式会社三洋物産
遊技機
1か月前
株式会社三洋物産
遊技機
1か月前
株式会社三洋物産
遊技機
1か月前
続きを見る
他の特許を見る