TOP
|
特許
|
意匠
|
商標
特許ウォッチ
Twitter
他の特許を見る
10個以上の画像は省略されています。
公開番号
2025160965
公報種別
公開特許公報(A)
公開日
2025-10-24
出願番号
2024063741
出願日
2024-04-11
発明の名称
遊技機
出願人
株式会社大一商会
代理人
個人
主分類
A63F
7/02 20060101AFI20251017BHJP(スポーツ;ゲーム;娯楽)
要約
【課題】プリント配線基板にある複数の集積回路部品の中から特定の集積回路部品の判別が容易な遊技機を提供する。
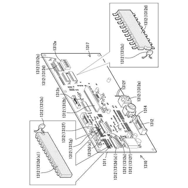
【解決手段】プリント配線基板1311にCPU1312bとそれ以外の複数の集積回路部品1312dを実装して形成される遊技制御用の主制御基板1310を備えてなる遊技機において、主制御基板1310は、CPU1312bを挿入実装タイプ又は表面実装タイプとし、外部の検出手段に接続されると共に該検出手段からの出力信号を受ける特定の集積回路部品1312d(x)を挿入実装タイプとし、それ以外の集積回路部品1312dを表面実装タイプにしてなることを特徴とする。
【選択図】図84D
特許請求の範囲
【請求項1】
プリント配線基板にCPUとそれ以外の複数の集積回路部品を実装して形成される遊技制御用の主制御基板を備えてなる遊技機において、
前記主制御基板は、
前記CPUを挿入実装タイプ又は表面実装タイプとし、
外部の検出手段に接続されると共に該検出手段からの出力信号を受ける特定の集積回路部品を挿入実装タイプとし、
それ以外の集積回路部品を表面実装タイプにしてなることを特徴とする遊技機。
発明の詳細な説明
【技術分野】
【0001】
本発明は、ぱちんこ遊技機(一般的に「パチンコ機」とも称する)や回胴式遊技機(一般的に「パチスロ機」とも称する)等の遊技機に関するものである。
続きを表示(約 8,200 文字)
【背景技術】
【0002】
通常、パチンコ機やスロットマシンのような遊技機は、出荷時に不具合がないことを検査する必要がある(特許文献1:段落[0003]参照)。また、出荷後も、不正な改造の有無について検査が必要な場合もある。
現在の遊技機には、遊技制御用の主制御基板が組み込まれており、前記検査の対象にはもちろん主制御基板も含まれる。
【先行技術文献】
【特許文献】
【0003】
特開2004-73718号公報(段落0003)
【発明の概要】
【発明が解決しようとする課題】
【0004】
主制御基板を構成するプリント配線基板には複数の集積回路部品が実装されているが、その中には外部の検出手段(例えば始動口センサ)からの出力信号(例えば始動入賞信号)が中継基板を介することなく直接入力されるものもある。
そして、そのような外部の検出手段につながる特定の集積回路部品は、他の集積回路部品に比べて重要度が高いため、主制御基板の検査時や修理時にプリント配線基板上での位置を特定したい場合がある。
しかしながら従来は、検出手段につながる信号線の色等を頼りに複数の集積回路部品の中から特定の集積回路部品を見つけ出す以外に方法がないため手間取ることがあり、それによる時間のロスが検査や修理の効率を悪化させるおそれがあった。
本発明は上記に鑑みなされたもので、その目的は、プリント配線基板にある複数の集積回路部品の中から特定の集積回路部品の判別が容易な遊技機を提供することにある。
【課題を解決するための手段】
【0005】
上記の目的を達成するため本発明は、
プリント配線基板にCPUとそれ以外の複数の集積回路部品を実装して形成される遊技制御用の主制御基板を備えてなる遊技機において、
前記主制御基板は、
前記CPUを挿入実装タイプ又は表面実装タイプとし、
外部の検出手段に接続されると共に該検出手段からの出力信号を受ける特定の集積回路部品を挿入実装タイプとし、
それ以外の集積回路部品を表面実装タイプにしてなる遊技機を提供する。
【0006】
集積回路部品の一つであるCPUとそれ以外の集積回路部品は外観の違いから一見して見分けることが可能であり、また、集積回路部品は、外観上の特徴から挿入実装タイプか、表面実装タイプかを見分けることが可能である。したがって、外部の検出手段からの出力信号が中継基板を介することなく入力される特定の集積回路部品を挿入実装タイプとし、CPUを何れかの実装タイプとし、それ以外の集積回路部品を表面実装タイプにすることで、一見して特定の集積回路部品が判別できる。
よって、プリント配線基板にある複数の集積回路部品の中から重要度の高い特定の集積回路部品がすぐに判別できるため、検査で主制御基板の異常が疑われた場合の対応が迅速に行える([発明を実施するための形態]では[8-4b-1c.集積回路部品(2)]及び[8-4c-10.技術的思想J]~[8-4c-13.技術的思想M]の項、[図面]では図84A乃至図84D、図112等の記載を参照)。
【発明の効果】
【0007】
このように本発明によれば、プリント配線基板にある複数の集積回路部品の中から特定の集積回路部品の判別が容易な遊技機を提供することができる。
【図面の簡単な説明】
【0008】
本発明の一実施形態であるパチンコ機の正面図である。
上側を前方へ傾けた状態で示すパチンコ機の正面図斜視図である。
パチンコ機を前から見た斜視図である。
パチンコ機の背面図である。
パチンコ機を構成している扉枠、本体枠、及び外枠を夫々ヒンジ回転させて 開いた状態で示す斜視図である。
パチンコ機を主な構成毎に分解して前から見た分解斜視図である。
パチンコ機を主な構成毎に分解して後ろから見た分解斜視図である。
扉枠を取外した状態で示すパチンコ機の正面図である。
図8において本体枠から遊技盤を分離させた状態で示す分解斜視図である。
扉枠及び遊技盤を取外した状態で示すパチンコ機の正面図である。
図10のパチンコ機の背面図である。
図10のパチンコ機を斜め前から見た斜視図である。
外枠と本体枠とを分解した状態で前から見た分解斜視図である。
外枠と本体枠とを分解した状態で後ろから見た分解斜視図である。
外枠を上下方向中央で切断した平面断面図である。
外枠の下部を示す斜視図である。
本体枠を主な構成毎に分解して前から見た分解斜視図である。
本体枠を主な構成毎に分解して後ろから見た分解斜視図である。
図10のパチンコ機を上下中央で切断した平面図である。
図19においてア-ア線で切断した断面図である。
図8の正面図において発射ユニット及びファールユニット等を断面にして 示す要部正面図である。
本体枠における本体枠ベースユニットを主な構成毎に分解して前から見た 分解斜視図である。
本体枠における本体枠ベースユニットを主な構成毎に分解して後ろから見 た分解斜視図である。
(a)は本体枠ベースユニットにおける本体枠ベースの正面図であり、( b)は複数の本体枠ベースを重ねている状態を斜視図で示す説明図である。
(a)は本体枠における球発射ユニットを前から見た斜視図であり、(b )は本体枠における球発射ユニットを後ろから見た斜視図である。
(a)は球発射ユニットを分解して前から見た分解斜視図であり、(b) は球発射ユニットを分解して後ろから見た分解斜視図である。
(a)は球発射ユニットの発射ユニットカバーを左後ろから見た斜視図で あり、(b)は正面視において発射ユニットカバーのみを断面で示す球発射ユニット の説明図である。
発射減算センサと発射槌とを破線で示す球発射ユニットの正面図である。
(a)は本体枠におけるファールユニットを前から見た斜視図であり、( b)は本体枠におけるファールユニットを後ろから見た斜視図である。
(a)はファールユニットを分解して前から見た分解斜視図であり、(b )はファールユニットを分解して後ろから見た分解斜視図である。
(a)はファールユニットの側面断面においてファールシャッターを閉じ た状態で示す説明図であり、(b)はファールユニットの側面断面においてファール シャッターを開いた状態で示す説明図である。
(a)は第二実施形態のファールユニットを前から見た斜視図であり、( b)は第二実施形態のファールユニットを後ろから見た斜視図である。
(a)は第二実施形態のファールユニットを分解して前から見た分解斜視 図であり、(b)は第二実施形態のファールユニットを分解して後ろから見た分解斜 視図である。
(a)は第二実施形態のファールユニットの側面断面においてファールシ ャッターを閉じた状態で示す説明図であり、(b)は第二実施形態のファールユニッ トの側面断面においてファールシャッターを開いた状態で示す説明図である。
(a)は本体枠における循環球経路ユニットを前から見た斜視図であり、 (b)は本体枠における循環球経路ユニットを後ろから見た斜視図である。
循環球経路ユニットを分解して前から見た分解斜視図である。
循環球経路ユニットを分解して後ろから見た分解斜視図である。
(a)は循環球経路ユニットにおける球蛇行部材及び球抜シャッターのみ を示す平面図であり、(b)は循環球経路ユニットにおける球蛇行部材及び球抜シャ ッターのみを示す前から見た斜視図である。
(a1)は閉位置の球抜シャッター及び球蛇行部材を球受トレーと共に側 面断面で示す説明図であり、(a2)は(a1)における球抜シャッターの部位のみ を底面から示す説明図であり、(b1)は開位置の球抜シャッター及び球蛇行部材を 球受トレーと共に側面断面で示す説明図であり、(b2)は(b1)における球抜シ ャッターの部位のみを底面から示す説明図である。
(a)は循環球経路ユニットをアウト球センサの部位で切断して正面断面 で示す説明図であり、(b)は循環球経路ユニットをセーフ球センサの部位で切断し て正面断面で示す説明図である。
(a)は循環球経路ユニットの蛇行カバーを外した状態で外枠と共に本体 枠の下部を拡大して示す前から見た斜視図であり、(b)は循環球経路ユニットの蛇 行カバーを外した状態で外枠と共に本体枠の下部を拡大して示す後ろから見た斜視図 である。
循環球経路ユニットにおける球蛇行部材、蛇行カバー、球抜シャッター、 及びゲージ部を示す平面図である。
(a)は本体枠に取付けられている循環球経路ユニットにおいて球解消機 構の蓋部材を閉じた状態でアウト球センサの部位で切断した背面断面の要部を拡大し て示す説明図であり、(b)は(a)において蓋部材を開いた状態で示す説明図であ る。
(a)は閉位置の球抜シャッターに鉄球が磁着している状態で球蛇行部材 及び球抜トレーと共に側面断面で示す説明図であり、(b)は開位置の球抜シャッタ ーに鉄球が磁着している状態で球蛇行部材及び球抜トレーと共に側面断面で示す説明 図であり、(c)は(b)の状態から球抜シャッターを閉位置へスライドさせて下面 に鉄球が磁着している状態で球蛇行部材及び球抜トレーと共に側面断面で示す説明図 である。
(a)は本体枠における球揚上ユニットを左前から見た斜視図であり、( b)は本体枠における球揚上ユニットを右前から見た斜視図であり、(c)は本体枠 における球揚上ユニットを後ろから見た斜視図である。
球磨モータベース及びカセット押圧片を開いて球磨カセットを取外した状 態を示す球揚上ユニットの分解斜視図である。
(a)は球磨カセットを装着していない状態で示す球揚上ユニットの平面 図であり、(b)は球磨モータベース及びカセット押圧片を開いた状態で球磨カセッ トと共に示す球揚上ユニットの平面図であり、(c)は球磨カセットが装着されてい る状態で示す球揚上ユニットの平面図である。
(a)は球磨カセットのロックが不完全な状態で扉枠が閉められる様子を 示す説明図であり、(b)は(a)の状態から扉枠が閉まる方向へ移動して扉枠の突 起部が球磨モータベースの先端に当接している状態を示す説明図であり、(c)は( b)の状態から扉枠が閉まって球磨カットがロックされている状態を示す説明図であ る。
本体枠に取付けられている球揚上ユニットから球磨カセットを取外した状 態で要部を拡大して示す正面図である。
(a)は球揚上ユニットにおいて球磨機構及び球揚上機構の要部を示す右 側面図であり、(b)は球揚上機構の要部を示す背面図であり、(c)は球揚上機構 の要部を(b)の矢視Aから見た平面図である。
球揚上ユニットにおいて揚上スパイラルシャフトと磨布との関係を示す説 明図である。
(a)は揚上入口センサと揚上出口センサの部位を拡大して示すと共に球 揚上ユニットを左後ろから見た斜視図であり、(b)は球揚上ユニットを揚上入口セ ンサの部位で切断した平面断面図である。
球通路におけるフォトセンサからなる球センサの前後の部位を模式的に示 す説明図である。
(a)は球揚上ユニットの球磨カセットを左前から見た斜視図であり、( b)は球磨カセットを右後ろから見た斜視図であり、(c)は球磨カセットを左右方 向中央で切断した右側面断面図である。
第二実施形態の球磨カセットを前から見た斜視図である。
図54-1の球磨カセットを分解して前から見た分解斜視図である。
図54-1の球磨カセットを分解して後ろから見た分解斜視図である 。
(a)は図54-1の球磨カセットにおいて球磨布に汚れが付着して いる状態の正面図であり、(b)は(a)においてイ-イ線で切断した断面図であり 、(c)は(b)においてウ-ウ線で切断した断面図である。
(a)は図54-1の球磨カセットの左側面図であり、(b)は図5 4-1の球磨カセットの右側面図である。
(a)は球磨布に汚れが付着していない状態を示す説明図であり、( b)は球磨布にある程度汚れが付着した状態を示す説明図であり、(c)は球磨布に 汚れが付着して交換時期になった状態を示す説明図である。
球磨布の一部を引き出した状態で示す球磨カセットの斜視図である。
球磨カセットを本体枠に装着した状態で前方から球磨カセットの部位 を拡大して示す斜視図である。
暗色部を有する球磨布の汚れ具合を示す説明図であって、(a)は球 磨布に汚れが付着していない状態を示す説明図であり、(b)は球磨布にある程度汚 れが付着した状態を示す説明図であり、(c)は球磨布に汚れが付着して交換時期に なった状態を示す説明図である。
シールからなる明色部をカセット本体の前面に貼り付けた状態で示 す球磨カセットの正面図である。
シールからなる暗色部をカセット本体の前面に貼り付けた状態で示 す球磨カセットの正面図である。
球揚上ユニットに球磨カセットが取付けられていると共に球磨カセ ットの近傍にシールからなる明色部が貼り付けられている状態で本体枠の要部を拡大 して示す正面図である。
球揚上ユニットに球磨カセットが取付けられていると共に球磨カセ ットの近傍にシールからなる暗色部が貼り付けられている状態で本体枠の要部を拡大 して示す正面図である。
(a)は球磨カセットにおいて識別痕と共に示すカセット蓋の左側 面図であり、(b)は球磨カセットにおいて識別痕と共に示すカセット本体の右側面 図である。
第三実施形態の球磨カセットを前から見た斜視図である。
(a)は本体枠における球送ユニットを前から見た斜視図であり、(b) は本体枠における球送ユニットを後ろから見た斜視図である。
(a)は球送ユニットを分解して前から見た分解斜視図であり、(b)は 球送ユニットを分解して後ろが見た分解斜視図である。
発射手前センサの部位で切断した球送ユニットの正面断面図である。
外枠に対して本体枠を開くと共に裏カバー及び枠基板ユニットを開いた状 態で示す斜視図である。
外枠及び本体枠における枠基板ユニットの部位を拡大して示す説明図であ る。
枠基板ユニットを開いた状態で本体枠の後側を示す参考写真である。
本体枠の後面側における遊技球の各種通路を背面から示す説明図である。
本体枠における遊技球の流れを模式的に示す説明図である。
パチンコ機の制御構成を概略で示すブロック図である。
発射許可処理を示すフローチャートである。
持ち球減算処理を示すフローチャートである。
ファール球による持ち球加算処理を示すフローチャートである。
発射制御処理を示すフローチャートである。
発射シーケンスにおける発射ソレノイドと球送ソレノイドとの動作を示す タイムチャートである。
(a)は図67とは異なる発射制御処理を示すフローチャートであり、( b)は(a)の発射制御処理の場合の持ち球減算処理を示すフローチャートである。
賞球処理を示すフローチャートである。
揚上モータ動作処理を示すフローチャートである。
揚上入口センサ及び揚上出口センサと揚上モータの動作との関係を示す表 である。
遊技球の発射動作と球揚上ユニットの動作との関係を示すグラフである。
球揚上ユニットにおける球揚上機構の動作を示すグラフである。
(a)はセキュリティ処理を示すフローチャートであり、(b)は(a) とは異なる実施形態のセキュリティ処理を示すフローチャートである。
循環球過少センサ及び循環球過多センサとエラー報知との関係を示す表で ある。
(a)は磁石からの磁力線を検知可能な磁気センサの向きを示す説明図で あり、(b)は磁石からの磁力線を検知不能な磁気センサの向きを示す説明図であり 、(c)は遊技盤における磁気センサによる検知範囲を斜視図により模式的に示す説 明図であり、(d)は磁石からの磁力線が検知不能となる磁気センサと磁性体との位 置関係を示す説明図であり、(e)は磁石からの磁力線が検知可能となる磁気センサ と磁性体との位置関係を示す説明図であり、(f)は磁気センサと保持部とを分離し て示す説明図である。
扉枠に対して着脱可能な枠飾り部材を示す説明図である。
透明なセンター役物等を不透明にして示す遊技盤の正面図である。
図79の遊技盤を右前から見た斜視図である。
図79の遊技盤を左前から見た斜視図である。
図79の遊技盤を後ろから見た斜視図である。
図79の遊技盤を主な部材毎に分解して前から見た分解斜視図である。
図79の遊技盤を主な部材毎に分解して後ろから見た分解斜視図である。
主制御基板の斜視図である。
【発明を実施するための形態】
【0009】
[1.パチンコ機の全体構造]
本発明の一実施形態であるパチンコ機1について、図面を参照して詳細に説明する。まず、図1乃至図7を参照して本実施形態のパチンコ機1の全体構成について説明する。図1は、本発明の一実施形態であるパチンコ機の正面図である。図2は、上側を前方へ傾けた状態で示すパチンコ機の正面図斜視図である。図3はパチンコ機を前から見た斜視図であり、図4はパチンコ機の背面図である。図5は、パチンコ機を構成している扉枠、本体枠、及び外枠を夫々ヒンジ回転させて開いた状態で示す斜視図である。図6はパチンコ機を主な構成毎に分解して前から見た分解斜視図であり、図7はパチンコ機を主な構成毎に分解して後ろから見た分解斜視図である。
【0010】
本実施形態のパチンコ機1は、遊技ホールの島設備などに設置されて使用されるものである。このパチンコ機1は、多数(例えば、40~60個)の遊技球Bが、外部へ排出されたり外部から供給されたりすることなく封入されており、内部において循環することで、遊技者が遊技球Bに触れることのない、所謂、封入式遊技機や管理遊技機と呼ばれている遊技機である。このパチンコ機1では、遊技者の持ち球数を持球データとしてデータ化して扱っている。
(【0011】以降は省略されています)
この特許をJ-PlatPat(特許庁公式サイト)で参照する
関連特許
株式会社大一商会
遊技機
14日前
株式会社大一商会
遊技機
14日前
株式会社大一商会
遊技機
14日前
株式会社大一商会
遊技機
14日前
株式会社大一商会
遊技機
14日前
株式会社大一商会
遊技機
14日前
株式会社大一商会
遊技機
14日前
株式会社大一商会
遊技機
14日前
株式会社大一商会
遊技機
14日前
株式会社大一商会
遊技機
14日前
株式会社大一商会
遊技機
14日前
株式会社大一商会
遊技機
14日前
株式会社大一商会
遊技機
14日前
株式会社大一商会
遊技機
14日前
株式会社大一商会
遊技機
14日前
株式会社大一商会
遊技機
14日前
株式会社大一商会
遊技機
14日前
株式会社大一商会
遊技機
14日前
株式会社大一商会
遊技機
14日前
株式会社大一商会
遊技機
14日前
株式会社大一商会
遊技機
14日前
株式会社大一商会
遊技機
26日前
株式会社大一商会
遊技機
26日前
株式会社大一商会
遊技機
2か月前
株式会社大一商会
遊技機
2か月前
株式会社大一商会
遊技機
1か月前
株式会社大一商会
遊技機
1か月前
株式会社大一商会
遊技機
14日前
株式会社大一商会
遊技機
14日前
株式会社大一商会
遊技機
1か月前
株式会社大一商会
遊技機
14日前
株式会社大一商会
遊技機
13日前
株式会社大一商会
遊技機
13日前
株式会社大一商会
遊技機
13日前
株式会社大一商会
遊技機
13日前
株式会社大一商会
遊技機
14日前
続きを見る
他の特許を見る