TOP
|
特許
|
意匠
|
商標
特許ウォッチ
Twitter
他の特許を見る
10個以上の画像は省略されています。
公開番号
2025156682
公報種別
公開特許公報(A)
公開日
2025-10-15
出願番号
2024058857
出願日
2024-04-01
発明の名称
遊技機
出願人
株式会社大一商会
代理人
弁理士法人崇河特許事務所
主分類
A63F
7/02 20060101AFI20251006BHJP(スポーツ;ゲーム;娯楽)
要約
【課題】遊技興趣を維持することのできる遊技機を提供する。
【解決手段】このパチンコ機1では、遊技領域5aに打ち込まれた遊技球を受け入れ可能な始動口を有する。始動口に遊技球が入球されると、当りについての判断処理が行われる。そしてこの後、この判断処理の結果に応じた変動表示が開始されて、該変動表示において当り図柄が表示されると当り遊技が行われるようになる。この点、このパチンコ機1では、操作手段に関連する演出として特別な演出を行いうる。
【選択図】図60
特許請求の範囲
【請求項1】
遊技者によって操作可能な特別操作手段及び所定操作手段と、
判定を行う判定手段と、
前記判定手段による判定にて所定の結果が得られたことに基づいて遊技者に特典を付与しうる特典付与手段と、
前記特別操作手段に対する操作の受付けが許容される状態において前記特別操作手段が特定操作状態に操作されると、該操作の受付けがなされてこれに応じた受付後変化を実行可能な特別受付後変化実行手段と、
前記所定操作手段に対する操作の受付けが許容される状態において前記所定操作手段が所定操作状態に操作されると、該操作の受付けがなされてこれに応じた受付後変化を実行可能な所定受付後変化実行手段と、
特定動画を表示可能な特定動画表示手段と
を備え、
前記特定動画の表示にかかる開始条件は、前記所定操作手段が前記所定操作状態に操作されたままの状況下にあるときと、該状況下にないときとのいずれにおいても、条件成立しうるものであり、
前記特別操作手段に対する操作の受付けが許容される状態が発生した場合、当該状態内では、前記特定動画が表示されない非動画区間と、前記特定動画が表示される動画区間とが現れる場合があり、前記特定動画が表示される動画区間において前記特別操作手段が前記特定操作状態に操作された場合は、前記受付後変化の1つとして、前記特定動画が表示されない非動画区間において前記特別操作手段が前記特定操作状態に操作された場合には現れない特別変化が生じうるようになっており、
前記特別操作手段に対する操作の受付けが許容される状態のうち前記特定動画が表示されない非動画区間においては、前記所定操作手段に対する操作の受付けが許容される状態にある場合と、前記所定操作手段に対する操作の受付けが許容されない状態にある場合とがある
ことを特徴とする遊技機。
発明の詳細な説明
【技術分野】
【0001】
本発明は、ぱちんこ遊技機(一般的に「パチンコ機」とも称する)や回胴式遊技機(一般的に「スロットマシン」とも称する)等の遊技機に関するものである。
続きを表示(約 2,100 文字)
【背景技術】
【0002】
従来、例えば特許文献1に見られるように、当りに当選したとき、多量の賞が獲得可能とされる特別遊技が行われる遊技機が知られている。
【0003】
すなわち、この特許文献1に記載の遊技機では、まず、始動口への遊技球の入賞があるか否かを判断する。そして、この始動口への遊技球の入賞があったときは、当りの当落などが判定される判定処理を行う。またこの際、所定の表示器において特別図柄を所定の変動時間だけ変動表示させる。そして、所定の変動時間が経過したとき、当りに当選したことが示される表示態様にて上記特別図柄を停止表示させるとともに、大入賞口の開閉部材を動作させることで、遊技者に対して多くの賞が獲得可能とされる特別遊技を提供する。
【先行技術文献】
【特許文献】
【0004】
特開2019-201901号公報
【発明の概要】
【発明が解決しようとする課題】
【0005】
このような従来の遊技機では、操作手段による演出が実行されることが多いが、該操作手段による演出が行われるときの遊技興趣をより一層向上させるようにすることが求められる。
【0006】
この発明は、こうした実情に鑑みてなされたものであり、遊技興趣の低下が抑制されうる遊技機を提供することを目的とする。
【課題を解決するための手段】
【0007】
手段1:遊技者によって操作可能な特別操作手段及び所定操作手段と、
判定を行う判定手段と、
前記判定手段による判定にて所定の結果が得られたことに基づいて遊技者に特典を付与しうる特典付与手段と、
前記特別操作手段に対する操作の受付けが許容される状態において前記特別操作手段が特定操作状態に操作されると、該操作の受付けがなされてこれに応じた受付後変化を実行可能な特別受付後変化実行手段と、
前記所定操作手段に対する操作の受付けが許容される状態において前記所定操作手段が所定操作状態に操作されると、該操作の受付けがなされてこれに応じた受付後変化を実行可能な所定受付後変化実行手段と、
特定動画を表示可能な特定動画表示手段と
を備え、
前記特定動画の表示にかかる開始条件は、前記所定操作手段が前記所定操作状態に操作されたままの状況下にあるときと、該状況下にないときとのいずれにおいても、条件成立しうるものであり、
前記特別操作手段に対する操作の受付けが許容される状態が発生した場合、当該状態内では、前記特定動画が表示されない非動画区間と、前記特定動画が表示される動画区間とが現れる場合があり、前記特定動画が表示される動画区間において前記特別操作手段が前記特定操作状態に操作された場合は、前記受付後変化の1つとして、前記特定動画が表示されない非動画区間において前記特別操作手段が前記特定操作状態に操作された場合には現れない特別変化が生じうるようになっており、
前記特別操作手段に対する操作の受付けが許容される状態のうち前記特定動画が表示されない非動画区間においては、前記所定操作手段に対する操作の受付けが許容される状態にある場合と、前記所定操作手段に対する操作の受付けが許容されない状態にある場合とがある
ことを特徴とする遊技機。
【0008】
上記構成によれば、まず、特定動画の表示にかかる開始条件が、所定操作手段が所定操作状態に操作されたままの状況下にあるときと、該状況下にないときとのいずれにおいても、条件成立しうるものとなっている。また、特別操作手段に対する操作の受付けが許容される状態が発生した場合、当該状態内では、特定動画が表示されない非動画区間と、特定動画が表示される動画区間とが現れる場合があり、特定動画が表示される動画区間において特別操作手段が特定操作状態に操作された場合は、受付後変化の1つとして、特定動画が表示されない非動画区間において特別操作手段が特定操作状態に操作された場合には現れない特別変化が生じうるようにすることで、特別操作手段に対する操作に関しての遊技興趣の向上をより一層図ることが期待されるようにしている。
【0009】
この点、上記構成では、特別操作手段に対する操作の受付けが許容される状態のうち「特定動画が表示されない非動画区間」においては、所定操作手段に対する操作の受付けが許容される状態にある場合と、所定操作手段に対する操作の受付けが許容されない状態にある場合とがあるようにした。すなわちこの場合、特別操作手段に対する操作の受付けが許容される状態にあるときには、特別操作手段だけでなく、所定操作手段に対する操作の受付けも許容される場合と、特別操作手段だけしか許容されない場合とがあるようになるから、緊張感をより好適に提供することが期待されるようになる(例えば、段落2886,8934などを参照)。
【発明の効果】
【0010】
この発明によれば、遊技興趣の低下が抑制されうる。
【図面の簡単な説明】
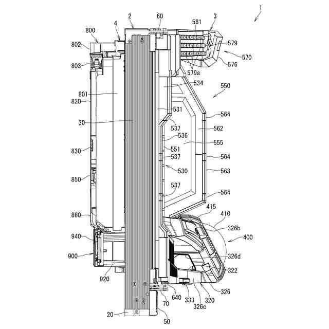
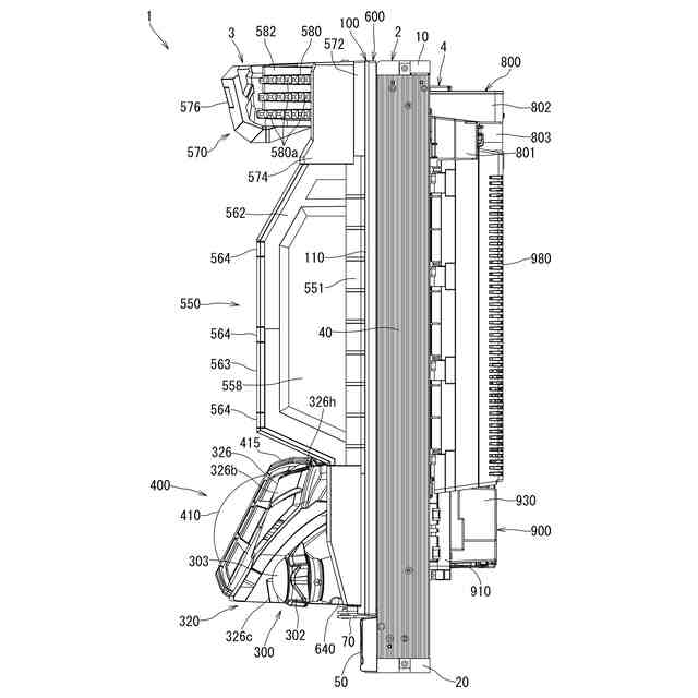
(【0011】以降は省略されています)
この特許をJ-PlatPat(特許庁公式サイト)で参照する
関連特許
株式会社大一商会
遊技機
1日前
株式会社大一商会
遊技機
29日前
株式会社大一商会
遊技機
29日前
株式会社大一商会
遊技機
29日前
株式会社大一商会
遊技機
29日前
株式会社大一商会
遊技機
29日前
株式会社大一商会
遊技機
29日前
株式会社大一商会
遊技機
29日前
株式会社大一商会
遊技機
28日前
株式会社大一商会
遊技機
29日前
株式会社大一商会
遊技機
28日前
株式会社大一商会
遊技機
28日前
株式会社大一商会
遊技機
28日前
株式会社大一商会
遊技機
28日前
株式会社大一商会
遊技機
28日前
株式会社大一商会
遊技機
28日前
株式会社大一商会
遊技機
29日前
株式会社大一商会
遊技機
29日前
株式会社大一商会
遊技機
28日前
株式会社大一商会
遊技機
29日前
株式会社大一商会
遊技機
29日前
株式会社大一商会
遊技機
29日前
株式会社大一商会
遊技機
29日前
株式会社大一商会
遊技機
29日前
株式会社大一商会
遊技機
29日前
株式会社大一商会
遊技機
29日前
株式会社大一商会
遊技機
29日前
株式会社大一商会
遊技機
29日前
株式会社大一商会
遊技機
29日前
株式会社大一商会
遊技機
29日前
株式会社大一商会
遊技機
29日前
株式会社大一商会
遊技機
29日前
株式会社大一商会
遊技機
29日前
株式会社大一商会
遊技機
29日前
株式会社大一商会
遊技機
28日前
株式会社大一商会
遊技機
28日前
続きを見る
他の特許を見る