TOP
|
特許
|
意匠
|
商標
特許ウォッチ
Twitter
他の特許を見る
10個以上の画像は省略されています。
公開番号
2025133659
公報種別
公開特許公報(A)
公開日
2025-09-11
出願番号
2024031754
出願日
2024-03-01
発明の名称
遊技機
出願人
株式会社大一商会
代理人
個人
主分類
A63F
7/02 20060101AFI20250904BHJP(スポーツ;ゲーム;娯楽)
要約
【課題】遊技機の利便性を向上させる。
【解決手段】始動条件成立時に抽選を実行し、当該抽選の結果に基づいて特別遊技状態を発生させることを可能とする遊技機であって、抽選を含む遊技の進行を制御する遊技制御手段と、遊技制御手段からの指示に基づいて遊技の演出を制御する演出制御手段と、所定の計数条件の成立に基づいて計数可能な所定の計数値が特定値に達することで、遊技の進行を停止する特定機能を作動させる特定機能作動手段と、を備え、演出制御手段は、特定機能が作動すると、当該演出制御手段により制御される演出装置の初期化を実行する。
【選択図】図712
特許請求の範囲
【請求項1】
始動条件成立時に抽選を実行し、当該抽選の結果に基づいて特別遊技状態を発生させることを可能とする遊技機であって、
前記抽選を含む遊技の進行を制御する遊技制御手段と、
前記遊技制御手段からの指示に基づいて前記遊技の演出を制御する演出制御手段と、
所定の計数条件の成立に基づいて計数可能な所定の計数値が特定値に達することで、前記遊技の進行を停止する特定機能を作動させる特定機能作動手段と、
を備え、
前記演出制御手段は、前記特定機能が作動すると、当該演出制御手段により制御される演出装置の初期化を実行する
ことを特徴とした遊技機。
発明の詳細な説明
【技術分野】
【0001】
本発明は、ぱちんこ遊技機(一般的に「パチンコ機」とも称する)や回胴式遊技機(一般に「パチスロ機」とも称する)等の遊技機に関するものである。
続きを表示(約 4,500 文字)
【背景技術】
【0002】
パチンコ機に代表される遊技機には、遊技に消費された遊技媒体に対して遊技者が得られた賞媒体が遊技者に過剰に供給されたと判定し、遊技を停止させる機能(コンプリート機能)を有するものがある(例えば、特許文献1参照)。
【先行技術文献】
【特許文献】
【0003】
特開2023-7364号公報
【発明の概要】
【発明が解決しようとする課題】
【0004】
しかしながら、特許文献1に開示された遊技機では、例えばコンプリート機能(特定機能)の作動中に何らかの異常や不具合が生じた場合の動作が不完全であり、利便性が不十分であった。
【0005】
本発明は、上記事情に鑑みなされたもので、コンプリート機能を搭載した遊技機の利便性を向上させることを目的とする。
【課題を解決するための手段】
【0006】
始動条件成立時に抽選を実行し、当該抽選の結果に基づいて特別遊技状態を発生させることを可能とする遊技機であって、
前記抽選を含む遊技の進行を制御する遊技制御手段と、
前記遊技制御手段からの指示に基づいて前記遊技の演出を制御する演出制御手段と、
所定の計数条件の成立に基づいて計数可能な所定の計数値が特定値に達することで、前記遊技の進行を停止する特定機能を作動させる特定機能作動手段と、
を備え、
前記演出制御手段は、前記特定機能が作動すると、当該演出制御手段により制御される演出装置の初期化を実行する
ことを特徴とした遊技機。
【0007】
特定機能(コンプリート機能)が作動したときに演出装置(可動役物)が動作していると、特定機能の作動報知を遊技者が確認しにくくなってしまう可能性がある。上記構成では、特定機能(コンプリート機能)が作動すると、演出装置(可動役物)の初期化を行うことにより、特定機能(コンプリート機能)の作動報知を阻害しないようにすることで、特定機能(コンプリート機能)の作動を確実に遊技者に報知することが可能となり、利便性の向上を図ることができる(図712、段落[6491]~[6506]等参照)。
【発明の効果】
【0008】
本発明によれば、上記課題を解決し、コンプリート機能を搭載した遊技機の利便性を向上させることが可能となる。
【図面の簡単な説明】
【0009】
本発明の一実施形態であるパチンコ機の正面図である。
パチンコ機の右側面図である。
パチンコ機の平面図である。
パチンコ機の背面図である。
パチンコ機を前から見た斜視図である。
パチンコ機を後ろから見た斜視図である。
本体枠から扉枠を開放させると共に、外枠から本体枠を開放させた状態で前から見たパチンコ機の斜視図である。
パチンコ機を扉枠、遊技盤、本体枠、及び外枠に分解して前から見た分解斜視図である。
パチンコ機を扉枠、遊技盤、本体枠、及び外枠に分解して後ろから見た分解斜視図である。
遊技盤の一例を示す正面図である。
遊技盤を右前から見た斜視図である。
遊技盤を左前から見た斜視図である。
遊技盤を後ろから見た斜視図である。
遊技盤を主な構成毎に分解して前から見た分解斜視図である。
遊技盤を主な構成毎に分解して後ろから見た分解斜視図である。
遊技盤における前構成部材及び表ユニットを遊技領域内の前後方向の略中央で切断した正面図である。
パチンコ機の制御構成を概略的に示すブロック図である。
主制御MPU内の構成を示す図である。
主制御MPU内の演算回路の構成を示す図である。
シリアル通信回路の構成を示す図である。
初期化処理の一例を示すフローチャートである。
図21の初期化処理の続きを示すフローチャートである。
タイマ割込み処理の一例を示すフローチャートである。
役物比率算出・表示処理の一例を示すフローチャートである。
図24の役物比率算出・表示処理の続きを示すフローチャートである。
主制御MPUに内蔵されたROM、RAMに格納されたプログラム(コード)及びデータの配置の一例を示す図である。
役物比率算出用領域に格納されるデータの構造を示す図である。
役物比率表示器の構成を示す図である。
ドライバ回路の構成を示す図である。
ドライバ回路へ入力されるデータのタイミング図である。
主制御基板の実装例を示す図である。
主制御MPUと役物比率表示器との位置関係を示す図である。
ロードレジスタ選択テーブルを示す図である。
キャラクタジェネレータデコードテーブルを示す図である。
ドライバ回路の状態遷移図である。
役物比率の表示例を示す図である。
役物比率の表示例を示す図である。
パチンコ機の制御構成を概略的に示すブロック図である。
ベース算出用領域更新処理の一例を示すフローチャートである。
ベース算出・表示処理の一例を示すフローチャートである。
賞球数の更新タイミングとベース値の計算タイミングの一例を示す図である。
賞球数の更新タイミングとベース値の計算タイミングの別の一例を示す図である。
賞球数の更新タイミングとベース値の計算タイミングの別の一例を示す図である。
賞球数の更新タイミングとベース値の計算タイミングの別の一例を示す図である。
賞球数の更新タイミングとベース値の計算タイミングの別の一例を示す図である。
ベース算出用領域更新処理の別の一例を示すフローチャートである。
ベース算出・表示処理の別の一例を示すフローチャートである。
ベース算出用領域更新処理の別の一例を示すフローチャートである。
ベース算出・表示処理の別の一例を示すフローチャートである。
ベース算出用領域更新処理の別の一例を示すフローチャートである。
ベース算出・表示処理の別の一例を示すフローチャートである。
ベース算出用領域に格納されるデータの構造を示す図である。
遊技盤の別の一例を示す正面図である。
ベース算出用領域更新処理の別の一例を示すフローチャートである。
ベース算出用領域更新処理の別の一例を示すフローチャートである。
ベース算出・表示処理の別の一例を示すフローチャートである。
ベース算出・表示処理の別の一例を示すフローチャートである。
ベース算出・表示処理の別の一例を示すフローチャートである。
ベース算出・表示処理の別の一例を示すフローチャートである。
周辺制御部電源投入時処理の一例を示すフローチャートである。
周辺制御部Vブランク割り込み処理の一例を示すフローチャートである。
周辺制御部1msタイマ割り込み処理の一例を示すフローチャートである。
表示選択処理の一例を示すフローチャートである。
表示選択テーブルの一例を示す図である。
表示選択テーブルの一例を示す図である。
表示選択テーブルの一例を示す図である。
表示選択テーブルの一例を示す図である。
表示選択テーブルの一例を示す図である。
表示画面の一例を示す図である。
ベース算出用領域更新処理の別の一例を示すフローチャートである。
ベース算出用領域更新処理の別の一例を示すフローチャートである。
ベース算出・表示処理の別の一例を示すフローチャートである。
ベース算出用領域更新処理の一例を示すフローチャートである。
ベース算出用領域更新処理の別の一例を示すフローチャートである。
タイマ割込み処理の一例を示すフローチャートである。
ベース算出処理1の一例を示すフローチャートである。
ベース算出処理2の一例を示すフローチャートである。
ベース算出処理1の別な一例を示すフローチャートである。
ベース算出処理2の別な一例を示すフローチャートである。
タイマ割込み処理の別な一例を示すフローチャートである。
ベース算出処理3の一例を示すフローチャートである。
ベース算出処理4の一例を示すフローチャートである。
ベース表示処理の一例を示すフローチャートである。
ベース算出処理3の別な一例を示すフローチャートである。
ベース算出処理4の別な一例を示すフローチャートである。
ベース表示処理の別な一例を示すフローチャートである。
パチンコ機の制御構成を概略的に示すブロック図である。
枠側排出球センサの配置を示す図である。
枠側排出球センサの配置を示す図である。
排出球センサと主制御基板との接続例を示す図である。
遊技盤の一例を示す正面図である。
主制御入力回路の構成を示す図である。
主制御基板の実装例を示す図である。
主制御基板の実装例を示す図である。
主制御基板の実装例を示す図である。
主制御I/Oポートの構成例を示す図である。
主制御I/Oポートの構成例を示す図である。
図97に示す主制御I/Oポートの構成例におけるタイミング図である。
ベース値の計算にかかる状態(区間)の変化を示す図である。
ベース表示器に表示される文字の例を示す図である。
【発明を実施するための形態】
【0010】
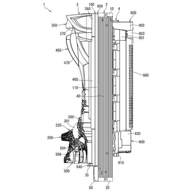
本発明の一実施形態であるパチンコ機1について、図面を参照して詳細に説明する。まず、図1乃至図9を参照して本実施形態のパチンコ機1の全体構成について説明する。図1は本発明の一実施形態であるパチンコ機の正面図である。図2はパチンコ機の右側面図であり、図3はパチンコ機の平面図であり、図4はパチンコ機の背面図である。図5はパチンコ機を前から見た斜視図であり、図6はパチンコ機を後ろから見た斜視図である。図7は本体枠から扉枠3を開放させると共に、外枠2から本体枠4を開放させた状態で前から見たパチンコ機の斜視図である。図8はパチンコ機を扉枠3、遊技盤5、本体枠4、及び外枠2に分解して前から見た分解斜視図であり、図9はパチンコ機を扉枠3、遊技盤5、本体枠4、及び外枠2に分解して後ろから見た分解斜視図である。
(【0011】以降は省略されています)
この特許をJ-PlatPat(特許庁公式サイト)で参照する
関連特許
株式会社大一商会
遊技機
12日前
株式会社大一商会
遊技機
13日前
株式会社大一商会
遊技機
13日前
株式会社大一商会
遊技機
13日前
株式会社大一商会
遊技機
13日前
株式会社大一商会
遊技機
13日前
株式会社大一商会
遊技機
13日前
株式会社大一商会
遊技機
13日前
株式会社大一商会
遊技機
13日前
株式会社大一商会
遊技機
13日前
株式会社大一商会
遊技機
13日前
株式会社大一商会
遊技機
13日前
株式会社大一商会
遊技機
13日前
株式会社大一商会
遊技機
13日前
株式会社大一商会
遊技機
13日前
株式会社大一商会
遊技機
13日前
株式会社大一商会
遊技機
13日前
株式会社大一商会
遊技機
13日前
株式会社大一商会
遊技機
13日前
株式会社大一商会
遊技機
13日前
株式会社大一商会
遊技機
13日前
株式会社大一商会
遊技機
13日前
株式会社大一商会
遊技機
13日前
株式会社大一商会
遊技機
13日前
株式会社大一商会
遊技機
13日前
株式会社大一商会
遊技機
13日前
株式会社大一商会
遊技機
13日前
株式会社大一商会
遊技機
13日前
株式会社大一商会
遊技機
13日前
株式会社大一商会
遊技機
1か月前
株式会社大一商会
遊技機
12日前
株式会社大一商会
遊技機
12日前
株式会社大一商会
遊技機
12日前
株式会社大一商会
遊技機
12日前
株式会社大一商会
遊技機
12日前
株式会社大一商会
遊技機
12日前
続きを見る
他の特許を見る