TOP
|
特許
|
意匠
|
商標
特許ウォッチ
Twitter
他の特許を見る
10個以上の画像は省略されています。
公開番号
2025126932
公報種別
公開特許公報(A)
公開日
2025-09-01
出願番号
2024023295
出願日
2024-02-20
発明の名称
遊技機
出願人
株式会社三洋物産
代理人
弁理士法人勇智国際特許事務所
主分類
A63F
7/02 20060101AFI20250825BHJP(スポーツ;ゲーム;娯楽)
要約
【課題】遊技機の負担を軽減する。
【解決手段】遊技機は、複数の演出要素のうち遊技者が選択した特定の演出要素に関して、特定の演出要素の出力態様に対する値を遊技者が決定して入力可能な入力手段を備える。出力態様に対する値は、複数の値の中から遊技者が一の所定の値を選択して入力し得るものである。一の所定の値の入力が完了した場合に実行され得る所定の出力値設定手段を備え、所定の出力値設定手段によって演出実行手段が変動演出を実行する場合に使用する特定の演出要素の出力態様に対する値を設定し得るものであり、所定の出力値設定手段は遊技者によって出力態様に対する値として第1の値が入力されていた場合であっても第1の値とは異なる第2の値が入力されていた場合であっても出力態様の値として、第1の値及び第2の値とは異なる値であって予め記憶手段に記憶された特定の値を設定する。
【選択図】図192
特許請求の範囲
【請求項1】
所定の抽選条件が成立したか否かを判断する判断手段により、前記所定の抽選条件が成立したと判断されることに基づいて、当否抽選を実行する当否抽選手段と、
前記当否抽選の結果に基づいて、所定期間の変動表示を実行する変動表示手段と、
前記当否抽選の結果が特定結果であった場合に実行される特定の表示結果を表示する特定の変動表示の終了後に特定遊技機状態を実行する特定遊技実行手段と、
前記所定期間の変動表示中に複数の演出要素を用いて変動演出を行う演出実行手段と、
前記複数の演出要素のうち遊技者が選択した特定の演出要素に関して、前記特定の演出要素の出力態様に対する値を遊技者が決定して入力可能な入力手段と、を備えた遊技機であって、
前記出力態様に対する値は、複数の値の中から遊技者が一の所定の値を選択して入力し得るものであり、
本遊技機は、
遊技者が決定した前記一の所定の値の入力が完了した場合に、対応した特定表示を実行する特定表示手段と、
前記特定表示を実行した後に実行され得る所定の出力値設定手段と、を備え、
前記所定の出力値設定手段によって、前記演出実行手段が前記変動演出を実行する場合に使用する前記特定の演出要素の出力態様に対する値を設定し得るものであり、
前記所定の出力値設定手段は、遊技者によって前記出力態様に対する値として第1の値が入力されていた場合であっても、前記第1の値とは異なる第2の値が入力されていた場合であっても、前記出力態様の値として、前記第1の値及び前記第2の値とは異なる値であって予め記憶手段に記憶された特定の値を設定し得るよう構成された
ことを特徴とする遊技機。
発明の詳細な説明
【技術分野】
【0001】
本発明は、遊技機に関するものである。
続きを表示(約 5,100 文字)
【背景技術】
【0002】
パチンコ機やスロットマシン等の遊技機においては、遊技の興趣向上や、遊技機の処理負荷の低減、処理の最適化、制御の簡易化、構造の簡略化等を目的として、構造、制御、演出等の様々な観点から技術的な改良が行われている(例えば、特許文献1)。
【0003】
また、遊技者による不正な行為や遊技機に対する不正な改造の発見や抑止といった遊技の健全性の向上を目的とした様々な技術的な改良も行われている。
【先行技術文献】
【特許文献】
【0004】
特開2011-172988号公報
【発明の概要】
【発明が解決しようとする課題】
【0005】
上記のような遊技機においては、遊技の興趣向上や、遊技機の処理負荷の低減、処理の最適化、制御の簡易化、構造の簡略化、遊技の健全性の向上等を目的として、さらなる技術の向上が望まれている。
【課題を解決するための手段】
【0006】
本発明は、上述の課題の少なくとも一部を解決するためになされたものであり、以下の形態として実現することが可能である。
【0007】
[形態](本形態は、主に、下記の第4実施形態及びその変形例に基づく)
所定の抽選条件が成立したか否かを判断する判断手段により、前記所定の抽選条件が成立したと判断されることに基づいて、当否抽選を実行する当否抽選手段と、
前記当否抽選の結果に基づいて、所定期間の変動表示を実行する変動表示手段と、
前記当否抽選の結果が特定結果であった場合に実行される特定の表示結果を表示する特定の変動表示の終了後に特定遊技機状態を実行する特定遊技実行手段と、
前記所定期間の変動表示中に複数の演出要素を用いて変動演出を行う演出実行手段と、
前記複数の演出要素のうち遊技者が選択した特定の演出要素に関して、前記特定の演出要素の出力態様に対する値を遊技者が決定して入力可能な入力手段と、を備えた遊技機であって、
前記出力態様に対する値は、複数の値の中から遊技者が一の所定の値を選択して入力し得るものであり、
本遊技機は、
遊技者が決定した前記一の所定の値の入力が完了した場合に、対応した特定表示を実行する特定表示手段と、
前記特定表示を実行した後に実行され得る所定の出力値設定手段と、を備え、
前記所定の出力値設定手段によって、前記演出実行手段が前記変動演出を実行する場合に使用する前記特定の演出要素の出力態様に対する値を設定し得るものであり、
前記所定の出力値設定手段は、遊技者によって前記出力態様に対する値として第1の値が入力されていた場合であっても、前記第1の値とは異なる第2の値が入力されていた場合であっても、前記出力態様の値として、前記第1の値及び前記第2の値とは異なる値であって予め記憶手段に記憶された特定の値を設定し得るよう構成された
ことを特徴とする遊技機。
【発明の効果】
【0008】
上記形態によれば、上述の課題を解決することができる。
【図面の簡単な説明】
【0009】
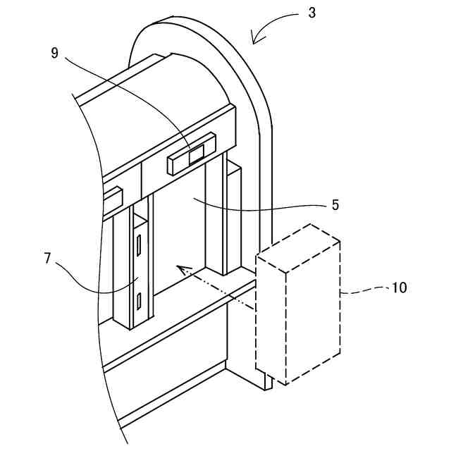
第1実施形態の説明に際し、遊技ホールに設置される島設備の一部を示す説明図である。
第1実施形態としてのパチンコ機の斜視図である。
パチンコ機の背面図である。
遊技盤の正面図である。
図柄表示装置において変動表示される図柄及び表示面を示す説明図である。
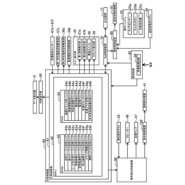
パチンコ機の電気的構成を示すブロック図である。
当たり抽選などに用いられる各種カウンタの内容を説明する説明図である。
特図当たり抽選用の当否テーブルの内容を示す説明図である。
特図2小当たり用の振分テーブルの内容を示す説明図である。
大当たり用の振分テーブルの内容を示す説明図である。
普通電動役物開放抽選を実行する際に用いられる当否テーブルの内容を示す説明図である。
音声発光制御装置及び表示制御装置の電気的構成を中心として示すブロック図である。
外部端子板及びデータ表示器を示すブロック図である。
データ表示器が備えるデータ表示装置の表示面を示す説明図である。
パチンコ機における遊技の流れを示す説明図である。
パチンコ機において高サポ状態時に大当たり当選した場合の処理の一例を説明するためのタイムチャートである。
パチンコ機において高サポ状態時に小当たり当選してV入賞大当たりに当選した場合の処理の一例を説明するためのタイムチャートである。
パチンコ機において高サポ状態時に小当たり当選してV入賞大当たりに当選しなかった場合の処理の一例を説明するためのタイムチャートである。
パチンコ機において高サポ状態時の全ての遊技回で外れた場合(特2残保留なし)の処理の一例を説明するためのタイムチャートである。
パチンコ機において高サポ状態終了時の特2残保留で大当たり当選した場合の処理の一例を説明するためのタイムチャートである。
パチンコ機において高サポ状態終了時の特2残保留で小当たり当選した場合の処理の一例を説明するためのタイムチャートである。
パチンコ機において高サポ状態終了時の特2残保留に基づく全ての遊技回で外れた場合の処理の一例を説明するためのタイムチャートである。
主側MPUにおいて実行されるタイマ割込み処理を示すフローチャートである。
始動口用の入球処理を示すフローチャートである。
スルー用の入球処理を示すフローチャートである。
大入賞口用の入球処理を示すフローチャートである。
V入賞口用の入球処理を示すフローチャートである。
外端出力用信号管理処理を示すフローチャートである。
通常処理を示すフローチャートである。
遊技回制御処理を示すフローチャートである。
変動開始処理を示すフローチャートである。
保留情報シフト処理を示すフローチャートである。
当たり判定処理を示すフローチャートである。
変動時間設定処理を示すフローチャートである。
変動停止処理を示すフローチャートである。
確定時間経過時処理を示すフローチャートである。
遊技状態移行処理を示すフローチャートである。
大入賞口開閉処理を示すフローチャートである。
エンディング期間終了時の移行処理を示すフローチャートである。
延長フラグOFF用処理を示すフローチャートである。
電役サポート用処理を示すフローチャートである。
電役開閉制御処理を示すフローチャートである。
音光側MPUにおいて実行されるタイマ割込み処理を示すフローチャートである。
保留コマンド対応処理を示すフローチャートである。
遊技回演出設定処理を示すフローチャートである。
演出パターン設定処理を示すフローチャートである。
変動開始時の更新処理を示すフローチャートである。
表示制御装置のMPUにおいて実行されるメイン処理を示すフローチャートである。
コマンド割込み処理を示すフローチャートである。
V割込み処理を示すフローチャートである。
第2実施形態のパチンコ機の斜視図である。
パチンコ機の背面図である。
遊技盤の正面図である。
図柄表示装置において変動表示される装飾図柄及び図柄表示装置の表示面を示す説明図である。
パチンコ機の電気的構成を示すブロック図である。
RAMに設けられている各種カウンタと各種記憶エリアを示す説明図である。
特図当否判定テーブルの内容を示す説明図である。
特図種別判定テーブルの内容を示す説明図である。
特電開閉パターン選択テーブルの内容を示す説明図である。
普図当否判定テーブルの内容を示す説明図である。
普図種別判定テーブルの内容を示す説明図である。
普電開閉シナリオ選択テーブルの内容を示す説明図である。
音声発光制御装置及び表示制御装置の電気的構成を中心として示すブロック図である
演出用可動役物が最下点位置まで移動し、各花びら部が回転軸部から離間(拡大)し、最下点位置において反時計回りに回転している様子を示す説明図である。
演出用可動役物と、当該演出用可動役物を駆動する演出用可動役物駆動機構とを示す右側面概略図である。
役物連動演出の一例である役物連動バトル演出を示す説明図である。
役物連動演出の一例である役物連動バトル演出を示す説明図である。
各駆動シナリオの構成を模式的に示す説明図である。
通常処理を示すフローチャートである。
タイマ割込み処理を示すフローチャートである。
各入球口用の入球処理を示すフローチャートである。
第1特図始動口用の入球処理を示すフローチャートである。
第2特図始動口用の入球処理を示すフローチャートである。
普図始動ゲート用の入球処理を示すフローチャートである。
特図特電制御処理を示すフローチャートである。
特別図柄変動開始処理を示すフローチャートである。
特別図柄変動停止処理を示すフローチャートである。
特別図柄変動停止後処理を示すフローチャートである。
特電開閉実行モード開始処理を示すフローチャートである。
特電オープニング期間中処理を示すフローチャートである。
特電開閉期間中処理を示すフローチャートである。
特電エンディング期間中処理を示すフローチャートである。
普図普電制御処理を示すフローチャートである。
普通図柄変動開始処理を示すフローチャートである。
普通図柄変動停止処理を示すフローチャートである。
普通図柄変動停止後処理を示すフローチャートである。
普電開閉実行モード開始処理を示すフローチャートである。
普電オープニング期間中処理を示すフローチャートである。
普電開閉期間中処理を示すフローチャートである。
普電エンディング期間中処理を示すフローチャートである。
音声発光制御装置のMPUにおいて実行されるタイマ割込み処理を示すフローチャートである。
音声発光制御装置のMPUにおいて実行される特図変動演出設定処理を示すフローチャートである。
音声発光制御装置のMPUにおいて実行される特電開閉実行モード中演出設定処理を示すフローチャートである。
音声発光制御装置のMPUにおいて実行される演出操作ボタン用処理を示すフローチャートである。
音声発光制御装置のMPUにおいて実行される演出用可動役物駆動処理を示すフローチャートである。
表示制御装置のMPUにおいて実行されるメイン処理を示すフローチャートである。
表示制御装置のMPUにおいて実行されるコマンド割込み処理を示すフローチャートである。
表示制御装置のMPUにおいて実行されるV割込み処理を示すフローチャートである。
表示制御装置のMPUにおいて実行されるコマンド対応処理を示すフローチャートである。
変形例のパチンコ機で実行可能な役物連動演出の一例である役物連動バトル演出を示す説明図である。
【発明を実施するための形態】
【0010】
本発明にかかる遊技機の実施形態について、図面を参照しながら以下の順序で説明する。
《1》第1実施形態:
《2》第2実施形態:
《3》第3実施形態:
《4》第4実施形態:
《5》第5実施形態:
《6》第6実施形態:
《7》第7実施形態:
《8》第8実施形態:
《9》第9実施形態:
《10》第10実施形態:
(【0011】以降は省略されています)
この特許をJ-PlatPat(特許庁公式サイト)で参照する
関連特許
株式会社三洋物産
遊技機
2か月前
株式会社三洋物産
遊技機
1か月前
株式会社三洋物産
遊技機
1か月前
株式会社三洋物産
遊技機
1か月前
株式会社三洋物産
遊技機
1か月前
株式会社三洋物産
遊技機
1か月前
株式会社三洋物産
遊技機
1か月前
株式会社三洋物産
遊技機
1か月前
株式会社三洋物産
遊技機
1か月前
株式会社三洋物産
遊技機
1か月前
株式会社三洋物産
遊技機
1か月前
株式会社三洋物産
遊技機
1か月前
株式会社三洋物産
遊技機
1か月前
株式会社三洋物産
遊技機
1か月前
株式会社三洋物産
遊技機
16日前
株式会社三洋物産
遊技機
16日前
株式会社三洋物産
遊技機
16日前
株式会社三洋物産
遊技機
16日前
株式会社三洋物産
遊技機
16日前
株式会社三洋物産
遊技機
1か月前
株式会社三洋物産
遊技機
1か月前
株式会社三洋物産
遊技機
16日前
株式会社三洋物産
遊技機
14日前
株式会社三洋物産
遊技機
13日前
株式会社三洋物産
遊技機
14日前
株式会社三洋物産
遊技機
14日前
株式会社三洋物産
遊技機
14日前
株式会社三洋物産
遊技機
14日前
株式会社三洋物産
遊技機
14日前
株式会社三洋物産
遊技機
14日前
株式会社三洋物産
遊技機
14日前
株式会社三洋物産
遊技機
1か月前
株式会社三洋物産
遊技機
14日前
株式会社三洋物産
遊技機
14日前
株式会社三洋物産
遊技機
14日前
株式会社三洋物産
遊技機
14日前
続きを見る
他の特許を見る