TOP
|
特許
|
意匠
|
商標
意匠ウォッチ
Twitter
他の意匠を見る
発行日
2025-11-17
公報種別
意匠公報(S)
登録番号
1812895
登録日
2025-11-07
意匠に係る物品
工具用パンチャ
意匠分類
K1
-390(利器及び工具)
出願番号
2025009702
出願日
2025-05-16
意匠権者
マクセルイズミ株式会社
代理人
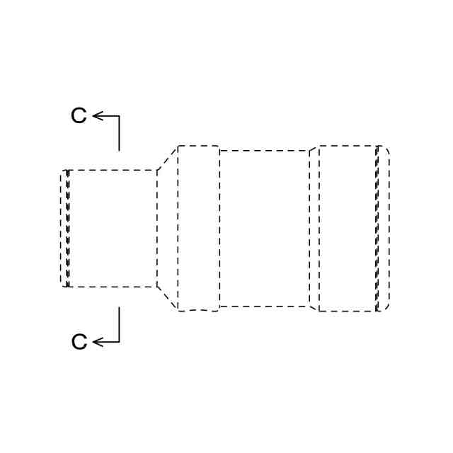
意匠に係る物品の説明
本物品は、金属筐体などに穴を開けるために使用する工具用パンチャである。任意のサイズのパンチ、ダイを専用ボルトに通してセット後、本物品でボルトをチャッキングして引っ張ることで穿孔することができる。
意匠の説明
本意匠出願は、部分意匠に関するものであって、意匠登録を受けようとする部分は実線で描かれた部分である。一点鎖線は、部分意匠として意匠登録を受けようとする部分とその他の部分との境界を示す線である。
この意匠をJ-PlatPat(特許庁公式サイト)で参照する
関連意匠
マクセルイズミ株式会社
電動工具
3か月前
マクセルイズミ株式会社
電動工具
3か月前
マクセルイズミ株式会社
工具用パンチャ
7日前
マクセルイズミ株式会社
工具用パンチャ
7日前
マクセルイズミ株式会社
美容機器
9か月前
マクセルイズミ株式会社
美容機器
9か月前
マクセルイズミ株式会社
美容機器
9か月前
マクセルイズミ株式会社
美容機器
9か月前
マクセルイズミ株式会社
美容機器
9か月前
マクセルイズミ株式会社
美容機器
9か月前
マクセルイズミ株式会社
美容機器
9か月前
マクセルイズミ株式会社
美容機器
9か月前
マクセルイズミ株式会社
毛玉取り器
9か月前
マクセルイズミ株式会社
毛玉取り器
9か月前
マクセルイズミ株式会社
電気かみそり
2か月前
マクセルイズミ株式会社
電気かみそり
2か月前
マクセルイズミ株式会社
電気かみそり
2か月前
マクセルイズミ株式会社
電気かみそり
2か月前
マクセルイズミ株式会社
スキンケア用美容器具
3か月前
マクセルイズミ株式会社
スキンケア用美容器具
3か月前
マクセルイズミ株式会社
スキンケア用美容器具
3か月前
マクセルイズミ株式会社
スキンケア用美容器具
3か月前
マクセルイズミ株式会社
スキンケア用美容器具
3か月前
マクセルイズミ株式会社
スキンケア用美容器具
3か月前
マクセルイズミ株式会社
スキンケア用美容器具
3か月前
マクセルイズミ株式会社
スキンケア用美容器具
3か月前
マクセルイズミ株式会社
スキンケア用美容器具
3か月前
マクセルイズミ株式会社
スキンケア用美容器具
3か月前
マクセルイズミ株式会社
スキンケア用美容器具
3か月前
マクセルイズミ株式会社
電気かみそり用内刃
5か月前
マクセルイズミ株式会社
電気かみそり用外刃
4か月前
マクセルイズミ株式会社
電気かみそり用内刃
9か月前
マクセルイズミ株式会社
電気かみそり用外刃
9か月前
マクセルイズミ株式会社
電気かみそり用外刃
4か月前
マクセルイズミ株式会社
電気かみそり用外刃
4か月前
マクセルイズミ株式会社
電気かみそり用外刃
4か月前
続きを見る
他の意匠を見る